TOP
|
特許
|
意匠
|
商標
特許ウォッチ
Twitter
他の特許を見る
10個以上の画像は省略されています。
公開番号
2025142621
公報種別
公開特許公報(A)
公開日
2025-10-01
出願番号
2024042080
出願日
2024-03-18
発明の名称
減音器具
出願人
カシオ計算機株式会社
代理人
弁理士法人光陽国際特許事務所
主分類
G10K
11/172 20060101AFI20250924BHJP(楽器;音響)
要約
【課題】通気性を確保するとともに効果的に減音できる減音器具を提供する。
【解決手段】減音器具100は、貫通孔12を有する保護部10と、保護部10に取り付け可能な共鳴管ユニット20と、を備え、共鳴管ユニット20は、一方の端部が外気に対して開口しており、他方の端部が貫通孔12に接続される管部(第1管部211)と、管部の内部空間と連通する空間を有する共鳴器(第1ネック部212及び第1共鳴管213)とを備え、管部は、一方の端部から他方の端部まで直線状に延在する。
【選択図】図5B
特許請求の範囲
【請求項1】
貫通孔を有する保護部と、
前記保護部に取り付け可能な共鳴管ユニットと、
を備え、
前記共鳴管ユニットは、一方の端部が外気に対して開口しており、他方の端部が前記貫通孔に接続される管部と、前記管部の内部空間と連通する空間を有する共鳴器とを備え、
前記管部は、前記一方の端部から前記他方の端部まで直線状に延在する減音器具。
続きを表示(約 390 文字)
【請求項2】
前記保護部は、使用者が前記減音器具を装着した際に、前記使用者の口を囲う位置に配置される開口部を備える請求項1に記載の減音器具。
【請求項3】
前記共鳴器は、共鳴管と、前記管部から分岐されて、前記共鳴管の内部空間と連通する空間を有するネック部とを備え、
前記ネック部及び前記共鳴管は、ヘルムホルツ共鳴器を構成する請求項1に記載の減音器具。
【請求項4】
前記共鳴管ユニットは、前記管部と前記貫通孔との位置合わせのための位置合わせ手段を備える請求項1に記載の減音器具。
【請求項5】
前記貫通孔は、使用者が前記減音器具を装着した際に、前記使用者の口に対向する位置に設けられる請求項1に記載の減音器具。
【請求項6】
前記保護部は、内部にマイクロフォンを備える請求項1に記載の減音器具。
発明の詳細な説明
【技術分野】
【0001】
本発明は、減音器具に関するものである。
続きを表示(約 2,000 文字)
【背景技術】
【0002】
従来、公共空間などでの通話に際して、人の口から発せられる音声の減衰効果(減音効果)が得られるマスクが知られている(例えば、特許文献1)。
【先行技術文献】
【特許文献】
【0003】
特開2017-2446号公報
【発明の概要】
【発明が解決しようとする課題】
【0004】
特許文献1に記載のマスクは、発話者の音声を外部に漏れにくくするために、開口部を閉じるように調整することにより通気量を減少させる構成である。そのため、使用する際に発話者が息苦しさを感じるという課題がある。一方で、開口部(通気口)を発話者が息苦しくなく且つ発声しやすい太さや短さに設定し、通気性を確保できる構成とした場合、十分な減音効果が得られない等の問題が生じる。
【0005】
そこで本発明は、通気性を確保するとともに効果的に減音できる減音器具を提供することを目的とする。
【課題を解決するための手段】
【0006】
本発明の減音器具は、貫通孔を有する保護部と、前記保護部に取り付け可能な共鳴管ユニットと、を備え、前記共鳴管ユニットは、一方の端部が外気に対して開口しており、他方の端部が前記貫通孔に接続される管部と、前記管部の内部空間と連通する空間を有する共鳴器とを備え、前記管部は、前記一方の端部から前記他方の端部まで直線状に延在する。
【発明の効果】
【0007】
本発明によれば、通気性を確保するとともに効果的に減音できる。
【図面の簡単な説明】
【0008】
本実施形態に係る第3形態の減音器具の使用例を示す図である。
第3形態の減音器具のY軸正方向側を含む外観を示す斜視図である。
保護部のY軸負方向側を含む外観を示す斜視図である。
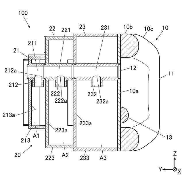
第3形態の減音器具のX軸方向における中心を通るYZ平面で切断した場合の断面図である。
第1形態の減音器具のY軸正方向側を含む外観を示す斜視図である。
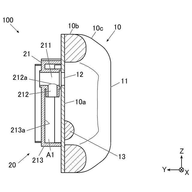
第1形態の減音器具のX軸方向における中心を通るYZ平面で切断した場合の断面図である。
第1形態の減音器具の使用例を示す図である。
第2形態の減音器具のY軸正方向側を含む外観を示す斜視図である。
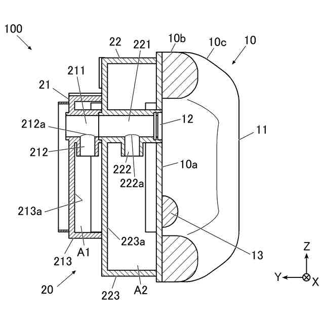
第2形態の減音器具のX軸方向における中心を通るYZ平面で切断した場合の断面図である。
第2形態の減音器具の使用例を示す図である。
第1形態の減音器具の減音効果を示す図である。
第2形態の減音器具の減音効果を示す図である。
第3形態の減音器具の減音効果を示す図である。
変形例1の減音器具のX軸方向における中心を通るYZ平面で切断した場合の断面図である。
変形例2の減音器具のY軸正方向側を含む外観を示す斜視図である。
変形例2の減音器具のX軸負方向側を含む外観を示す側面図である。
【発明を実施するための形態】
【0009】
以下、本発明を実施するための形態について図面を参照しながら詳細に説明する。本実施形態に係る減音器具100は、図1に示すように、使用者の口に装着され、使用者の口を覆う。減音器具100は、ヘルムホルツ共鳴原理により、使用者が発した声を含む音声を低減するためのものである。減音器具100は、マイクロフォンを備え、マイクロフォンによって音声を収集してもよい。このため、減音器具100は、周囲の人に使用者が発した声が聞こえないように、マイクロフォンを用いて音声を収集することができる。例えば、減音器具100は、オフィスや自宅でリモート会議を行う場合に、使用者が発した声が周囲の人に聞かれることを低減することができ、周囲の人に会話の内容が知られること、または、周囲の人へ不快感を与えることを抑制することができる。
【0010】
本実施形態の減音器具100は、カバーマスク200の内側において使用者の口に装着される。これにより、減音器具100を装着することによる見た目の違和感を低減することができる。カバーマスク200を遮音効果の高い素材(厚手布、ゴムシート層等)により形成する場合、減音器具100と共にカバーマスク200を使用することで、音声をより低減することができる。また、カバーマスク200を通気性の良い素材(メッシュ、不織布等)により形成する場合、カバーマスク200の使用時において快適性を得ることができる。なお、減音器具100は、使用者が手に持って使用者の口に装着してもよいし、減音器具100を使用者の頭部に装着するためのバンド等を有していてもよい。
(【0011】以降は省略されています)
この特許をJ-PlatPat(特許庁公式サイト)で参照する
関連特許
カシオ計算機株式会社
減音器具
今日
カシオ計算機株式会社
減音器具
今日
カシオ計算機株式会社
機器ケース及び時計
22日前
カシオ計算機株式会社
光源装置及び投影装置
今日
カシオ計算機株式会社
光源装置及び投影装置
今日
カシオ計算機株式会社
取付構造及び印刷装置
21日前
カシオ計算機株式会社
光源装置及び投影装置
12日前
カシオ計算機株式会社
光源装置及び投影装置
12日前
カシオ計算機株式会社
端末装置及びプログラム
今日
カシオ計算機株式会社
電子時計及び電子時計本体
13日前
カシオ計算機株式会社
電子機器、及び表示制御方法
2日前
カシオ計算機株式会社
電子時計、外装部材及びバンド
13日前
カシオ計算機株式会社
発音装置及び音出力制御システム
12日前
カシオ計算機株式会社
制御装置、方法およびプログラム
2日前
カシオ計算機株式会社
制御装置、方法およびプログラム
2日前
カシオ計算機株式会社
指針、時計、及び指針の製造方法
29日前
カシオ計算機株式会社
演奏装置、方法およびプログラム
今日
カシオ計算機株式会社
補助バスマスタ回路及び電子機器
2日前
カシオ計算機株式会社
時計、表示制御方法及びプログラム
13日前
カシオ計算機株式会社
発音装置、接続装置及び音出力システム
12日前
カシオ計算機株式会社
テープ製造方法及びテープ製造システム
20日前
カシオ計算機株式会社
電子時計、針位置検出方法及びプログラム
21日前
カシオ計算機株式会社
情報処理装置、表示方法、及びプログラム
2日前
カシオ計算機株式会社
位置推定装置、位置推定方法、プログラム
20日前
カシオ計算機株式会社
情報処理装置、学習支援方法及びプログラム
26日前
カシオ計算機株式会社
情報提供装置、情報提供方法及びプログラム
今日
カシオ計算機株式会社
切断制御装置、切断制御方法及びプログラム
12日前
カシオ計算機株式会社
学習支援装置、学習支援方法およびプログラム
12日前
カシオ計算機株式会社
入力装置、電子楽器、設定方法及びプログラム
20日前
カシオ計算機株式会社
電子機器、電子機器の制御方法及びプログラム
2日前
カシオ計算機株式会社
電子時計、電子時計の制御方法及びプログラム
2日前
カシオ計算機株式会社
情報処理装置、表示制御方法、及びプログラム
20日前
カシオ計算機株式会社
情報伝送システム、情報伝送方法及び電子機器
20日前
カシオ計算機株式会社
情報処理装置、情報処理システム及びプログラム
21日前
カシオ計算機株式会社
情報処理装置、表示制御方法、及び、プログラム
今日
カシオ計算機株式会社
情報処理装置、情報処理システム及びプログラム
21日前
続きを見る
他の特許を見る