TOP
|
特許
|
意匠
|
商標
特許ウォッチ
Twitter
他の特許を見る
公開番号
2025157148
公報種別
公開特許公報(A)
公開日
2025-10-15
出願番号
2025035189
出願日
2025-03-06
発明の名称
映像記録装置及び映像記録方法
出願人
株式会社JVCケンウッド
代理人
個人
主分類
G07C
5/00 20060101AFI20251007BHJP(チェック装置)
要約
【課題】移動体に設置してループ録画を行う場合と、移動体から取り外してマニュアル録画を行う場合とに兼用可能な映像記録装置を提供すること。
【解決手段】本開示に係る映像記録装置は、撮影部を有する本体と、本体に設けられ、撮影部が撮影した撮影データを記録する第1記録媒体と、第1記録媒体と異なる録画ファイル構成で前記撮影データを記録する第2記録媒体とを、それぞれ装着可能な第1スロット、第2スロットと、所定の位置に固定された連結部材が本体に取り付けられたか否かを検知して、検知結果を生成する検知部と、検知結果に応じて、第1撮影モード又は第2撮影モードに切り替える切替部と、第1撮影モードにおいて撮影データを第1記録媒体に記録するか、又は、第2撮影モードにおいて記撮影データを第2記録媒体に記録する、記録制御部とを備える。
【選択図】図1
特許請求の範囲
【請求項1】
撮影部を有する本体と、
前記本体に設けられ、前記撮影部が撮影した撮影データを記録する第1記録媒体と、前記第1記録媒体と異なる録画ファイル構成で前記撮影データを記録する第2記録媒体とを、それぞれ装着可能な第1スロット、第2スロットと、
所定の位置に固定された連結部材が前記本体に取り付けられたか否かを検知して、検知結果を生成する検知部と、
前記検知結果に応じて、第1撮影モード又は第2撮影モードに切り替える切替部と、
前記第1撮影モードにおいて前記撮影データを前記第1記録媒体に記録するか、又は、前記第2撮影モードにおいて前記撮影データを前記第2記録媒体に記録する、記録制御部と、
を備える、
映像記録装置。
続きを表示(約 800 文字)
【請求項2】
前記第1撮影モードにおいて、所定時間で区切った前記撮影データからなる第1撮影ファイルを生成し、前記第2撮影モードにおいて、撮影開始から撮影終了まで連続した1つの前記撮影データからなる第2撮影ファイルを生成する、撮影データ処理部をさらに備え、
前記記録制御部は、前記第1撮影ファイルを上書き可能に記録し、前記第2撮影ファイルを上書き不可に記録する、
請求項1に記載の映像記録装置。
【請求項3】
前記切替部は、
前記連結部材が取り付けられたときに、前記第1撮影モードに切り替え、
前記連結部材が取り外されたときに、前記第2撮影モードに切り替える、
請求項1又は2に記載の映像記録装置。
【請求項4】
前記第1スロットに装着された前記第1記録媒体を前記第1撮影モードに対応した第1ファイルシステムにフォーマットすると同時に、
前記第2スロットに装着された前記第2記録媒体を前記第2撮影モードに対応した第2ファイルシステムにフォーマットする、
フォーマット制御部をさらに備える、
請求項1に記載の映像記録装置。
【請求項5】
所定の位置に固定された連結部材が、撮影部を有する本体に取り付けられたか否かを検知して、検知結果を生成する処理と、
前記検知結果に応じて、第1撮影モード又は第2撮影モードに切り替える処理と、
前記第1撮影モードにおいて、前記撮影部が撮影した撮影データを第1スロットに装着された第1記録媒体に記録するか、又は、前記第2撮影モードにおいて、前記撮影データを第2スロットに装着された、前記第1記録媒体と異なる録画ファイル構成で前記撮影データが記録される第2記録媒体に記録する処理と、
を映像記録装置が実行する、
映像記録方法。
発明の詳細な説明
【技術分野】
【0001】
本開示は、映像記録装置及び映像記録方法に関する。
続きを表示(約 1,800 文字)
【背景技術】
【0002】
車両に搭載されたカメラが撮影した撮影データを、メモリカード等の記録媒体に記録する、ドライブレコーダが知られている。特許文献1には、低容量記録モードと大容量記録モードとを有し、選択された記録モードの記録方式でメモリカードにデータを記録するドライブレコーダが開示されている。
【先行技術文献】
【特許文献】
【0003】
特開2011-091667号公報
【発明の概要】
【発明が解決しようとする課題】
【0004】
ドライブレコーダには、車両の走行中、常時連続して録画する常時録画機能を有するものがある。このようなドライブレコーダは、撮影データを、1分毎等、所定時間毎に細かく区切ったファイル単位で、メモリカードに記憶する。メモリの容量が一杯になると、ドライブレコーダは、古いファイルを消去して新しいファイルを上書き保存するループ録画を行う。
【0005】
ドライブレコーダ等の連続的に撮影データを生成して記録する映像記録装置には、車両に搭載して、車両の走行時に周囲の映像を記録する目的以外に、アクションカメラ等の一般的なビデオカメラのように、車両から取り外して携帯用撮影装置として使用することが求められている。携帯用撮影装置では、撮影ボタンを押下して撮影が開始された後、撮影ボタンを再度押下して撮影が終了すると、撮影開始から撮影終了での1つのファイルの撮影データが作成される。このように、ドライブレコーダとアクションカメラでは、録画ファイル構成が異なるため、メモリカードを兼用することが難しい。
【0006】
本開示の目的は、上述した課題を鑑み、移動体に設置してループ録画を行う場合と、移動体から取り外してマニュアル録画を行う場合とに兼用可能な映像記録装置及び映像記録方法を提供することにある。
【課題を解決するための手段】
【0007】
本開示に係る映像記録装置は、撮影部を有する本体と、前記本体に設けられ、前記撮影部が撮影した撮影データを記録する第1記録媒体と、前記第1記録媒体と異なる録画ファイル構成で前記撮影データを記録する第2記録媒体とを、それぞれ装着可能な第1スロット、第2スロットと、所定の位置に固定された連結部材が前記本体に取り付けられたか否かを検知して、検知結果を生成する検知部と、前記検知結果に応じて、第1撮影モード又は第2撮影モードに切り替える切替部と、前記第1撮影モードにおいて前記撮影データを前記第1記録媒体に記録するか、又は、前記第2撮影モードにおいて前記撮影データを前記第2記録媒体に記録する、記録制御部と、を備える。
【0008】
本開示に係る映像記録方法は、所定の位置に固定された連結部材が、撮影部を有する本体に取り付けられたか否かを検知して、検知結果を生成する処理と、前記検知結果に応じて、第1撮影モード又は第2撮影モードに切り替える処理と、前記第1撮影モードにおいて、前記撮影部が撮影した撮影データを第1スロットに装着された第1記録媒体に記録するか、又は、前記第2撮影モードにおいて、前記撮影データを第2スロットに装着された、前記第1記録媒体と異なる録画ファイル構成で前記撮影データが記録される第2記録媒体に記録する処理と、を映像記録装置が実行する。
【発明の効果】
【0009】
本開示により、移動体に設置してループ録画を行う場合と、移動体から取り外してマニュアル録画を行う場合とに兼用可能な映像記録装置及び映像記録方法を提供することができる。
【図面の簡単な説明】
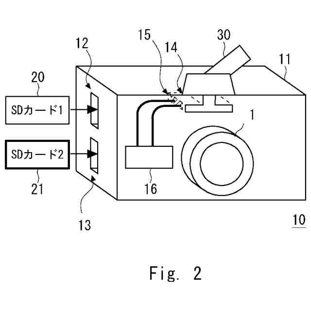
【0010】
実施形態に係る映像記録装置の構成を示す図である。
実施形態に係る映像記録装置を移動体に取り付けた状態を示す図である。
実施形態に係る映像記録装置の機能ブロック図である。
実施形態の映像記録方法を説明するフロー図である。
実施形態の映像記録方法を説明するフロー図である。
実施形態に係る映像記録装置のフォーマット処理の動作を説明する図である。
【発明を実施するための形態】
(【0011】以降は省略されています)
この特許をJ-PlatPat(特許庁公式サイト)で参照する
関連特許
個人
自動販売機
11日前
株式会社イシダ
商品処理装置
2か月前
株式会社タムラ製作所
自動販売機
26日前
沖電気工業株式会社
媒体処理装置
5日前
沖電気工業株式会社
媒体処理装置
3か月前
沖電気工業株式会社
媒体処理装置
3か月前
沖電気工業株式会社
紙幣処理装置
3か月前
アサヒ飲料株式会社
遠隔決済方法
1か月前
沖電気工業株式会社
施錠開閉装置
2か月前
沖電気工業株式会社
媒体処理装置
5日前
沖電気工業株式会社
媒体処理装置
5日前
沖電気工業株式会社
媒体処理装置
5日前
富士電機株式会社
自動販売機
3か月前
株式会社デンソー
車載器
2か月前
グローリー株式会社
物品投出装置
3か月前
グローリー株式会社
貨幣処理装置
1か月前
アサヒ飲料株式会社
自動販売機の決済方法
1か月前
日本金銭機械株式会社
硬貨処理装置
2か月前
株式会社寺岡精工
商品登録システム
1か月前
日本金銭機械株式会社
硬貨処理装置
2か月前
株式会社知財事業研究所
特殊駐車場システム
20日前
株式会社寺岡精工
販売データ処理装置
1か月前
旭精工株式会社
紙葉類処理装置および紙葉類処理方法
2か月前
株式会社アスタリスク
生体認証システム
3日前
沖電気工業株式会社
棒金収納装置
2か月前
沖電気工業株式会社
媒体処理装置
3か月前
沖電気工業株式会社
現金処理装置及び印字装置
2か月前
独立行政法人 国立印刷局
画像観察装置及び画像観察方法
3か月前
株式会社バンダイ
物品供給装置、及び物品供給装置セット
2か月前
沖電気工業株式会社
媒体識別装置及び媒体処理装置
3か月前
三菱電機株式会社
人流情報取得システム
1か月前
株式会社タムラ製作所
選択装置及びこれを備えた自動販売機
26日前
グローリー株式会社
取引システム及び取引方法
1か月前
沖電気工業株式会社
紙葉類取扱装置及び現金処理装置
1か月前
グローリー株式会社
確認システムおよび確認装置
3日前
東芝テック株式会社
会計装置
2か月前
続きを見る
他の特許を見る