TOP
|
特許
|
意匠
|
商標
特許ウォッチ
Twitter
他の特許を見る
公開番号
2025173358
公報種別
公開特許公報(A)
公開日
2025-11-27
出願番号
2024078912
出願日
2024-05-14
発明の名称
自動販売機
出願人
個人
代理人
個人
主分類
G07F
11/32 20060101AFI20251119BHJP(チェック装置)
要約
【課題】作業者が商品をラックに収容する際の作業が容易な自動販売機を提供する。
【解決手段】自動販売機1は、複数の商品7を収容可能なラック22を有する商品収容庫2を備える。ラック22は、前後方向および上下方向に対して傾斜するように延在するラック基部223を有する。ラック基部223は、商品7を補充する際に商品7を吊るす後端223Rと、次に払い出される商品7が配置される前端223Fと、を有し、後端223Rに商品7を吊るした場合には重力の作用によって商品7が後端223R側から前端223F側へ移動する。
【選択図】図2
特許請求の範囲
【請求項1】
複数の商品を収容可能なラックを有する商品収容庫を備え、
前記ラックは、前後方向および上下方向に対して傾斜するように延在するラック基部を有し、
前記ラック基部は、前記商品を補充する際に前記商品を吊るす後端と、次に払い出される前記商品が配置される前端と、を有し、前記後端に前記商品を吊るした場合には重力の作用によって前記商品が前記後端から前記前端の方向へ移動する、自動販売機。
続きを表示(約 200 文字)
【請求項2】
複数の前記ラック基部は、前記上下方向において平行に配置され、かつ、前記上下方向に対して直交する幅方向において平行に配置される、
請求項1に記載の自動販売機。
【請求項3】
前記商品は、商品本体と、前記商品本体が入れられた袋と、を備え、
前記袋には、貫通穴が形成され、
前記貫通穴には前記ラック基部が挿通される、請求項2に記載の自動販売機。
発明の詳細な説明
【技術分野】
【0001】
本発明は、自動販売機に関する。
続きを表示(約 1,200 文字)
【背景技術】
【0002】
従来の自動販売機の中には、例えば、水平方向に沿って延在し、複数の商品を収容可能なスパイラルラックを備えるものがある(例えば、特許文献1参照)。
【先行技術文献】
【特許文献】
【0003】
特開2001-222752号公報
【発明の概要】
【発明が解決しようとする課題】
【0004】
しかしながら、従来の自動販売機では、作業者が商品をラックに収容する際の作業の容易性に関して改善の余地がある。
【0005】
本発明は、上記の事情に鑑みてなされたものであって、作業者が商品をラックに収容する際の作業が容易な自動販売機を提供することを目的とする。
【課題を解決するための手段】
【0006】
上記の課題を解決するため、本発明に係る自動販売機は、複数の商品を収容可能なラックを有する商品収容庫を備える。前記ラックは、前後方向および上下方向に対して傾斜するように延在するラック基部を有する。前記ラック基部は、前記商品を補充する際に前記商品を吊るす後端と、次に払い出される前記商品が配置される前端と、を有し、前記後端に前記商品を吊るした場合には重力の作用によって前記商品が前記後端から前記前端の方向へ移動する。
【0007】
本発明に係る自動販売機において、複数の前記ラック基部は、前記上下方向に対して平行に配置され、かつ、前記上下方向に対して直交する幅方向に対して平行に配置される。
【0008】
本発明に係る自動販売機において、前記商品は、商品本体と、前記商品本体が入れられた袋と、を備える。前記袋には、貫通穴が形成される。前記貫通穴には前記ラック基部が挿通される。
【発明の効果】
【0009】
本発明に係る自動販売機は、上記構成を有するため、作業者が商品をラックに収容する際の作業を容易にすることができる。
【図面の簡単な説明】
【0010】
図面は、本発明の特定の実施の形態を示し、発明の不可欠な構成ばかりでなく、選択的及び好ましい実施の形態を含む。
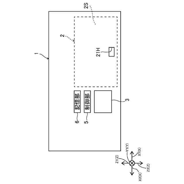
図1は、本実施形態に係る自動販売機を概念的に示す正面図である。
図2は、図1に示す自動販売機が備える商品収容庫の内部の側面図である。
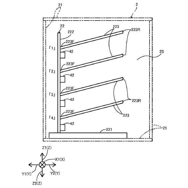
図3は、図1に示す自動販売機が備える商品収容庫の内部の正面図である。
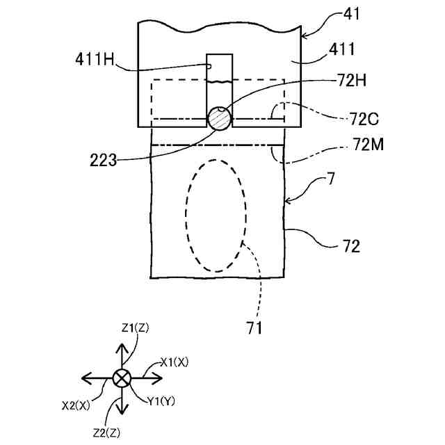
図4は、図2および図3に示す商品収容庫に収容された1つの商品の正面図である。
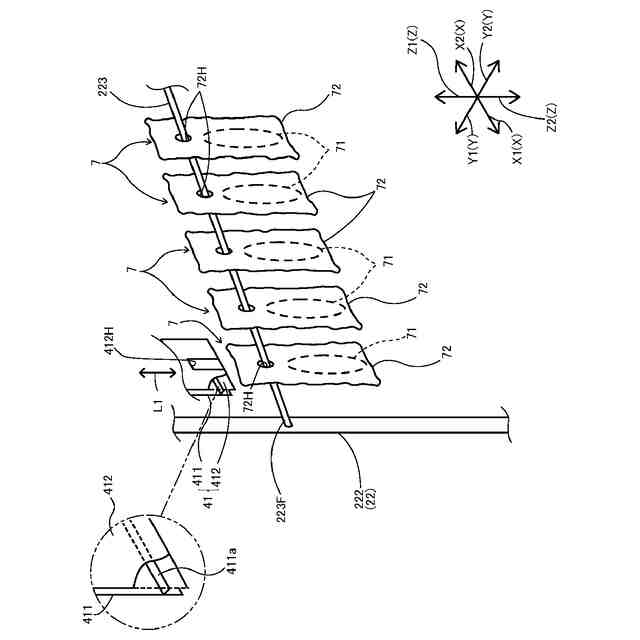
図5は、図2および図3に示す商品収容庫の内部において、複数の商品がラックに吊るされた状態で収容されていることを示す斜視図である。
図6は、図1に示す自動販売機が備える搬送機構において、第1商品搬送装置および第2商品搬送装置を示す斜視図である。
【発明を実施するための形態】
(【0011】以降は省略されています)
この特許をJ-PlatPat(特許庁公式サイト)で参照する
関連特許
個人
自動販売機
今日
株式会社イシダ
商品処理装置
1か月前
株式会社タムラ製作所
自動販売機
15日前
沖電気工業株式会社
紙幣処理装置
3か月前
沖電気工業株式会社
施錠開閉装置
1か月前
アサヒ飲料株式会社
遠隔決済方法
20日前
沖電気工業株式会社
媒体処理装置
3か月前
沖電気工業株式会社
媒体処理装置
3か月前
沖電気工業株式会社
媒体処理装置
2か月前
富士電機株式会社
自動販売機
3か月前
株式会社ライト
情報処理装置
3か月前
株式会社ライト
情報処理装置
3か月前
富士電機株式会社
金銭処理装置
3か月前
株式会社デンソー
車載器
1か月前
グローリー株式会社
貨幣処理装置
20日前
グローリー株式会社
物品投出装置
2か月前
株式会社寺岡精工
商品登録システム
1か月前
株式会社トイスピリッツ
景品提供システム
3か月前
アサヒ飲料株式会社
自動販売機の決済方法
20日前
日本金銭機械株式会社
硬貨処理装置
1か月前
日本金銭機械株式会社
硬貨処理装置
1か月前
ユニティガードシステム株式会社
入館監視システム
3か月前
株式会社寺岡精工
販売データ処理装置
1か月前
株式会社知財事業研究所
特殊駐車場システム
9日前
沖電気工業株式会社
現金処理装置及び印字装置
2か月前
旭精工株式会社
紙葉類処理装置および紙葉類処理方法
2か月前
沖電気工業株式会社
媒体処理装置
2か月前
沖電気工業株式会社
棒金収納装置
3か月前
沖電気工業株式会社
現金処理装置
3か月前
沖電気工業株式会社
棒金収納装置
1か月前
株式会社東芝
ドア構造
3か月前
沖電気工業株式会社
硬貨処理装置及び貨幣取扱装置
3か月前
中井銘鈑株式会社
商品見本取付け構造
3か月前
株式会社バンダイ
物品供給装置、及び物品供給装置セット
1か月前
独立行政法人 国立印刷局
画像観察装置及び画像観察方法
2か月前
沖電気工業株式会社
媒体識別装置及び媒体処理装置
2か月前
続きを見る
他の特許を見る