TOP
|
特許
|
意匠
|
商標
特許ウォッチ
Twitter
他の特許を見る
公開番号
2025160017
公報種別
公開特許公報(A)
公開日
2025-10-22
出願番号
2024062960
出願日
2024-04-09
発明の名称
販売データ処理装置
出願人
株式会社寺岡精工
代理人
個人
,
個人
主分類
G07G
1/12 20060101AFI20251015BHJP(チェック装置)
要約
【課題】効率よく顧客を監視すること。
【解決手段】顧客が操作する販売データ処理装置は、音制御手段と、エラー検出手段と、を備える。前記音制御手段は、顧客の精算完了までの操作に関する音を出力する。前記音制御手段は、顧客の操作において通常とは異なる前記操作に係る事象が発生した場合、前記音を通常の操作時の音量よりも大きな音量に変更する。前記エラー検出手段は、前記異なる事象として前記操作に係るエラーを検出する。前記音制御手段は、前記エラー検出手段による前記エラーの検出結果に基づいて、前記音量を変更する。
【選択図】図5
特許請求の範囲
【請求項1】
顧客が操作する販売データ処理装置であって、
顧客の精算完了までの操作に関する音を出力する音制御手段を備え、
前記音制御手段は、顧客の操作において通常とは異なる前記操作に係る事象が発生した場合、前記音を通常の操作時の音量よりも大きな音量に変更する、
ことを特徴とする販売データ処理装置。
続きを表示(約 1,000 文字)
【請求項2】
前記異なる事象として前記操作に係るエラーを検出するエラー検出手段を備え、
前記音制御手段は、前記エラー検出手段による前記エラーの検出結果に基づいて、前記音量を変更する、
ことを特徴とする請求項1に記載の販売データ処理装置。
【請求項3】
各種コードを読み取り可能な読取手段を備え、
前記エラーは、前記読取手段による商品コードまたはクーポンコードの読取が行われない読取エラーを含み、
前記音制御手段は、前記読取エラーが検出された場合に、前記音量を変更する、
ことを特徴とする請求項2に記載の販売データ処理装置。
【請求項4】
商品を登録する商品登録手段と、
商品登録された商品の重量を計量する計量手段を備え、
前記エラーは、登録された商品の重量と、前記計量手段での計量後の商品の重量との比較結果が相違する重量エラーを含み、
前記音制御手段は、前記重量エラーが検出された場合に、前記音量を変更する、
ことを特徴とする請求項2に記載の販売データ処理装置。
【請求項5】
商品を登録する商品登録手段と、
前記異なる事象として前記商品登録手段により登録された商品が特定の商品であるか否かを判定する判定手段を備え、
前記音制御手段は、前記判定手段によって前記特定の商品であると判定された場合に、前記音量を変更する、
ことを特徴とする請求項1に記載の販売データ処理装置。
【請求項6】
前記異なる事象として登録された商品を取消す取消操作を検出する検出手段を備え、
前記音制御手段は、前記検出手段によって前記取消操作が検出された場合に、前記音量を変更する、
ことを特徴とする請求項1に記載の販売データ処理装置。
【請求項7】
前記音制御手段は、前記エラーが検出された回数に応じて前記音量を変更する、
ことを特徴とする請求項2から4のいずれか一項に記載の販売データ処理装置。
【請求項8】
顧客が自ら精算を行う第1モードと、店員が商品を登録する第2モードとを含む複数のモードのうちいずれかのモードに制御するモード制御手段を備え、
前記音制御手段は、前記第1モードにおいて前記事象が発生した場合、前記音量を変更し、前記第2モードにおいて前記事象が発生しても、前記音量を変更しない、
ことを特徴とする請求項1または2に記載の販売データ処理装置。
発明の詳細な説明
【技術分野】
【0001】
本発明は、販売データ処理装置に関する。
続きを表示(約 1,700 文字)
【背景技術】
【0002】
近年、店舗では、顧客によって商品の登録が行われるセルフレジが普及している(例えば、特許文献1参照。)。セルフレジを備える店舗では、顧客を監視するための監視装置が設けられる。監視装置には、監視店員が配置される。監視店員は、監視装置の画面を介して顧客を監視する。
【先行技術文献】
【特許文献】
【0003】
特開2020-017075号公報
【発明の概要】
【発明が解決しようとする課題】
【0004】
しかしながら、従来技術では、監視店員は監視画面から顧客の状況を確認するため、例えば、監視画面から目を外している場合には、各登録精算装置の状況を把握できないことがあり、よって、効率よく顧客を監視できないことがある、という問題があった。
【0005】
本発明は、このような事情に鑑みてなされたもので、その目的は、効率よく顧客を監視することができる技術を提供することにある。
【課題を解決するための手段】
【0006】
上述した課題を解決するために、本発明の一態様である販売データ処理装置は、顧客が操作する販売データ処理装置であって、顧客の精算完了までの操作に関する音を出力する音制御手段を備え、前記音制御手段は、顧客の操作において通常とは異なる前記操作に係る事象が発生した場合、前記音を通常の操作時の音量よりも大きな音量に変更する、ことを特徴とする販売データ処理装置である。
【図面の簡単な説明】
【0007】
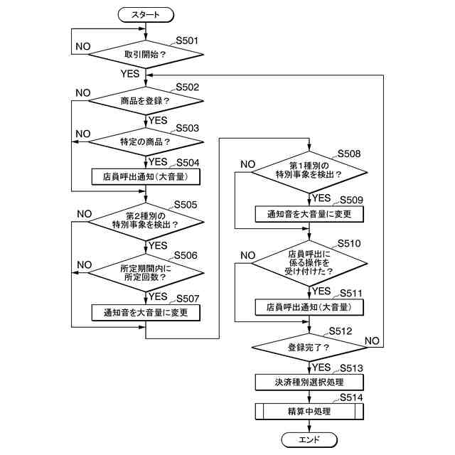
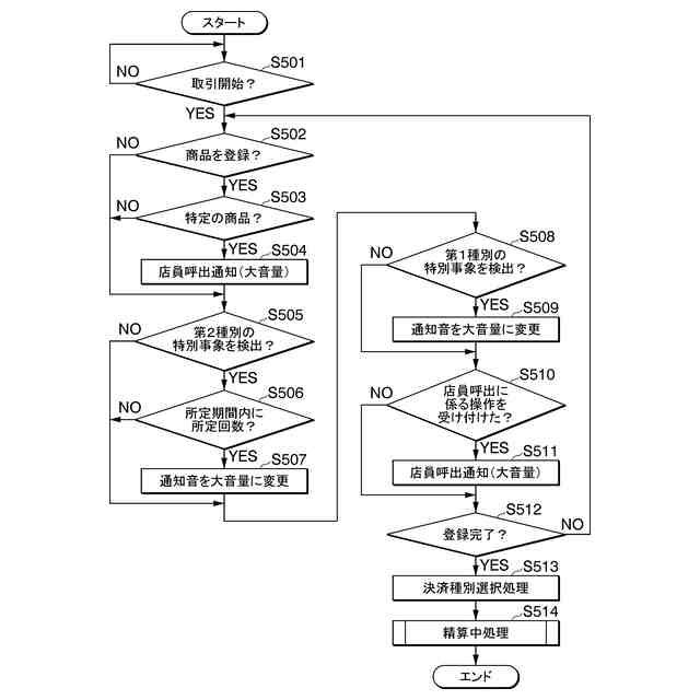
本実施形態に係る販売データ処理システムのネットワーク構成の一例を示す図である。
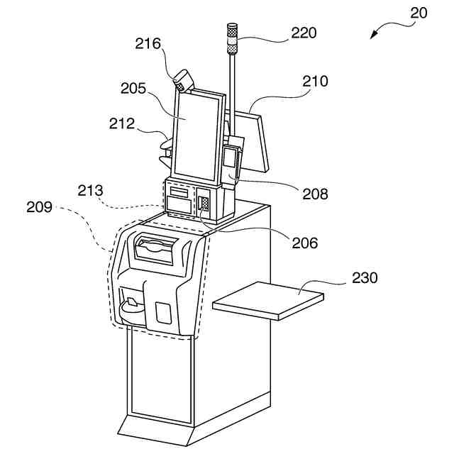
客側から見た登録精算装置の外観の一例を示す図である。
登録精算装置のハードウェア構成の一例を示す図である。
登録精算装置の機能的構成の一例を示すブロック図である。
フルセルフモードの登録精算装置が行う販売データ処理の一例を示すフローチャートである。
フルセルフモードの登録精算装置が行う販売データ処理の一例を示すフローチャートである。
フルセルフモードにおいて客側表示部に表示される通知画面の一例を示す図である。
【発明を実施するための形態】
【0008】
(実施形態)
(販売データ処理システムStのネットワーク構成)
図1は、本実施形態に係る販売データ処理システムStのネットワーク構成の一例を示す図である。販売データ処理システムStは、各種店舗に導入される。各種店舗は、例えば、小売店や飲食店などである。小売店は、例えば、スーパーマーケット、コンビニエンスストア、ドラッグストア、ディスカウントストア、百貨店、各種用品店などである。飲食店は、ファーストフード、レストラン、居酒屋、喫茶店、食堂、フードコートなどである。
【0009】
図1に示す販売データ処理システムStは、ストアコントローラ10と、取引状況管理装置11と、登録精算装置20とを備える。各装置は、LAN55を介して通信可能に接続されている。各装置は、CPU(Central Processing Unit)、ROM(Read Only Memory)、RAM(Random Access Memory)、通信部などを備えたコンピュータ装置である。
【0010】
ストアコントローラ10は、取引に必要な各種情報を記憶する。各種情報は、商品マスタを含む。商品マスタは、各商品の商品識別情報(例えばJAN(Japanese Article Number)コード)、商品名、販売価格などの商品情報を格納するファイルである。また、商品マスタは、計量が必要な商品(計量対象商品)の商品識別情報、商品名、計量対象商品の単価などを含む。また、ストアコントローラ10は、商品マスタのほかにも、在庫状況、販売履歴、入出金記録などの各種の情報を記憶する。また、ストアコントローラ10は、特売に関する情報や会員情報を記憶してもよい。
(【0011】以降は省略されています)
この特許をJ-PlatPat(特許庁公式サイト)で参照する
関連特許
株式会社寺岡精工
商品登録システム
1か月前
株式会社寺岡精工
販売データ処理装置
25日前
株式会社寺岡精工
ペットボトル回収装置
9日前
株式会社寺岡精工
精算装置、システム、およびプログラム
1か月前
株式会社寺岡精工
販売データ処理装置、およびプログラム
1か月前
株式会社寺岡精工
注文システム及びコンピュータプログラム
19日前
株式会社寺岡精工
受付管理システム及びコンピュータプログラム
4日前
株式会社寺岡精工
プログラム、携帯端末、システム、サーバ及び報知方法
1か月前
株式会社寺岡精工
計量装置、計量システム、及びコンピュータプログラム
10日前
株式会社寺岡精工
プログラム、携帯端末、システム、サーバ及び報知方法
1か月前
株式会社寺岡精工
販売データ処理装置、モード制御方法、およびプログラム
10日前
株式会社寺岡精工
取引状況監視装置
1か月前
株式会社寺岡精工
電子棚札管理システム
9日前
株式会社寺岡精工
商品販売データ処理装置
1か月前
株式会社寺岡精工
プログラム、情報処理装置、システム、サーバ及び商品投入取出認識方法
17日前
株式会社寺岡精工
荷物引受装置、プログラム
2か月前
株式会社寺岡精工
商品情報処理装置、プログラム
1か月前
株式会社寺岡精工
計量装置、計量システム、プログラム
1か月前
株式会社デジアイズ
炭酸水製造装置
1か月前
株式会社寺岡精工
販売データ処理装置、およびプログラム
17日前
株式会社寺岡精工
POSシステム、精算装置、及びプログラム
23日前
株式会社寺岡精工
商品販売データ処理装置、及び、プログラム
17日前
株式会社寺岡精工
商品販売データ処理装置、およびプログラム
17日前
株式会社寺岡精工
商品販売データ処理装置、およびプログラム
9日前
株式会社寺岡精工
包装機及び包装機のイベント監視プログラム
2日前
株式会社寺岡精工
情報処理システム、情報処理装置及びプログラム
1か月前
株式会社寺岡精工
商品販売データ処理システム、端末装置及びプログラム
9日前
株式会社寺岡精工
商品データ処理装置、商品データ処理システム、商品データ処理装置用プログラム、及び商品データ処理システム用プログラム
1か月前
デジシンガポール ピーティイー リミテッド
商品販売データ処理システム、計量装置
1か月前
株式会社イシダ
商品処理装置
1か月前
株式会社タムラ製作所
自動販売機
4日前
富士電機株式会社
通貨識別装置
3か月前
沖電気工業株式会社
紙幣処理装置
2か月前
沖電気工業株式会社
媒体処理装置
3か月前
アサヒ飲料株式会社
遠隔決済方法
9日前
沖電気工業株式会社
媒体処理装置
2か月前
続きを見る
他の特許を見る