TOP
|
特許
|
意匠
|
商標
特許ウォッチ
Twitter
他の特許を見る
10個以上の画像は省略されています。
公開番号
2025168577
公報種別
公開特許公報(A)
公開日
2025-11-07
出願番号
2025148947,2021163466
出願日
2025-09-09,2021-10-04
発明の名称
商品販売データ処理装置、およびプログラム
出願人
株式会社寺岡精工
代理人
個人
,
個人
主分類
G07G
1/12 20060101AFI20251030BHJP(チェック装置)
要約
【課題】免税処理に係る操作の容易化を図ること。
【解決手段】商品販売データ処理装置は、登録手段と、受付手段と、免税処理手段とを備える。登録手段は、商品を登録する。受付手段は、前記登録手段によって登録された商品の免税処理に際し、国内に一時的に滞在している非居住者との取引に関する第1の免税処理と、国内に駐在する外国人との取引に関する第2の免税処理とのうちのいずれか一方を受け付ける。免税処理手段は、前記受付手段によって受け付けられた前記一方の免税処理を行う。
【選択図】図5
特許請求の範囲
【請求項1】
商品を登録する登録手段と、
前記登録手段によって登録された商品の免税処理に際し、国内に一時的に滞在している非居住者との取引に関する第1の免税処理と、国内に駐在する外国人との取引に関する第2の免税処理とのうちのいずれか一方を受け付ける受付手段と、
前記受付手段によって受け付けられた前記一方の免税処理を行う免税処理手段と、
前記免税処理手段によって免税処理された取引情報を管理サーバへ送信可能な送信手段と、
を備え、
前記第1の免税処理は、支払金額が所定の免税対象額に達していることを条件に行われ、
前記第2の免税処理は、支払金額が所定の免税対象額に達しているか否かにかかわらず行われ、
前記送信手段は、前記第1の免税処理が行われた取引情報を前記管理サーバで管理可能に送信し、前記第2の免税処理が行われた取引情報を前記管理サーバへ送信しない、
ことを特徴とする商品販売データ処理装置。
続きを表示(約 1,500 文字)
【請求項2】
前記免税処理手段は、
前記第1の免税処理において、前記非居住者が所持する旅券に記載される旅券情報の入力を促し、
前記第2の免税処理において、前記外国人が所持する所定のカードに記載されるカード情報の入力を促す、
ことを特徴とする請求項1に記載の商品販売データ処理装置。
【請求項3】
レシートを発行する発行手段をさらに備え、
前記発行手段は、
前記第1の免税処理において、前記旅券情報を印刷した第1のレシートを発行し、
前記第2の免税処理において、前記カード情報を印刷しない第2のレシートを発行する、
ことを特徴とする請求項2に記載の商品販売データ処理装置。
【請求項4】
前記免税処理手段は、前記第2の免税処理が行われた場合、前記登録された商品の情報と前記カード情報とを、免税商品の購入証明に関する書面を印刷する印刷装置に出力する、
ことを特徴とする請求項2または3に記載の商品販売データ処理装置。
【請求項5】
前記免税処理手段は、前記第2の免税処理において入力された前記カード情報の履歴を記憶する記憶手段を参照し、前記履歴の中から選択した一の前記カード情報を入力する、
ことを特徴とする請求項2~4のいずれか一項に記載の商品販売データ処理装置。
【請求項6】
商品データ処理装置に用いられるコンピュータが、
商品を登録する登録ステップと、
前記登録ステップにおいて登録された商品の免税処理に際し、国内に一時的に滞在している非居住者との取引に関する第1の免税処理と、国内に駐在する外国人との取引に関する第2の免税処理とのうちのいずれか一方を受け付ける受付ステップと、
前記受付ステップにおいて受け付けられた前記一方の免税処理を行う免税処理ステップと、
前記免税処理ステップにおいて免税処理された取引情報を管理サーバへ送信可能な送信ステップと、
を含む処理を実行し、
前記第1の免税処理は、支払金額が所定の免税対象額に達していることを条件に行われ、
前記第2の免税処理は、支払金額が所定の免税対象額に達しているか否かにかかわらず行われ、
前記送信ステップでは、前記第1の免税処理が行われた取引情報を前記管理サーバで管理可能に送信し、前記第2の免税処理が行われた取引情報を前記管理サーバへ送信しない、
ことを特徴とする商品販売データ処理方法。
【請求項7】
商品データ処理装置としてコンピュータを機能させるプログラムであって、
商品を登録する登録手段、
前記登録手段によって登録された商品の免税処理に際し、国内に一時的に滞在している非居住者との取引に関する第1の免税処理と、国内に駐在する外国人との取引に関する第2の免税処理とのうちのいずれか一方を受け付ける受付手段、
前記受付手段によって受け付けられた前記一方の免税処理を行う免税処理手段、
前記免税処理手段によって免税処理された取引情報を管理サーバへ送信可能な送信手段、
として機能させ、
前記第1の免税処理は、支払金額が所定の免税対象額に達していることを条件に行われ、
前記第2の免税処理は、支払金額が所定の免税対象額に達しているか否かにかかわらず行われ、
前記送信手段は、前記第1の免税処理が行われた取引情報を前記管理サーバで管理可能に送信し、前記第2の免税処理が行われた取引情報を前記管理サーバへ送信しない、
ことを特徴とするプログラム。
発明の詳細な説明
【技術分野】
【0001】
本発明は、商品販売データ処理装置、商品販売データ処理方法、およびプログラムに関する。
続きを表示(約 2,000 文字)
【背景技術】
【0002】
従来、外国人旅行者などの渡航者が商品を購入する場合、国内で消費されない商品については、消費税が免除(以下「免税」という。)される免税手続が行われる。免税手続において、POS(Point Of Sales)レジスタは、免税処理を行う。免税処理には、渡航者との取引に係る免税処理と、国内に駐在する外国人の取引に係る免税処理との各種別がある。
【0003】
関連する技術として、渡航者との取引において、旅券に記載のコードを読み取って非居住者の氏名のデータを取り出し、非居住者の氏名のデータとクレジットカードから読み取った名前とが一致しない場合に、当該非居住者がクレジットカードの所有者とは別人であると判断し、商品の購入処理を終了するシステムが知られている(例えば、特許文献1参照。)。
【先行技術文献】
【特許文献】
【0004】
特開2014-032441号公報
【発明の概要】
【発明が解決しようとする課題】
【0005】
しかしながら、従来技術では、免税処理の種別に応じて操作が異なるため、不慣れな店員であれば、免税処理に係る操作を容易に行えないことがあった。
【0006】
本発明は、このような事情に鑑みてなされたもので、その目的は、免税処理に係る操作の容易化を図ることができる技術を提供することにある。
【課題を解決するための手段】
【0007】
上述した課題を解決するために、本発明の一態様である商品販売データ処理装置は、商品を登録する登録手段と、前記登録手段によって登録された商品の免税処理に際し、国内に一時的に滞在している非居住者との取引に関する第1の免税処理と、国内に駐在する外国人との取引に関する第2の免税処理とのうちのいずれか一方を受け付ける受付手段と、前記受付手段によって受け付けられた前記一方の免税処理を行う免税処理手段と、ことを特徴とする商品販売データ処理装置である。
【0008】
上述した課題を解決するために、本発明の他の態様である商品販売データ処理方法は、商品データ処理装置に用いられるコンピュータが、商品を登録する登録ステップと、前記登録ステップにおいて登録された商品の免税処理に際し、国内に一時的に滞在している非居住者との取引に関する第1の免税処理と、国内に駐在する外国人との取引に関する第2の免税処理とのうちのいずれか一方を受け付ける受付ステップと、前記受付ステップにおいて受け付けられた前記一方の免税処理を行う免税処理ステップと、を含む処理を実行することを特徴とする商品販売データ処理方法である。
【0009】
上述した課題を解決するために、本発明の他の態様であるプログラムは、商品データ処理装置としてコンピュータを機能させるプログラムであって、商品を登録する登録手段、前記登録手段によって登録された商品の免税処理に際し、国内に一時的に滞在している非居住者との取引に関する第1の免税処理と、国内に駐在する外国人との取引に関する第2の免税処理とのうちのいずれか一方を受け付ける受付手段、前記受付手段によって受け付けられた前記一方の免税処理を行う免税処理手段、として機能させることを特徴とするプログラムである。
【図面の簡単な説明】
【0010】
本発明の実施形態に係るPOS(Point Of Sales)システムのネットワーク構成図である。
POSレジスタ3の概略の外観の一例を示す説明図である。
POSレジスタ3のハードウェア構成の一例を示す説明図である。
店員用表示部21に表示される、第1の免税処理における画面遷移の一例を示す説明図である。
店員用表示部21に表示される、第2の免税処理における画面遷移の一例を示す説明図である。
店員用表示部21に表示される、第2の免税処理における画面遷移の一例を示す説明図である。
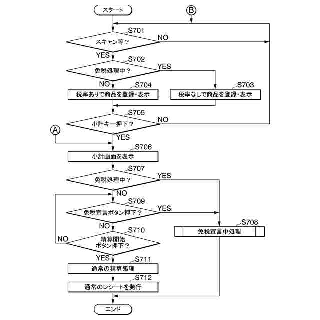
本実施形態に係るPOSレジスタ3が行う免税処理の一例を示すフローチャートである。
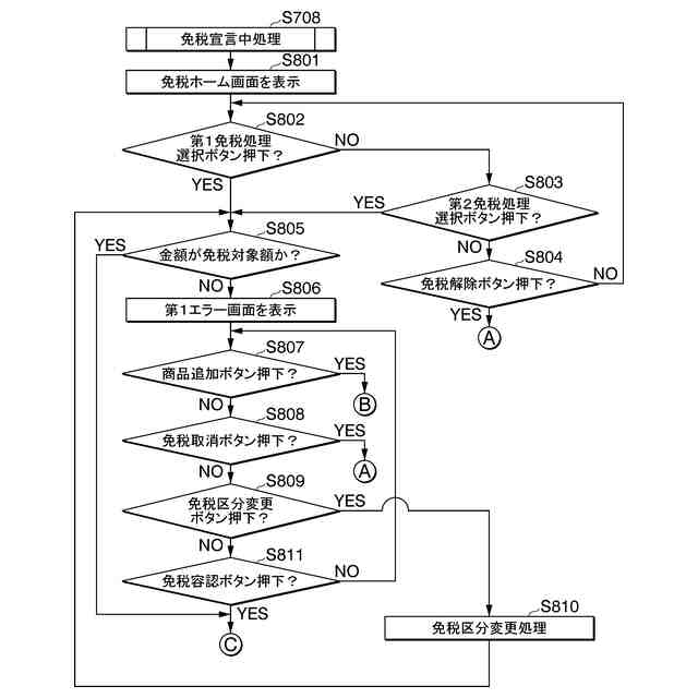
ステップS708に示した免税宣言中の一例を示すフローチャートである。
ステップS708に示した免税宣言中の一例を示すフローチャートである。
POSレジスタ3が発行する免税レシートの一例を示す説明図である。
免税カードの一例を示す説明図である。
免税購入表の一例を示す説明図である。
店員用表示部21に表示される、第1の免税処理における画面遷移の変形例を示す説明図である。
店員用表示部21に表示される、第2の免税処理における画面遷移の変形例を示す説明図である。
【発明を実施するための形態】
(【0011】以降は省略されています)
この特許をJ-PlatPat(特許庁公式サイト)で参照する
関連特許
株式会社寺岡精工
包装装置
3日前
株式会社寺岡精工
商品登録システム
1か月前
株式会社寺岡精工
販売データ処理装置
1か月前
株式会社寺岡精工
ペットボトル回収装置
23日前
株式会社寺岡精工
包装装置及びプログラム
3日前
株式会社寺岡精工
販売データ処理装置、およびプログラム
1か月前
株式会社寺岡精工
精算装置、システム、およびプログラム
2か月前
株式会社寺岡精工
注文システム及びコンピュータプログラム
1か月前
株式会社寺岡精工
受付管理システム及びコンピュータプログラム
18日前
株式会社寺岡精工
プログラム、携帯端末、システム、サーバ及び報知方法
2か月前
株式会社寺岡精工
ピッキングカート、ピッキングシステムおよび管理装置
2日前
株式会社寺岡精工
計量装置、計量システム、及びコンピュータプログラム
24日前
株式会社寺岡精工
プログラム、携帯端末、システム、サーバ及び報知方法
1か月前
株式会社寺岡精工
販売データ処理装置、モード制御方法、およびプログラム
24日前
株式会社寺岡精工
販売データ処理装置、販売データ処理方法、およびプログラム
2か月前
株式会社寺岡精工
取引状況監視装置
1か月前
株式会社寺岡精工
電子棚札管理システム
23日前
株式会社寺岡精工
プログラム、情報処理装置、システム、サーバ及び商品投入取出認識方法
1か月前
株式会社寺岡精工
商品販売データ処理装置
1か月前
株式会社寺岡精工
荷物引受装置、プログラム
2か月前
株式会社寺岡精工
オーダーエントリーシステム
2日前
株式会社寺岡精工
商品情報処理装置、プログラム
2か月前
株式会社寺岡精工
POS端末、およびプログラム
3か月前
株式会社寺岡精工
計量装置、計量システム、プログラム
1か月前
株式会社デジアイズ
炭酸水製造装置
2か月前
株式会社寺岡精工
販売データ処理装置、およびプログラム
1か月前
株式会社寺岡精工
商品販売データ処理装置、及びプログラム
12日前
株式会社寺岡精工
商品販売データ処理装置、及び、プログラム
1か月前
株式会社寺岡精工
商品販売データ処理装置、およびプログラム
1か月前
株式会社寺岡精工
商品販売データ処理装置、およびプログラム
23日前
株式会社寺岡精工
包装機及び包装機のイベント監視プログラム
16日前
株式会社寺岡精工
POSシステム、精算装置、及びプログラム
1か月前
株式会社寺岡精工
情報処理システム、情報処理装置及びプログラム
1か月前
株式会社寺岡精工
商品販売データ処理システム、端末装置及びプログラム
23日前
株式会社寺岡精工
商品データ処理装置、商品データ処理システム、商品データ処理装置用プログラム、及び商品データ処理システム用プログラム
1か月前
デジシンガポール ピーティイー リミテッド
商品販売データ処理システム、計量装置
2か月前
続きを見る
他の特許を見る