TOP
|
特許
|
意匠
|
商標
特許ウォッチ
Twitter
他の特許を見る
10個以上の画像は省略されています。
公開番号
2025164922
公報種別
公開特許公報(A)
公開日
2025-10-30
出願番号
2025143777,2021092884
出願日
2025-08-29,2021-06-02
発明の名称
商品販売データ処理装置、およびプログラム
出願人
株式会社寺岡精工
代理人
個人
,
個人
主分類
G07G
1/12 20060101AFI20251023BHJP(チェック装置)
要約
【課題】返品作業を簡単に行うこと。
【解決手段】商品販売データ処理装置は、入力手段と、許可手段とを備える。入力手段は、渡航者の顧客が購入した免税商品のうち返品する商品の商品情報と、前記顧客の渡航者情報を入力する。許可手段は、前記入力手段に入力された前記商品情報と前記渡航者情報とが、前記商品情報と前記渡航者情報とを関連付けて記憶する記憶手段に記憶されている場合、返品を許可する。
【選択図】図6
特許請求の範囲
【請求項1】
渡航者の顧客が購入した免税商品のうち返品する商品の商品情報と、前記顧客の渡航者情報を入力する入力手段と、
前記入力手段に入力された前記商品情報と前記渡航者情報とが、前記商品情報と前記渡航者情報とを関連付けて記憶する記憶手段に記憶されている場合、返品を許可する許可手段と、
を備えることを特徴とする商品販売データ処理装置。
続きを表示(約 760 文字)
【請求項2】
前記入力手段は、前記免税商品を購入した際の取引を識別する取引識別情報を入力し、
前記記憶手段は、前記取引識別情報と、前記商品情報と、前記渡航者情報とを関連付けて記憶し、
前記許可手段は、前記入力手段に入力された前記取引識別情報と前記商品情報と前記渡航者情報とが、前記記憶手段に記憶されている場合、前記返品を許可する、
ことを特徴とする請求項1に記載の商品販売データ処理装置。
【請求項3】
前記免税商品は、金額に関する所定の条件を満たす場合に免税される商品であり、
前記返品が行われることによって前記所定の条件を満たさなくなる場合、その旨を示す情報を出力する出力手段をさらに備える、
ことを特徴とする請求項1または2に記載の商品販売データ処理装置。
【請求項4】
一の取引を特定可能なコード情報を読み取る読取手段を備え、
前記許可手段は、前記読取手段によって読み取られたコード情報によって特定された取引情報が呼び出された場合、前記渡航者情報の入力の有無にかかわらず、前記返品を許可する、
請求項1乃至3のいずれか一項に記載の商品販売データ処理装置。
【請求項5】
商品販売データ処理装置に用いられるコンピュータが、
渡航者の顧客が購入した免税商品のうち返品する商品の商品情報と、前記顧客の渡航者情報を入力する入力ステップと、
前記入力ステップにおいて入力された前記商品情報と前記渡航者情報とが、前記商品情報と前記渡航者情報とを関連付けて記憶する記憶部に記憶されている場合、返品を許可する許可ステップと、
を含む処理を実行することを特徴とする商品販売データ処理方法。
発明の詳細な説明
【技術分野】
【0001】
本発明は、商品販売データ処理装置、および商品販売データ処理方法に関する。
続きを表示(約 1,800 文字)
【背景技術】
【0002】
従来、外国人旅行者などの渡航者が商品を購入する場合、国内で消費されない商品については、消費税が免除(以下「免税」という。)されることがある。免税商品の取引情報は、国税庁や所定の機関に別途管理されることがある。
【0003】
関連する技術として、旅券に記載のコードを読み取って非居住者の氏名のデータを取り出し、非居住者の氏名のデータとクレジットカードから読み取った名前とが一致しない場合に、当該非居住者がクレジットカードの所有者とは別人であると判断し、商品の購入の処理を終了するシステムが知られている(例えば、特許文献1参照。)。また、渡航者は、購入した免税商品の返品を希望することがある。
【先行技術文献】
【特許文献】
【0004】
特開2014-032441号公報
【発明の概要】
【発明が解決しようとする課題】
【0005】
しかしながら、従来技術では、免税商品を返品する場合、返品作業に手間がかかることがあり、すなわち、返品作業を簡単に行えないことがあった。
【0006】
本発明は、このような事情に鑑みてなされたもので、その目的は、免税商品の返品作業を簡単に行うことができる技術を提供することにある。
【課題を解決するための手段】
【0007】
上述した課題を解決するために、本発明の一態様である商品販売データ処理装置は、渡航者の顧客が購入した免税商品のうち返品する商品の商品情報と、前記顧客の渡航者情報を入力する入力手段と、前記入力手段に入力された前記商品情報と前記渡航者情報とが、前記商品情報と前記渡航者情報とを関連付けて記憶する記憶手段に記憶されている場合、返品を許可する許可手段と、を備えることを特徴とする商品販売データ処理装置である。
【図面の簡単な説明】
【0008】
本発明の実施形態に係るPOS(Point Of Sales)システムのネットワーク構成図である。
POSレジスタ3の概略の外観の一例を示す説明図である。
POSレジスタ3のハードウェア構成の一例を示す説明図である。
渡航者取引管理サーバSvのハードウェア構成の一例を示す説明図である。
POSレジスタ3が記憶する取引情報データベースDB1の一例を示す説明図である。
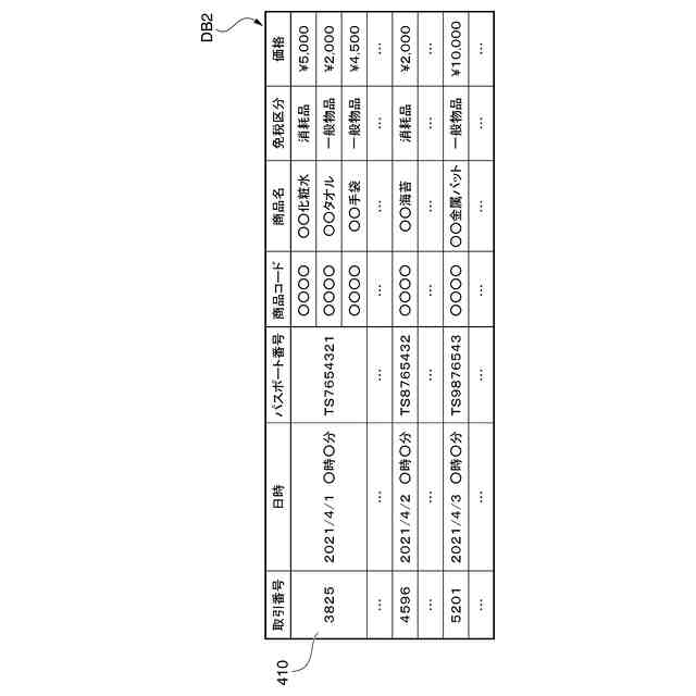
渡航者取引管理サーバSvが記憶する取引情報データベースDB2の一例を示す説明図である。
POSレジスタ3が行う手動返品処理の一例を示すフローチャートである。
POSレジスタ3が行う免税商品返品処理の一例を示すフローチャートである。
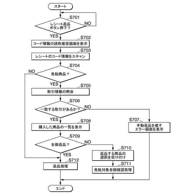
POSレジスタ3が行うレシート返品処理の一例を示すフローチャートである。
POSレジスタ3が行う免税対象金額確認処理の一例を示すフローチャートである。
手動返品処理を行う際の画面遷移の一例を示す説明図である。
手動返品処理を行う際の画面遷移の一例を示す説明図である。
レシート返品処理を行う際の画面遷移の一例を示す説明図である。
免税商品の返品処理において、POSレジスタ3が発行するレシートの一例を示す説明図である。
【発明を実施するための形態】
【0009】
(実施形態)
以下、本発明を実施するための形態について、図面を参照して詳細に説明する。
図1は、本発明の実施形態に係るPOS(Point Of Sales)システムのネットワーク構成図である。POSシステム1は、スーパーマーケット、ホームセンター、コンビニエンスストア、各種用品店など、種々の店舗Stに導入可能である。図1に示すように、POSシステム1は、渡航者取引管理サーバSvと、ストアコントローラ2と、POSレジスタ3とを備える。
【0010】
各装置は、LAN(Local Area Network)やWAN(Wide Area Network)などの通信回線6を介して、有線または無線により接続されている。各装置は、CPU(Central Processing Unit)、ROM(Read Only Memory)、RAM(Random Access Memory)、通信部などを備えたコンピュータ装置である。
(【0011】以降は省略されています)
この特許をJ-PlatPat(特許庁公式サイト)で参照する
関連特許
株式会社寺岡精工
販売データ処理装置
1か月前
株式会社寺岡精工
ペットボトル回収装置
15日前
株式会社寺岡精工
注文システム及びコンピュータプログラム
25日前
株式会社寺岡精工
受付管理システム及びコンピュータプログラム
10日前
株式会社寺岡精工
計量装置、計量システム、及びコンピュータプログラム
16日前
株式会社寺岡精工
販売データ処理装置、モード制御方法、およびプログラム
16日前
株式会社寺岡精工
電子棚札管理システム
15日前
株式会社寺岡精工
プログラム、情報処理装置、システム、サーバ及び商品投入取出認識方法
23日前
株式会社寺岡精工
商品販売データ処理装置
1か月前
株式会社寺岡精工
販売データ処理装置、およびプログラム
23日前
株式会社寺岡精工
商品販売データ処理装置、及びプログラム
4日前
株式会社寺岡精工
商品販売データ処理装置、およびプログラム
23日前
株式会社寺岡精工
商品販売データ処理装置、及び、プログラム
23日前
株式会社寺岡精工
包装機及び包装機のイベント監視プログラム
8日前
株式会社寺岡精工
POSシステム、精算装置、及びプログラム
29日前
株式会社寺岡精工
商品販売データ処理装置、およびプログラム
15日前
株式会社寺岡精工
商品販売データ処理システム、端末装置及びプログラム
15日前
株式会社イシダ
商品処理装置
1か月前
株式会社タムラ製作所
自動販売機
10日前
沖電気工業株式会社
施錠開閉装置
1か月前
沖電気工業株式会社
媒体処理装置
2か月前
沖電気工業株式会社
媒体処理装置
3か月前
アサヒ飲料株式会社
遠隔決済方法
15日前
沖電気工業株式会社
紙幣処理装置
2か月前
沖電気工業株式会社
媒体処理装置
2か月前
富士電機株式会社
自動販売機
2か月前
株式会社ライト
情報処理装置
3か月前
株式会社ライト
情報処理装置
3か月前
株式会社デンソー
車載器
1か月前
グローリー株式会社
物品投出装置
2か月前
グローリー株式会社
貨幣処理装置
15日前
株式会社トイスピリッツ
景品提供システム
3か月前
アサヒ飲料株式会社
自動販売機の決済方法
15日前
日本金銭機械株式会社
硬貨処理装置
1か月前
株式会社寺岡精工
商品登録システム
1か月前
日本金銭機械株式会社
硬貨処理装置
1か月前
続きを見る
他の特許を見る