TOP
|
特許
|
意匠
|
商標
特許ウォッチ
Twitter
他の特許を見る
10個以上の画像は省略されています。
公開番号
2025166896
公報種別
公開特許公報(A)
公開日
2025-11-07
出願番号
2024071077
出願日
2024-04-25
発明の名称
ペットボトル回収装置
出願人
株式会社寺岡精工
代理人
弁理士法人英知国際特許商標事務所
主分類
B65F
1/00 20060101AFI20251030BHJP(運搬;包装;貯蔵;薄板状または線条材料の取扱い)
要約
【課題】
収容部にペットボトルを効率よく収容させるべく、ペットボトルが振分け箇所で滞留することを防止することができるペットボトル回収装置を提供する。
【解決手段】
減容手段と、振分け手段と、収容部と、滞留防止手段と、を備え、前記減容手段は、投入されたペットボトルを減容するものであり、前記振分け手段は、減容されたペットボトルを前記収容部の偏倚部に落下させるように誘導するものであり、前記滞留防止手段は、前記振分け手段の近傍に滞留するペットボトルの前記収容部への落下を促進するものであることを特徴とするペットボトル回収装置により、課題を解決した。
【選択図】図15
特許請求の範囲
【請求項1】
減容手段と、振分け手段と、収容部と、滞留防止手段と、を備え、
前記減容手段は、投入されたペットボトルを減容するものであり、
前記振分け手段は、減容されたペットボトルを前記収容部の偏倚部に落下させるように誘導するものであり、
前記滞留防止手段は、前記振分け手段の近傍に滞留するペットボトルの前記収容部への落下を促進するものである
ことを特徴とするペットボトル回収装置。
続きを表示(約 470 文字)
【請求項2】
前記滞留防止手段は、前記振分け手段の端面に設けられた切り欠き形状である
ことを特徴とする請求項1に記載のペットボトル回収装置。
【請求項3】
前記滞留防止手段は、前記振分け手段の動作に連動する動作機構である
ことを特徴とする請求項1に記載のペットボトル回収装置。
【請求項4】
前記滞留防止手段は、前記振分け手段の振分け動作に応じて、滞留しているペットボトルを掻き出すように動作する
ことを特徴とする請求項1~3の何れか一項に記載のペットボトル回収装置。
【請求項5】
前記滞留防止手段は、前記振分け手段の下方に配置されており、前記収容部の中央近辺を山型形状で覆っていることで、滞留を生じさせ難くする突状部である
ことを特徴とする請求項1に記載のペットボトル回収装置。
【請求項6】
前記収容部は、装置背面側に袋引き込み手段を備える
ことを特徴とする請求項1,2,3,5の何れか一項に記載のペットボトル回収装置。
発明の詳細な説明
【技術分野】
【0001】
本発明は、ペットボトル回収装置に関する。
続きを表示(約 3,200 文字)
【背景技術】
【0002】
ペットボトル回収装置が知られている(例えば、特許文献1参照)。
特許文献1に記載のペットボトル等回収装置では、ペットボトル等を投入口に投入し、減容処理して収容する。
【先行技術文献】
【特許文献】
【0003】
特開2009-175789号公報
【発明の概要】
【発明が解決しようとする課題】
【0004】
特許文献1に記載のペットボトル回収装置は、設置場所や利用状況によっては、収容手段の収容量が十分でないという問題があった。そこで、本発明者により、複数の収容部を設け、当該複数の収容部にペットボトルを振分けて収納させることによって、収容量を増大させる試みや、単一の収容部であっても、収容部の偏倚部にペットボトルを落下させて袋が満杯になるまでペットボトルを収容させる試みがなされている。しかし、収容させるに際して、ペットボトルが振分け箇所で滞留してしまうなど、改良の余地があった。
本発明は、このような問題に対処することを課題の一例とするものである。すなわち、収容部にペットボトルを効率よく回収するべく、ペットボトルが振分け箇所で滞留することを防止することができるペットボトル回収装置を提供すること等が本発明の目的の一である。この他、本明細書では、効率のよい回収作業に資する他の改良なども提案するものである。
【課題を解決するための手段】
【0005】
本発明に係るペットボトル回収装置は、少なくとも以下の構成を具備する。
減容手段と、振分け手段と、収容部と、滞留防止手段と、を備え、前記減容手段は、投入されたペットボトルを減容するものであり、前記振分け手段は、減容されたペットボトルを前記収容部の偏倚部に落下させるように誘導するものであり、前記滞留防止手段は、前記振分け手段の近傍に滞留するペットボトルの前記収容部への落下を促進するものであることを特徴とする。
ここで、振分け手段の近傍とは、振分け手段の上方や振分け手段の下方の他、振分け手段に接していない箇所も含むものである。また、偏倚部とは、収容部の中央ではないことを意味し、特に、収容部が複数ある場合には、何れかの袋側に偏倚している範囲を意味する。
【図面の簡単な説明】
【0006】
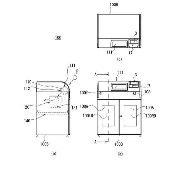
本発明の一実施形態に係るペットボトル回収装置の全体概念図であり、(a)はペットボトル回収装置の正面図、(b)はペットボトル回収装置の左側面図、(c)はペットボトル回収装置の上面図である。
ペットボトル回収装置の斜視図(左斜視図、右斜視図)である。
ペットボトル回収装置の側断面図であり、図1(a)のA-A線での断面図である。
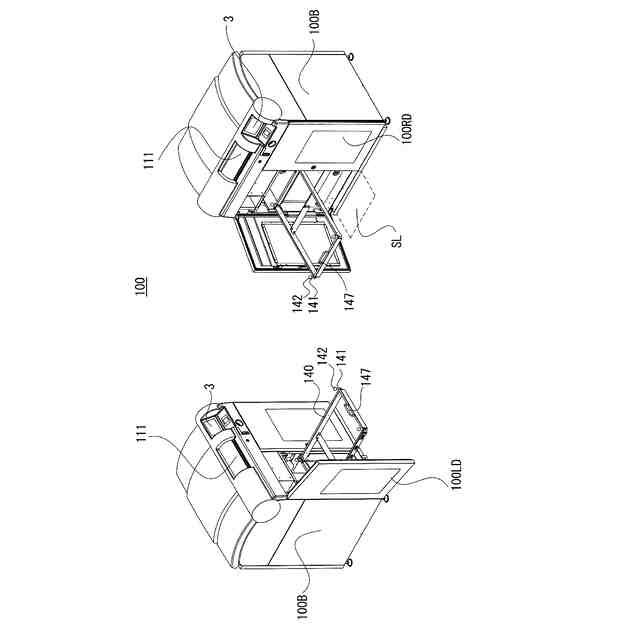
ペットボトル回収装置の前面左扉を開放している状態を示す図であり、(a)はペットボトル回収装置の正面図、(b)はペットボトル回収装置の左側面図、(c)はペットボトル回収装置の上面図である。
ペットボトル回収装置の前面左扉を開放している状態を示す図であり、ペットボトル回収装置の斜視図(左斜視図、右斜視図)である。
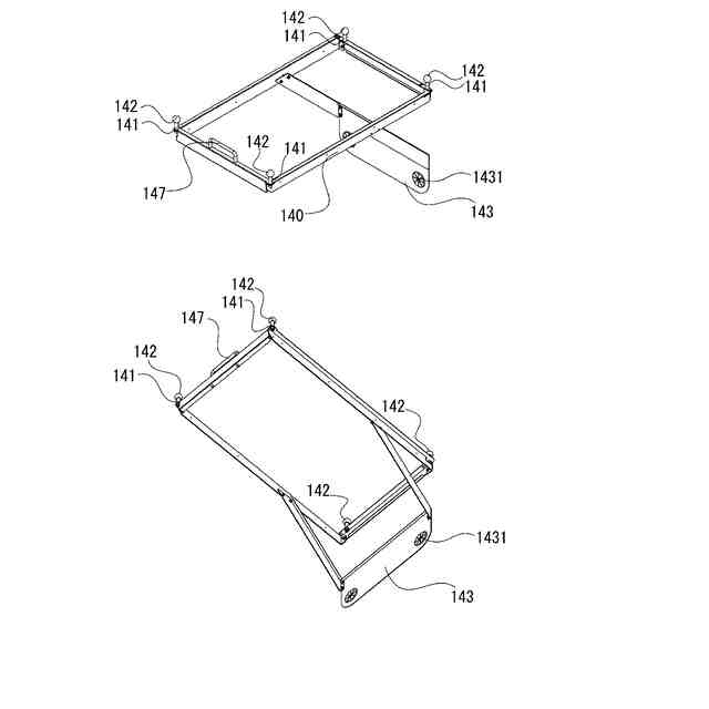
袋保持部のみを示す斜視図(上側斜視図、下側斜視図)である。
ペットボトル回収装置の前面左扉及び前面右扉を共に開放し、左の袋保持部のみを引出した状態を示す斜視図である。
ペットボトル回収装置を説明するための図であり、(a)はペットボトル回収装置の電気的な機能ブロック図、(b)は制御部の機能ブロック図である。
ペットボトル回収装置の容器投入部の概念図である。
ペットボトル回収装置の検出部などを説明するための図であり、(a)は容器投入部の左斜視図、(b)は容器投入部の正面図である。
ペットボトル回収装置100の右側の一部を切り欠いた下側斜視図である。
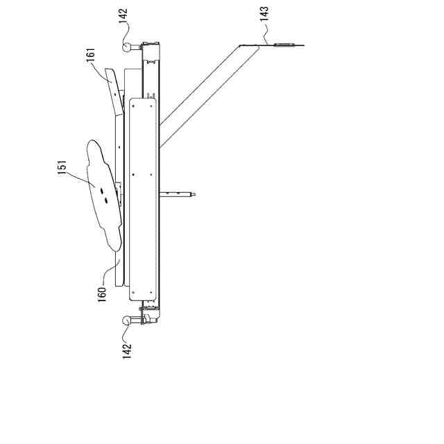
ペットボトル回収装置の上部の一部を切り欠いた斜視図であって、(a)は、切り欠き形状を有する円盤が右後方に傾いている状態を、(b)は、切り欠き形状を有する円盤が左前方に傾いている状態を、それぞれ示す図である。
ペットボトル回収装置の前面左扉及び前面右扉を共に開放した状態で、上部の一部を切り欠いた斜視図である。
切り欠き形状を有する円盤が回転している状態を示す一部拡大図であって、(a)は、傾斜面が左前方を向いている様子を示す正面図であり、(b)は、傾斜面が右後方を向いている様子を示す正面図である。
山型形状突状部を示す側面図である。
切り欠き形状を有する円盤、山型形状突状部及び掛止部の高さ関係を示す正面図である。
本発明の別実施形態に係るペットボトル回収装置の斜視図である。
【発明を実施するための形態】
【0007】
以下、本発明の実施形態を、図面を参照しながら説明する。本発明の実施形態は図示の内容を含むが、これのみに限定されるものではない。尚、以後の各図の説明で、既に説明した部位と共通する部分は同一符号を付して重複説明を一部省略する。
【0008】
(ペットボトル回収装置の基本構成)
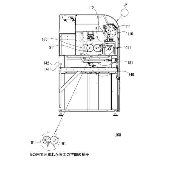
図1は本発明の実施形態に係るペットボトル回収装置100の一例を示す図であり、(a)はペットボトル回収装置の正面図、(b)はペットボトル回収装置の左側面図、(c)はペットボトル回収装置の上面図である。図2は、ペットボトル回収装置の斜視図である。図3は、図1(a)のA-A断面図である。
【0009】
ペットボトル回収装置100は、待機時、物品投入部110の外扉111が閉状態であり、容器投入部110と袋保持部140の間に開閉自在に設けられた内扉112が閉状態である。袋保持部140は、空容器を回収するために用いられる袋(ビニール袋)を保持するものである。物品回収時に、容器投入部110の外扉111が開状態となり、判定部101(不図示)により、容器投入部110の載置部へ載置された物が回収対象である空のペットボトルであるか否かが判別される。空のペットボトルであると判別された場合、外扉111が閉状態となり、容器投入部110と袋保持部140(本実施形態においては、袋保持部140は2つ備えられている。)の間に設けられた内扉112が開状態となり、袋保持部140に保持された袋にペットボトルが回収される。本実施形態では、ペットボトル回収装置が減容機構(減容部120又は容器減容部ともいう)を備え、減容機構(減容部120)によりペットボトルを減容することで、規定容量の2つの袋(ビニール袋)によって多量の減容されたペットボトルを回収可能である。また、振分け手段151によって、ペットボトルの送出方向を前後左右の様々な方向に異ならせることができ、さらには、複数の収容部(袋保持部140)の境を覆う山型形状突状部160により、ペットボトルを確実に左右の収容部に送り出すことができるため、回収効率の良い袋交換が可能である。
【0010】
詳細には、図1~3に示したように、本発明の実施形態に係るペットボトル回収装置100は、装置の本体部100Bの上部に容器投入部110が設けられており、容器投入部110の開口部の外側には外扉111が設けられている。装置の本体部100Bは、外扉111よりも上部付近の正面側に、表示操作部3、送受信部4(不図示)、リーダライタ17(カードリーダライタ)が設けられている。また、装置の本体部100Bの正面側には、荷物フック100fが設けられている。
(【0011】以降は省略されています)
この特許をJ-PlatPat(特許庁公式サイト)で参照する
関連特許
株式会社寺岡精工
包装装置
3日前
株式会社寺岡精工
商品登録システム
1か月前
株式会社寺岡精工
販売データ処理装置
1か月前
株式会社寺岡精工
ペットボトル回収装置
23日前
株式会社寺岡精工
包装装置及びプログラム
3日前
株式会社寺岡精工
販売データ処理装置、およびプログラム
1か月前
株式会社寺岡精工
注文システム及びコンピュータプログラム
1か月前
株式会社寺岡精工
受付管理システム及びコンピュータプログラム
18日前
株式会社寺岡精工
ピッキングカート、ピッキングシステムおよび管理装置
2日前
株式会社寺岡精工
プログラム、携帯端末、システム、サーバ及び報知方法
1か月前
株式会社寺岡精工
計量装置、計量システム、及びコンピュータプログラム
24日前
株式会社寺岡精工
販売データ処理装置、モード制御方法、およびプログラム
24日前
株式会社寺岡精工
取引状況監視装置
1か月前
株式会社寺岡精工
電子棚札管理システム
23日前
株式会社寺岡精工
プログラム、情報処理装置、システム、サーバ及び商品投入取出認識方法
1か月前
株式会社寺岡精工
商品販売データ処理装置
1か月前
株式会社寺岡精工
オーダーエントリーシステム
2日前
株式会社寺岡精工
商品情報処理装置、プログラム
2か月前
株式会社寺岡精工
計量装置、計量システム、プログラム
1か月前
株式会社デジアイズ
炭酸水製造装置
2か月前
株式会社寺岡精工
販売データ処理装置、およびプログラム
1か月前
株式会社寺岡精工
商品販売データ処理装置、及びプログラム
12日前
株式会社寺岡精工
POSシステム、精算装置、及びプログラム
1か月前
株式会社寺岡精工
商品販売データ処理装置、及び、プログラム
1か月前
株式会社寺岡精工
商品販売データ処理装置、およびプログラム
1か月前
株式会社寺岡精工
商品販売データ処理装置、およびプログラム
23日前
株式会社寺岡精工
包装機及び包装機のイベント監視プログラム
16日前
株式会社寺岡精工
情報処理システム、情報処理装置及びプログラム
1か月前
株式会社寺岡精工
商品販売データ処理システム、端末装置及びプログラム
23日前
株式会社寺岡精工
商品データ処理装置、商品データ処理システム、商品データ処理装置用プログラム、及び商品データ処理システム用プログラム
1か月前
デジシンガポール ピーティイー リミテッド
商品販売データ処理システム、計量装置
2か月前
個人
束ね具
19日前
個人
収容箱
4か月前
個人
コンベア
6か月前
個人
容器
10か月前
個人
段ボール箱
8か月前
続きを見る
他の特許を見る