TOP
|
特許
|
意匠
|
商標
特許ウォッチ
Twitter
他の特許を見る
公開番号
2025119662
公報種別
公開特許公報(A)
公開日
2025-08-15
出願番号
2024014563
出願日
2024-02-02
発明の名称
景品提供システム
出願人
株式会社トイスピリッツ
代理人
個人
主分類
G07F
11/00 20060101AFI20250807BHJP(チェック装置)
要約
【課題】購入の操作をする以外の興趣を添えた、エンターテインメント性に優れた景品提供システムを提供すること。
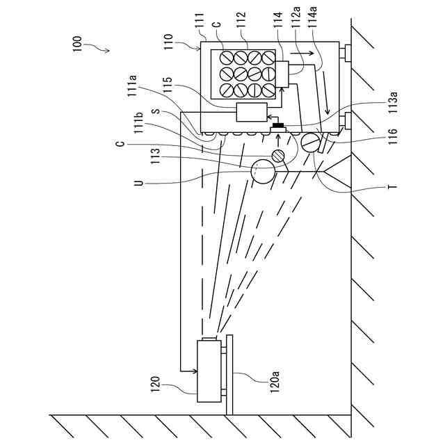
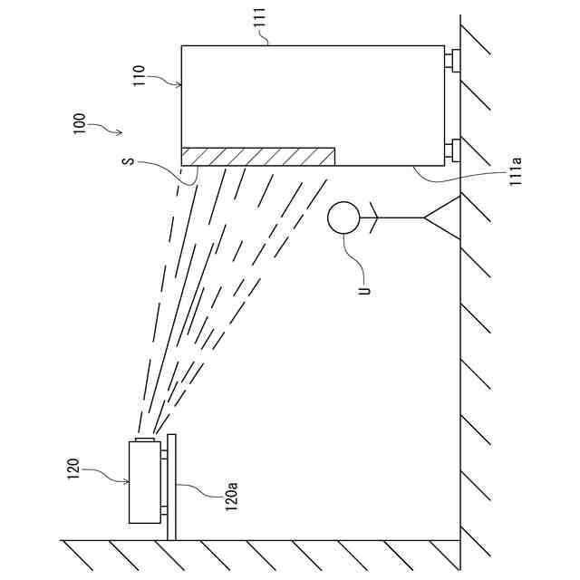
【解決手段】景品提供システム100を、払出装置110と投影装置120とから構成し、払出装置110は、複数の景品が収納される収納部112と、景品Tを収納部112から排出させる排出部114と、金銭Cが投入されたことを検知するセンサ113aが配設される支払部113と、排出部114及び投影装置120の動作を制御する制御部115を備え、制御部115が、センサ113aから検知信号が伝達されたときに投影装置120を作動させて払出装置110の筐体111の被投影面Sに映像を投影させた後、排出部114を作動させて景品Tを排出させる。
【選択図】図1
特許請求の範囲
【請求項1】
複数の景品が収納される収納部と、前記景品を前記収納部から取出口へと排出させる排出部と、所定額の金銭が支払われたことを検知するセンサが設けられる支払部とを備える払出装置と、
前記払出装置と離間して配置される投影装置とを備えており、
前記払出装置は、前記排出部及び前記投影装置の動作を制御する制御部をさらに備え、
前記制御部は、前記センサから支払完了の検知信号が伝達されたときに、前記投影装置を作動させて前記払出装置の筐体表面に所定時間映像を投影させることを特徴とする景品提供システム。
発明の詳細な説明
【技術分野】
【0001】
本発明は、ユーザに景品を提供する景品提供システムに関する。
続きを表示(約 1,900 文字)
【背景技術】
【0002】
従来、自動販売機の一種として、玩具やアクセサリー等の景品をランダムに提供する景品払出装置が知られている。景品払出装置としては、種類の異なる景品が収容されたカプセル型の容器が複数個収納される収納部を備えて、ユーザが硬貨を硬貨投入口に投入してからハンドルを操作すると、収納部から無作為に景品が排出されるものがある。こうした景品払出装置は、ユーザが景品を実際に手にするまでその内容を知ることができないため、期待感や高揚感をもって購入することができる。
【0003】
一方、景品払出装置を含む従来の自動販売機は、どのような販売している商品についての情報が、印刷物や商品サンプルといった静的な提示で行われていることがほとんどであり、人々の興味を自動販売機に向けさせることが十分にできていないといった課題があった。そこで、これまでの静的な情報提示から、静止画や動画といった映像を映し出す動的な情報提示を行って、人々の興味を惹けるようにした自動販売機が提案されている。例えば、自販機前面の透明パネルの内側面に、光学的なホイヘンス効果をもたらす一定大きさの回折格子面を設ける一方、自販機背面パネルにプロジェクタを設け、このプロジェクタから回折格子面へ向けて映像を投影することにより、ユーザが透明パネルを介して映像が浮き出して見えるようにした自動販売機が提案されている(例えば、特許文献1参照)。これによれば、人の目には映像が透明パネル上に浮き出すように見えるので、人々の目を向けさせることができる。
【先行技術文献】
【特許文献】
【0004】
特開2003-256920号公報
【発明の概要】
【発明が解決しようとする課題】
【0005】
つまり、景品払出装置においても、特許文献1の自動販売機のようにして購入の操作をする以外の興趣を添えることができれば注目度が高まるだけでなく、景品を購入にすることの楽しさが増すことにもつながるといえる。
【0006】
そこで、本発明は、エンターテインメント性に優れた景品提供システムを提供することを課題とするものである。
【課題を解決するための手段】
【0007】
上記課題を解決するために本発明が採った手段は、複数の景品が収納される収納部と、前記景品を前記収納部から取出口へと排出させる排出部と、所定額の金銭が支払われたことを検知するセンサが設けられる支払部とを備える払出装置と、前記払出装置と離間して配置される投影装置とを備えており、 前記払出装置は、前記排出部及び前記投影装置の動作を制御する制御部をさらに備え、前記制御部は、前記センサから支払完了の検知信号が伝達されたときに、前記投影装置を作動させて前記払出装置の筐体表面に所定時間映像を投影させることを特徴とする景品提供システム、である。
【0008】
本発明にかかる景品提供システムは、払出装置と投影装置とを備え、ユーザが支払いを完了したタイミングで、払出装置に対して映像を投影するようにしたものである。すなわち、景品提供システムは、払出装置に設けられるセンサと、センサによる支払完了の検知を受けて投影装置を作動させる制御部とを協働させて、払出装置の筐体表面への映像投影を行うように構成されている。これにより、払出装置の筐体表面が、映像が投影されるスクリーンとなって、ユーザが景品を受け取るまでの間、払出装置の外観を大きく変化させられるようになる。
【発明の効果】
【0009】
本発明に係る景品提供システムによれば、払出装置にある支払部に設けたセンサが、ユーザによる支払いが完了したことを検知し、この検知信号を受信した制御部が投影装置を作動させて払出装置の表面に映像を投影させるので払出装置の外観が一時的に変化され、ユーザは景品を手にするまでの間これを楽しむことができる。これにより、ユーザに対してエンターテインメント性に優れた購入体験を提供することができる。
【図面の簡単な説明】
【0010】
実施例1に係る景品提供システムの概略図である。
実施例1に係る景品提供システムの処理動作を示すフローチャートである。
実施例2に係る景品提供システムの概略図である。
実施例3に係る景品提供システムの概略図である。
【発明を実施するための形態】
(【0011】以降は省略されています)
この特許をJ-PlatPat(特許庁公式サイト)で参照する
関連特許
株式会社イシダ
商品処理装置
1か月前
富士電機株式会社
通貨識別装置
3か月前
沖電気工業株式会社
紙幣処理装置
2か月前
沖電気工業株式会社
媒体処理装置
2か月前
沖電気工業株式会社
媒体処理装置
1か月前
沖電気工業株式会社
施錠開閉装置
24日前
沖電気工業株式会社
媒体処理装置
2か月前
株式会社ライト
情報処理装置
2か月前
株式会社ライト
情報処理装置
2か月前
富士電機株式会社
自動販売機
2か月前
株式会社ライト
情報処理装置
3か月前
富士電機株式会社
金銭処理装置
3か月前
株式会社デンソー
車載器
29日前
グローリー株式会社
物品投出装置
1か月前
日本金銭機械株式会社
硬貨処理装置
1か月前
株式会社寺岡精工
商品登録システム
15日前
日本金銭機械株式会社
硬貨処理装置
1か月前
株式会社トイスピリッツ
景品提供システム
2か月前
ユニティガードシステム株式会社
入館監視システム
2か月前
株式会社寺岡精工
販売データ処理装置
10日前
沖電気工業株式会社
棒金収納装置
2か月前
沖電気工業株式会社
現金処理装置及び印字装置
1か月前
旭精工株式会社
紙葉類処理装置および紙葉類処理方法
1か月前
沖電気工業株式会社
媒体処理装置
1か月前
沖電気工業株式会社
現金処理装置
2か月前
沖電気工業株式会社
棒金収納装置
1か月前
沖電気工業株式会社
硬貨処理装置及び貨幣取扱装置
2か月前
沖電気工業株式会社
媒体識別装置及び媒体処理装置
2か月前
独立行政法人 国立印刷局
画像観察装置及び画像観察方法
2か月前
株式会社バンダイ
物品供給装置、及び物品供給装置セット
24日前
中井銘鈑株式会社
商品見本取付け構造
2か月前
株式会社東芝
ドア構造
2か月前
三菱電機株式会社
人流情報取得システム
4日前
グローリー株式会社
取引システム及び取引方法
22日前
沖電気工業株式会社
紙葉類取扱装置及び現金処理装置
8日前
株式会社寺岡精工
施設管理システム
2か月前
続きを見る
他の特許を見る