TOP
|
特許
|
意匠
|
商標
特許ウォッチ
Twitter
他の特許を見る
公開番号
2025168805
公報種別
公開特許公報(A)
公開日
2025-11-12
出願番号
2024073570
出願日
2024-04-30
発明の名称
自動販売機
出願人
株式会社タムラ製作所
代理人
主分類
G07F
9/00 20060101AFI20251105BHJP(チェック装置)
要約
【課題】製造コストを抑制すると共に展示用物品のレイアウトを容易に変更することができる自動販売機を提供する。
【解決手段】自動販売機1は、本体10と本体10に取り付けられたパネル13との間の収容空間15に収容された複数の展示用物品7に対応して設けられ、複数の展示用物品7から所望の展示用物品7を選択する際、利用者9の操作の目標となる複数の操作目標32と、所望の展示用物品7の操作目標32に対してなされたパネル13の表面130に対する操作に基づいてパネル13に生じる物理量の変化を検出する複数の検出部と、を備えて概略構成されている。
【選択図】図1
特許請求の範囲
【請求項1】
筐体と前記筐体に取り付けられたパネルとの間の収容空間に収容された複数の展示用物品に対応して設けられ、複数の前記展示用物品から所望の前記展示用物品を選択する際、利用者の操作の目標となる複数の操作目標と、
所望の前記展示用物品の前記操作目標に対してなされた前記パネルの表面に対する前記操作に基づいて前記パネルに生じる物理量の変化を検出する複数の検出部と、
を備えた自動販売機。
続きを表示(約 480 文字)
【請求項2】
複数の前記操作目標は、一方向に並ぶ複数の操作目標列を構成し、
複数の前記検出部は、それぞれの前記操作目標列を挟むように配置された、
請求項1に記載の自動販売機。
【請求項3】
複数の前記検出部は、前記パネルの4つの頂点部、隣り合う前記頂点部を結ぶ上辺部、下辺部、左辺部及び右辺部の少なくとも二箇所以上の位置に配置される、
請求項1に記載の自動販売機。
【請求項4】
前記収容空間に配置され、前記利用者が前記パネルを介して視認可能な表面に複数の前記操作目標を有する操作目標部材を有する、
請求項1乃至3のいずれか1項に記載の自動販売機。
【請求項5】
前記検出部は、前記操作に基づいて前記パネルに伝播した振動に基づく変形量を前記物理量として検出する、
請求項4に記載の自動販売機。
【請求項6】
複数の前記検出部から取得した複数の出力値に基づいて前記利用者が選択した前記展示用物品を判定する判定部を備えた、
請求項5に記載の自動販売機。
発明の詳細な説明
【技術分野】
【0001】
本発明は、自動販売機に関する。
続きを表示(約 1,500 文字)
【背景技術】
【0002】
従来の技術として、前扉の前面パネルの内側に、複数の商品見本が横方向に配列して示してあると共に、商品見本の列が縦方向に間隔をもって複数配置された構造を含んでなる展示部と、商品見本の列の間にて、商品見本毎に前面パネルに設置される、商品選択のための選択指示ボタンと、を備えた自動販売機が知られている(例えば、特許文献1参照。)。
【先行技術文献】
【特許文献】
【0003】
特開2014-021697号公報
【発明の概要】
【発明が解決しようとする課題】
【0004】
従来の自動販売機は、選択指示ボタンが前面パネルの外側に配置されるので、前面パネルを加工する必要があることから製造コストが掛かり、また加工した後、レイアウトの変更ができない問題がある。
【0005】
従って本発明の目的は、製造コストを抑制すると共に展示用物品のレイアウトを容易に変更することができる自動販売機を提供することにある。
【課題を解決するための手段】
【0006】
本発明の一態様は、筐体と筐体に取り付けられたパネルとの間の収容空間に収容された複数の展示用物品に対応して設けられ、複数の展示用物品から所望の展示用物品を選択する際、利用者の操作の目標となる複数の操作目標と、所望の展示用物品の操作目標に対してなされたパネルの表面に対する操作に基づいてパネルに生じる物理量の変化を検出する複数の検出部と、を備えた自動販売機を提供する。
【発明の効果】
【0007】
本発明によれば、製造コストを抑制すると共に展示用物品のレイアウトを容易に変更することができる。
【図面の簡単な説明】
【0008】
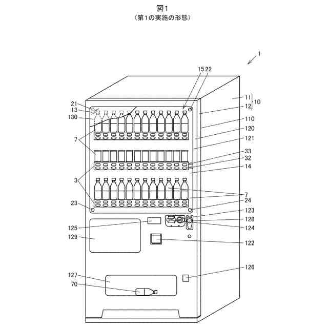
図1は、第1の実施の形態に係る自動販売機の一例を示す図である。
図2は、第1の実施の形態に係る自動販売機のブロック図の一例である。
図3は、第1の実施の形態に係る選択装置における展示用物品の選択の一例について説明するための図である。
図4(a)は、第1の実施の形態に係る自動販売機の第1のセンサ~第4のセンサの配置の一例について説明するための図であり、図4(b)及び図4(c)は、センサの配置の変形例の一例を示す図である。
図5は、第1の実施の形態に係る自動販売機のパネルを伝播する振動の一例について説明するための図である。
図6は、第1の実施の形態に係る自動販売機の第1のセンサ~第4のセンサが検出する出力値の一例を示すグラフである。
図7は、第2の実施の形態に係る自動販売機の一例を示す図である。
図8は、第2の実施の形態に係る自動販売機の第1のセンサ及び第2のセンサが検出する出力値の一例を示すグラフである。
【発明を実施するための形態】
【0009】
(実施の形態の要約)
実施の形態に係る自動販売機は、筐体と筐体に取り付けられたパネルとの間の収容空間に収容された複数の展示用物品に対応して設けられ、複数の展示用物品から所望の展示用物品を選択する際、利用者の操作の目標となる複数の操作目標と、所望の展示用物品の操作目標に対してなされたパネルの表面に対する操作に基づいてパネルに生じる物理量の変化を検出する複数の検出部と、を備えて概略構成されている。
【0010】
この自動販売機は、パネルの加工が必要ないので、パネルを加工して展示用物品及び展示用物品を選択するためのボタンを配置する場合と比べて、製造コストを抑制すると共に展示用物品のレイアウトを容易に変更することができる。
(【0011】以降は省略されています)
この特許をJ-PlatPat(特許庁公式サイト)で参照する
関連特許
株式会社タムラ製作所
自動販売機
2日前
株式会社タムラ製作所
選択装置及びこれを備えた自動販売機
2日前
株式会社タムラ製作所
樹脂フィルム、樹脂付き銅箔、多層配線基板、コイル構造体、および磁気デバイス
1か月前
株式会社イシダ
商品処理装置
1か月前
株式会社タムラ製作所
自動販売機
2日前
アサヒ飲料株式会社
遠隔決済方法
7日前
沖電気工業株式会社
紙幣処理装置
2か月前
沖電気工業株式会社
媒体処理装置
2か月前
沖電気工業株式会社
施錠開閉装置
1か月前
沖電気工業株式会社
媒体処理装置
2か月前
沖電気工業株式会社
媒体処理装置
3か月前
株式会社ライト
情報処理装置
2か月前
富士電機株式会社
自動販売機
2か月前
株式会社ライト
情報処理装置
2か月前
株式会社デンソー
車載器
1か月前
富士電機株式会社
金銭処理装置
3か月前
グローリー株式会社
貨幣処理装置
7日前
グローリー株式会社
物品投出装置
2か月前
株式会社寺岡精工
商品登録システム
28日前
日本金銭機械株式会社
硬貨処理装置
1か月前
日本金銭機械株式会社
硬貨処理装置
1か月前
株式会社トイスピリッツ
景品提供システム
3か月前
アサヒ飲料株式会社
自動販売機の決済方法
7日前
ユニティガードシステム株式会社
入館監視システム
3か月前
株式会社寺岡精工
販売データ処理装置
23日前
旭精工株式会社
紙葉類処理装置および紙葉類処理方法
1か月前
沖電気工業株式会社
媒体処理装置
2か月前
沖電気工業株式会社
棒金収納装置
1か月前
沖電気工業株式会社
棒金収納装置
2か月前
沖電気工業株式会社
現金処理装置
2か月前
沖電気工業株式会社
現金処理装置及び印字装置
1か月前
沖電気工業株式会社
硬貨処理装置及び貨幣取扱装置
3か月前
中井銘鈑株式会社
商品見本取付け構造
3か月前
株式会社東芝
ドア構造
2か月前
株式会社バンダイ
物品供給装置、及び物品供給装置セット
1か月前
沖電気工業株式会社
媒体識別装置及び媒体処理装置
2か月前
続きを見る
他の特許を見る