TOP
|
特許
|
意匠
|
商標
特許ウォッチ
Twitter
他の特許を見る
10個以上の画像は省略されています。
公開番号
2025166516
公報種別
公開特許公報(A)
公開日
2025-11-06
出願番号
2024070599
出願日
2024-04-24
発明の名称
計量装置、計量システム、及びコンピュータプログラム
出願人
株式会社寺岡精工
代理人
個人
,
個人
,
個人
,
個人
主分類
G01G
19/415 20060101AFI20251029BHJP(測定;試験)
要約
【課題】システム、装置、さらには利用者にとって、量り売り商品の購入から精算に至るまでの処理負担や操作負担の少ない装置又はシステムを提供する。
【解決手段】複数の計量装置2と情報処理端末3を備える計量システム1であって、計量装置2は、第一識別情報を検出する識別情報検出部201と、物品の重量を計量する計量部21と、識別情報検出部201で検出されていた一の第一識別情報が検出できなくなった場合、計量部21で計量した計量値を出力する通信処理部207とを備え、前記情報処理端末3は、通信処理部207で出力された計量値を取得する通信処理部305を備えること特徴とする計量システム1。
【選択図】図6
特許請求の範囲
【請求項1】
複数の計量装置と情報処理端末を備える計量システムであって、
前記計量装置は、
第一識別情報を検出する検出手段と、
物品の重量を計量する計量手段と、
前記検出手段で検出されていた一の第一識別情報が検出できなくなった場合、前記計量手段で計量した計量値を出力する出力手段と、を備え、
前記情報処理端末は、
前記出力手段で出力された前記計量値を取得する取得手段、を備える、
こと特徴とする計量システム。
続きを表示(約 1,800 文字)
【請求項2】
前記複数の計量装置又は各計量装置が扱う物品は、第二識別情報によって識別され、
前記出力手段は、前記第一識別情報と前記第二識別情報を前記計量値に関連付けて出力し、
前記取得手段は、前記出力手段で出力された前記計量値と、該計量値に関連付けられた前記第二識別情報を取得する、
請求項1に記載の計量システム。
【請求項3】
前記計量値は、前記検出手段が前記一の第一識別情報を検出してから検出しなくなるまでの間において、重量の安定を検出したときの重量値である、
請求項1又は2に記載の計量システム。
【請求項4】
前記計量値は、前記検出手段が検出していた前記一の第一識別情報が検出されなくなってから所定の時間が経過するまでの間において、重量の安定を検出したときの重量値である、
請求項1又は2に記載の計量システム。
【請求項5】
前記計量値は、前記検出手段が検出していた前記一の第一識別情報とは異なる第一識別情報が検出されるまでの間において、重量の安定を検出したときの重量値である、
請求項1又は2に記載の計量システム。
【請求項6】
複数の計量装置と情報処理端末を備える計量システムにおいて実行されるプログラムであって、
前記計量システムに対し、
第一識別情報を検出する検出処理と、
物品の重量を計量する計量処理と、
前記検出処理で検出されていた一の第一識別情報が検出できなくなった場合、前記計量処理で計量した計量値を出力する出力処理と、を実行させ、
前記情報処理端末に対し、
前記出力処理で出力された前記計量値を取得する取得処理と、を実行させる、
コンピュータプログラム。
【請求項7】
トレイを移動させながら複数の計量装置に載置された物品を該トレイ上の容器に取り分けさせて該物品の量り売りを行う計量システムであって、
前記計量装置と情報処理端末によって構成され、
前記トレイには第一識別情報が備えられ、
前記計量装置は、
前記第一識別情報を検出する識別情報検出手段と、
物品の重量を計量する計量手段と、
前記計量手段により計量された物品の重量値が安定した場合、当該安定した重量値と、前記識別情報検出手段により検出した前記第一識別情報とを出力する出力手段と、を備え、
前記情報処理端末は、
前記出力手段により出力された前記重量値を取得する取得手段、を備える、
こと特徴とする計量システム。
【請求項8】
トレイを移動させながら複数の計量装置に載置された物品を該トレイ上の容器に取り分けさせて該物品の量り売りを行う計量システムにおいて実行されるプログラムであって、
前記計量装置と情報処理端末によって構成され、
前記トレイには前記第一識別情報が備えられ、
前記計量装置に対して、
第一識別情報を検出する識別情報検出処理と、
物品の重量を計量する計量処理と、
前記計量処理により計量された物品の重量値が安定した場合、当該安定した重量値と、前記識別情報検出処理により検出した第一識別情報とを出力する出力処理と、を実行させ、
前記情報処理端末に対し、
前記出力処理により出力された前記重量値を取得する取得処理、を実行させる、
コンピュータプログラム。
【請求項9】
所定の識別情報を検出する検出手段と、
物品の重量を計量する計量手段と、
前記検出手段で検出されていた所定の識別情報が検出できなくなった場合、前記計量手段で計量した計量値を出力する出力手段と、を備える、
こと特徴とする計量装置。
【請求項10】
コンピュータに対し、
所定の識別情報を検出する検出処理と、
物品の重量を計量する計量処理と、
前記検出処理で検出されていた所定の識別情報が検出できなくなった場合、前記計量処理で計量した計量値を出力する出力処理と、を実行させる、
コンピュータプログラム。
発明の詳細な説明
【技術分野】
【0001】
本発明は、物品を量り売りするための計量装置、計量システム、及びコンピュータプログラムに関する。
続きを表示(約 2,600 文字)
【背景技術】
【0002】
学食やバイキング形式の食堂においても量り売りが普及しつつある。例えば、特許文献1では、セルフサービス形式の社員食堂などに利用される装置であって、ICタグを用いて精算を行う食堂精算装置が開示されている。
【先行技術文献】
【特許文献】
【0003】
実用新案登録第2605361号公報
【発明の概要】
【発明が解決しようとする課題】
【0004】
しかしながら、上記特許文献1記載の食堂精算装置は定額商品を前提としており、量り売りの商品には向かなかった。例えば、量り売りの商品では、商品ごとに計量データを取得する必要があるために扱うデータ量が多く、これを上記食堂精算装置で実現しようとするとICタグの書き込み操作が多くなる。その結果、ICタグの破損や書き込みエラーを招きやすくなる。また、ICタグに計量データを書き込んだかどうかを確認する術もないために不便であった。
【0005】
そこで本発明は、システム、装置、さらには利用者にとって、量り売り商品の購入から精算に至るまでの処理負担や操作負担の少ない装置又はシステムを提供することを目的の一つとする。
【課題を解決するための手段】
【0006】
上記目的を達成するため、本発明に係る計量システムは、複数の計量装置と情報処理端末を備える計量システムであって、前記計量装置は、第一識別情報を検出する検出手段と、物品の重量を計量する計量手段と、前記検出手段で検出されていた一の第一識別情報が検出できなくなった場合、前記計量手段で計量した計量値を出力する出力手段と、を備え、前記情報処理端末は、前記出力手段で出力された前記計量値を取得する取得手段、を備えることを特徴とする。
【図面の簡単な説明】
【0007】
本発明の実施形態に係る計量システムの装置構成の概要を示した概要図である。
上記計量システムのハードウェア構成を示したブロック図である。
上記計量システムを構成する計量装置を示した外観斜視図である。
上記計量システムを構成する計量装置の表示・操作部及び当該表示・操作部に表示される画面例を示した図であって、(a)計量装置2が待機状態にある場合、(b)会計識別情報を検出した状態、(c)重量変動状態、(d)重量安定状態、(e)会計識別情報を検出できなくなった状態、(f)計量情報の出力が完了した直後の状態、を示す。
上記計量システムを構成する情報処理端末を示した外観斜視図である。
上記計量システムのソフトウェア構成を示したブロック図である。
上記計量システムにおいて、物品情報記憶部に記憶されるデータの一例を示した図である。
上記計量システムにおいて、計量情報記憶部に記憶されるデータの一例を示した図である。
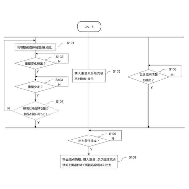
上記計量システムを構成する計量装置によって実行される処理の流れを示した処理フロー図である。
上記計量システムを構成する情報処理端末によって実行される処理の流れを示した処理フロー図である。
上記計量システムを構成する情報処理端末上に表示される画面の一例を示した図である。
上記計量システムを構成する情報処理端末上に表示される画面の一例を示した図である。
上記計量システムを構成する情報処理端末上に表示される画面の一例を示した図である。
上記計量システムを構成する情報処理端末において発行される会計用伝票の一例を示した図である。
【発明を実施するための形態】
【0008】
●計量システム1の概要
以下、本発明の実施形態に係る計量装置、及び計量システムについて、図を参照して説明する。
図1及び図2に示す本実施形態に係る計量システム1は、トレイ63を移動させながら複数の計量装置2に載置された物品を該トレイ63上の容器に取り分けさせて該物品の量り売りを行うシステムであり、バイキング形式で物品を提供する学食等の食堂で利用される。以下の説明では、本システムの利用の場を食堂として説明するが、量り売りで物品を提供する用に供する場であれば、通常の飲食店等の店舗でも利用できるものである。
本実施形態において、物品の一例は学食などの食堂等で利用者に提供される量り売り商品であって、より具体的には惣菜食品(調理品)やフルーツなどの食品である。ただし、量り売りするのが好適な物品であれば、これらの物品に限られることはなく、飲料等の液体、機構部品などの飲料品以外のものであってもよい。なお、本実施形態に係る計量システム1は、このような例に係る食品を物品として利用者に提供する場合に限らず、食堂側で所定の量の物品の供給を受ける場合にも使用できる。
【0009】
食堂では、利用者に商品を提供するためのカウンター6が設置されている。
カウンター6には、物など品を並べるスペースである物品スペース61と、物品スペース61の手前に設けられ、トレイ63を載せられるトレイスペース62が設けられている。物品スペース61には、複数の計量装置2と情報処理端末3が横並びに配置されており、計量装置2の上に載置された容器20には各種の物品が収められている。利用者は、トレイ63の上に取り皿などを載せ、トレイ63をトレイスペース62上でスライド移動させながら所望の物品を収めた容器20の手前にトレイ63を置くと、容器20の脇などに置かれているトングやスコップ、あるいはスプーンなどを使って物品を掬い取り、取り皿に盛る。
【0010】
トレイ63には、後述する会計識別情報を格納したICタグが設けられており、計量装置2は手前にトレイ63が置かれると、当該トレイ63に設けられたICタグから会計識別情報を取得し、当該会計識別情報と共に、掬い取られた物品の重量を物品の購入重量として情報処理端末3に出力する。利用者は、所望の物品が揃うと、情報処理端末3により会計用伝票の発行を受けるなどし、POS端末5で当該会計用伝票に基づいて精算処理を受ける。
(【0011】以降は省略されています)
この特許をJ-PlatPat(特許庁公式サイト)で参照する
関連特許
株式会社寺岡精工
包装装置
2日前
株式会社寺岡精工
商品登録システム
1か月前
株式会社寺岡精工
販売データ処理装置
1か月前
株式会社寺岡精工
ペットボトル回収装置
22日前
株式会社寺岡精工
包装装置及びプログラム
2日前
株式会社寺岡精工
販売データ処理装置、およびプログラム
1か月前
株式会社寺岡精工
注文システム及びコンピュータプログラム
1か月前
株式会社寺岡精工
受付管理システム及びコンピュータプログラム
17日前
株式会社寺岡精工
プログラム、携帯端末、システム、サーバ及び報知方法
2か月前
株式会社寺岡精工
ピッキングカート、ピッキングシステムおよび管理装置
1日前
株式会社寺岡精工
プログラム、携帯端末、システム、サーバ及び報知方法
1か月前
株式会社寺岡精工
計量装置、計量システム、及びコンピュータプログラム
23日前
株式会社寺岡精工
販売データ処理装置、モード制御方法、およびプログラム
23日前
株式会社寺岡精工
取引状況監視装置
1か月前
株式会社寺岡精工
電子棚札管理システム
22日前
株式会社寺岡精工
商品販売データ処理装置
1か月前
株式会社寺岡精工
プログラム、情報処理装置、システム、サーバ及び商品投入取出認識方法
1か月前
株式会社寺岡精工
オーダーエントリーシステム
1日前
株式会社寺岡精工
商品情報処理装置、プログラム
2か月前
株式会社寺岡精工
計量装置、計量システム、プログラム
1か月前
株式会社デジアイズ
炭酸水製造装置
2か月前
株式会社寺岡精工
販売データ処理装置、およびプログラム
1か月前
株式会社寺岡精工
商品販売データ処理装置、及びプログラム
11日前
株式会社寺岡精工
POSシステム、精算装置、及びプログラム
1か月前
株式会社寺岡精工
商品販売データ処理装置、及び、プログラム
1か月前
株式会社寺岡精工
商品販売データ処理装置、およびプログラム
1か月前
株式会社寺岡精工
商品販売データ処理装置、およびプログラム
22日前
株式会社寺岡精工
包装機及び包装機のイベント監視プログラム
15日前
株式会社寺岡精工
情報処理システム、情報処理装置及びプログラム
1か月前
株式会社寺岡精工
商品販売データ処理システム、端末装置及びプログラム
22日前
株式会社寺岡精工
商品データ処理装置、商品データ処理システム、商品データ処理装置用プログラム、及び商品データ処理システム用プログラム
1か月前
デジシンガポール ピーティイー リミテッド
商品販売データ処理システム、計量装置
2か月前
日本精機株式会社
検出装置
24日前
個人
採尿及び採便具
1か月前
個人
計量機能付き容器
19日前
個人
高精度同時多点測定装置
1か月前
続きを見る
他の特許を見る