TOP
|
特許
|
意匠
|
商標
特許ウォッチ
Twitter
他の特許を見る
10個以上の画像は省略されています。
公開番号
2025155268
公報種別
公開特許公報(A)
公開日
2025-10-14
出願番号
2024058993
出願日
2024-04-01
発明の名称
販売データ処理装置、およびプログラム
出願人
株式会社寺岡精工
代理人
個人
,
個人
主分類
G07G
1/12 20060101AFI20251006BHJP(チェック装置)
要約
【課題】セルフレジにおける適切な取引を支援すること。
【解決手段】販売データ処理装置は、第1登録手段と、第2登録手段と、音声制御手段とを備える。前記第1登録手段は、顧客による表示手段への操作入力に基づいて商品を登録する。前記第2登録手段は、前記第1登録手段とは異なる手段により商品を登録する。音声制御部手段は、前記第1登録手段によって登録された商品を示す第1登録情報と、前記第2登録手段によって登録された商品を示す第2登録情報とを、異なる態様で音声出力する。
【選択図】図5
特許請求の範囲
【請求項1】
顧客が自ら商品登録を行う販売データ処理装置であって、
顧客による表示手段への操作入力に基づいて商品を登録する第1登録手段と、
前記第1登録手段とは異なる手段により商品を登録する第2登録手段と、
前記第1登録手段によって登録された商品を示す第1登録情報と、前記第2登録手段によって登録された商品を示す第2登録情報とを、異なる態様で音声出力する音声制御手段と、
を備えることを特徴とする販売データ処理装置。
続きを表示(約 1,000 文字)
【請求項2】
前記音声制御手段は、
前記第1登録情報として登録された商品名と登録点数とを音声出力し、
前記第2登録情報として登録された商品名と登録点数とを音声出力しない、
ことを特徴とする請求項1に記載の販売データ処理装置。
【請求項3】
前記音声制御手段は、
前記第1登録情報として登録された商品名と登録点数とを音声出力し、
前記第2登録情報として登録された商品の登録点数を音声出力しない、
ことを特徴とする請求項1に記載の販売データ処理装置。
【請求項4】
顧客が自ら商品登録を行う第1モードと、店員が商品を登録する第2モードとを含む複数のモードのうちいずれかのモードに制御するモード制御手段を備え、
前記音声制御手段は、前記第1モードにおける前記第1登録情報と、前記第2モードにおける前記第1登録情報とを、異なる音声態様で音声出力する、
ことを特徴とする請求項1~3のいずれか一項に記載の販売データ処理装置。
【請求項5】
前記音声制御手段は、
前記第1モードでは前記第1登録情報として登録された商品名と登録点数とを音声出力し、
前記第2モードでは前記第1登録情報として登録された商品名と登録点数とを音声出力しない、
前記第1モードおよび前記第2モードにかかわらず、前記第2登録情報として登録された商品名と登録点数とを音声出力しない、
ことを特徴とする請求項4に記載の販売データ処理装置。
【請求項6】
前記音声制御手段は、商品の登録が完了した場合、登録された商品の合計点数を音声出力する、
ことを特徴とする請求項1~3のいずれか一項に記載の販売データ処理装置。
【請求項7】
顧客が自ら商品登録を行う販売データ処理装置のコンピュータを、
顧客による表示手段への操作入力に基づいて商品を登録する第1登録手段と、
前記第1登録手段とは異なる手段により商品を登録する第2登録手段と、
前記第1登録手段によって登録された商品を示す第1登録情報と、前記第2登録手段によって登録された商品を示す第2登録情報とを、異なる態様で音声出力する音声制御手段と、
として機能させることを特徴とするプログラム。
発明の詳細な説明
【技術分野】
【0001】
本発明は、販売データ処理装置、およびプログラムに関する。
続きを表示(約 1,800 文字)
【背景技術】
【0002】
近年、店舗では、顧客によって商品の登録が行われるセルフレジが普及している(例えば、特許文献1参照。)。商品の登録には、顧客による操作入力に基づく商品登録や、商品に付されたバーコードの撮像結果に基づく商品登録がある。
【先行技術文献】
【特許文献】
【0003】
特開2020-017075号公報
【発明の概要】
【発明が解決しようとする課題】
【0004】
しかしながら、従来技術では、セルフレジにおいて、顧客による円滑な商品登録や、店員による監視を効率よく行うことができないことがあった。このため、セルフレジにおいて適切な取引を行うことができないことがある、という問題があった。
【0005】
本発明は、このような事情に鑑みてなされたもので、その目的は、セルフレジにおける適切な取引を支援することができる技術を提供することにある。
【課題を解決するための手段】
【0006】
上述した課題を解決するために、本発明の一態様である販売データ処理装置は、顧客が自ら商品登録を行う販売データ処理装置であって、顧客による表示手段への操作入力に基づいて商品を登録する第1登録手段と、前記第1登録手段とは異なる手段により商品を登録する第2登録手段と、前記第1登録手段によって登録された商品を示す第1登録情報と、前記第2登録手段によって登録された商品を示す第2登録情報とを、異なる態様で音声出力する音声制御手段と、を備えることを特徴とする販売データ処理装置である。
【0007】
上述した課題を解決するために、本発明の他の態様であるプログラムは、顧客が自ら商品登録を行う販売データ処理装置のコンピュータを、顧客による表示手段への操作入力に基づいて商品を登録する第1登録手段と、前記第1登録手段とは異なる手段により商品を登録する第2登録手段と、前記第1登録手段によって登録された商品を示す第1登録情報と、前記第2登録手段によって登録された商品を示す第2登録情報とを、異なる態様で音声出力する音声制御手段と、として機能させることを特徴とするプログラムである。
【図面の簡単な説明】
【0008】
本実施形態に係る販売データ処理システムのネットワーク構成の一例を示す図である。
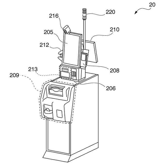
登録精算装置の客側から見た外観の一例を示す図である。
登録精算装置のハードウェア構成の一例を示す図である。
登録精算装置の機能的構成の一例を示すブロック図である。
登録精算装置が行うフルセルフモードにおける販売データ処理の一例を示すフローチャートである。
登録精算装置が行う精算処理の一例を示すフローチャートである。
登録精算装置が行う店員登録モードにおける販売データ処理の一例を示すフローチャートである。
フルセルフモードにおいて客側表示部に表示される画面の一例を示す図である。
フルセルフモードにおいて客側表示部に表示される画面の一例を示す図である。
店員登録モードにおいて店員側表示部に表示される画面の一例を示す図である。
【発明を実施するための形態】
【0009】
(実施形態)
(販売データ処理システムStのネットワーク構成)
図1は、本実施形態に係る販売データ処理システムのネットワーク構成の一例を示す図である。販売データ処理システムStは、各種店舗に導入される。各種店舗は、例えば、小売店や飲食店などである。小売店は、例えば、スーパーマーケット、ドラッグストア、ディスカウントストア、百貨店、各種用品店などである。飲食店は、レストラン、居酒屋、喫茶店、食堂などである。
【0010】
図1に示す販売データ処理システムStは、ストアコントローラ10と、取引状況管理装置11と、登録精算装置20とを備える。各装置は、LAN55を介して通信可能に接続されている。各装置は、CPU(Central Processing Unit)、ROM(Read Only Memory)、RAM(Random Access Memory)、通信部などを備えたコンピュータ装置である。
(【0011】以降は省略されています)
この特許をJ-PlatPat(特許庁公式サイト)で参照する
関連特許
株式会社寺岡精工
包装装置
3日前
株式会社寺岡精工
商品登録システム
1か月前
株式会社寺岡精工
販売データ処理装置
1か月前
株式会社寺岡精工
ペットボトル回収装置
23日前
株式会社寺岡精工
包装装置及びプログラム
3日前
株式会社寺岡精工
システム及びプログラム
3か月前
株式会社寺岡精工
精算装置、システム、およびプログラム
2か月前
株式会社寺岡精工
販売データ処理装置、およびプログラム
1か月前
株式会社寺岡精工
注文システム及びコンピュータプログラム
1か月前
株式会社寺岡精工
ラベル発行装置およびコンピュータプログラム
3か月前
株式会社寺岡精工
受付管理システム及びコンピュータプログラム
18日前
株式会社寺岡精工
ラベル発行装置およびコンピュータプログラム
3か月前
株式会社寺岡精工
ピッキングカート、ピッキングシステムおよび管理装置
2日前
株式会社寺岡精工
計量装置、計量システム、及びコンピュータプログラム
24日前
株式会社寺岡精工
プログラム、携帯端末、システム、サーバ及び報知方法
2か月前
株式会社寺岡精工
プログラム、携帯端末、システム、サーバ及び報知方法
1か月前
株式会社寺岡精工
販売データ処理装置、モード制御方法、およびプログラム
24日前
株式会社寺岡精工
販売データ処理装置、販売データ処理方法、およびプログラム
2か月前
株式会社寺岡精工
取引状況監視装置
1か月前
株式会社寺岡精工
電子棚札管理システム
23日前
株式会社寺岡精工
商品販売データ処理装置
1か月前
株式会社寺岡精工
プログラム、情報処理装置、システム、サーバ及び商品投入取出認識方法
1か月前
株式会社寺岡精工
荷物引受装置、プログラム
2か月前
株式会社寺岡精工
オーダーエントリーシステム
2日前
株式会社寺岡精工
商品情報処理装置、プログラム
2か月前
株式会社寺岡精工
POS端末、およびプログラム
3か月前
株式会社デジアイズ
炭酸水製造装置
2か月前
株式会社寺岡精工
計量装置、計量システム、プログラム
1か月前
株式会社寺岡精工
販売データ処理装置、およびプログラム
1か月前
株式会社寺岡精工
生産管理システム、生産管理プログラム
3か月前
株式会社寺岡精工
商品販売データ処理装置、及びプログラム
12日前
株式会社寺岡精工
POSシステム、精算装置、及びプログラム
1か月前
株式会社寺岡精工
商品販売データ処理装置、およびプログラム
1か月前
株式会社寺岡精工
商品販売データ処理装置、及び、プログラム
1か月前
株式会社寺岡精工
商品販売データ処理装置、およびプログラム
23日前
株式会社寺岡精工
包装機及び包装機のイベント監視プログラム
16日前
続きを見る
他の特許を見る