TOP
|
特許
|
意匠
|
商標
特許ウォッチ
Twitter
他の特許を見る
公開番号
2025154319
公報種別
公開特許公報(A)
公開日
2025-10-10
出願番号
2024057245
出願日
2024-03-29
発明の名称
取引システム及び取引方法
出願人
グローリー株式会社
代理人
個人
,
個人
主分類
G07G
1/00 20060101AFI20251002BHJP(チェック装置)
要約
【課題】注文した商品の受け取りを店舗内で待つ客の元へ店員が商品を届ける。
【解決手段】店舗で客と取引を行うための取引システムを、客の位置を特定するための位置特定端末と、位置特定端末を収納し、位置特定端末を客に提供する収納装置とによって構成する。
【選択図】図1
特許請求の範囲
【請求項1】
店舗で客と取引を行うための取引システムであって、
客の位置を特定するための位置特定端末と、
前記位置特定端末を収納し、前記位置特定端末を客に提供する収納装置と
を備える取引システム。
続きを表示(約 1,100 文字)
【請求項2】
前記位置特定端末の位置を検出して、取引した商品の受け取りを待つ客の位置を表示する表示装置
をさらに備えることを特徴とする請求項1に記載の取引システム。
【請求項3】
前記表示装置は、店舗のレイアウトを示す所定のマップを表示して、前記マップ上に前記位置特定端末の位置を表示することを特徴とする請求項2に記載の取引システム。
【請求項4】
前記表示装置は、さらに、前記客との取引内容に関する情報を表示することを特徴とする請求項2又は3に記載の取引システム。
【請求項5】
前記位置特定端末は、硬貨処理装置によって硬貨と同じ方法で処理可能な硬貨型デバイスであることを特徴とする請求項1~4のいずれか1項に記載の取引システム。
【請求項6】
前記収納装置は、装置外から硬貨を受け付けて硬貨収納部に収納する入金処理と、前記硬貨収納部から繰り出した硬貨を装置外に排出する出金処理とを実行可能な硬貨処理部を含み、取引金額の精算処理を実行する精算装置であり、
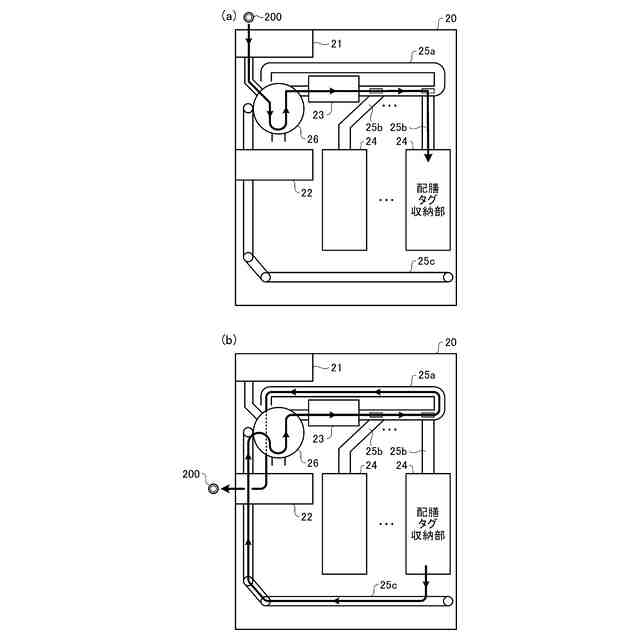
前記硬貨処理部は、前記位置特定端末が収納された端末収納部をさらに含み、前記端末収納部から前記位置特定端末を繰り出して装置外に排出する排出処理を実行する
ことを特徴とする請求項1~5のいずれか1項に記載の取引システム。
【請求項7】
前記硬貨処理部は、装置外から受け付けた前記位置特定端末を前記端末収納部に収納する収納処理を実行することを特徴とする請求項6に記載の取引システム。
【請求項8】
前記位置特定端末に、各位置特定端末を識別するための固有情報が付されており、
前記収納装置は、客に提供する前記位置特定端末の固有情報を読み取って、前記客との取引に係る情報と関連付ける
ことを特徴とする請求項1~7のいずれか1項に記載の取引システム。
【請求項9】
前記収納装置は、前記位置特定端末との無線通信によって各位置特定端末を識別するための固有情報を取得し、客との取引に係る情報と、前記客に提供した前記位置特定端末の固有情報とを関連付ける
ことを特徴とする請求項1~7のいずれか1項に記載の取引システム。
【請求項10】
前記収納装置は、複数の前記位置特定端末との無線通信によって各位置特定端末を識別するための固有情報を取得し、通信できなくなった前記位置特定端末が客に提供した位置特定端末であると判定して、通信できなくなった前記位置特定端末の固有情報を、前記客との取引に係る情報と関連付ける
ことを特徴とする請求項1~7のいずれか1項に記載の取引システム。
(【請求項11】以降は省略されています)
発明の詳細な説明
【技術分野】
【0001】
本開示は、店舗で客に商品を販売する取引を行うための取引システム及び取引方法に関する。
続きを表示(約 1,200 文字)
【背景技術】
【0002】
従来、様々な店舗で取引システムを利用した取引が行われている。例えば、特許文献1には、飲食店で客が自ら飲食物(商品)の注文と商品代金の決済とを行うことができるシステムが開示されている。客はテーブルに着席した後、自らハンディターミナルを操作して商品を選択して注文する。客の注文内容は、キッチンに設置された端末装置及びプリンタを利用して調理担当者に報知されて、商品の調理が開始される。商品と共に伝票を受け取った客は、飲食を終えた後、伝票を利用して自動精算機で商品代金を精算する。
【先行技術文献】
【特許文献】
【0003】
特開2022-65664号公報
【発明の概要】
【発明が解決しようとする課題】
【0004】
上記従来技術にあるように、客が自ら商品を注文して、装置を介して注文内容を調理担当者に直接報知することで、注文の聞き間違い等の人的ミスが防止されるが、キッチンで完成した商品を店員が客のテーブルへ配膳する際に配膳先を間違える可能性が残る。
【0005】
テーブル数が増えると配膳ミスが起きる可能性も高くなる。このため、多数のテーブルを配置して客に飲食を提供するフードコートでは、商品が準備できたことを音や光で知らせる呼出装置を客に渡し、呼出装置で呼び出された客が自ら商品を取りに行くセルフ式の配膳が主流となっている。呼出装置を利用すれば配膳ミスを防止できるが、荷物を持った客や子連れの客は、テーブルに着いた後、荷物や子供を置いたまま、或いは荷物や子供と一緒に、再びテーブルを離れて商品を受け取りに向かわねばならない。このため、商品の注文や商品代金の精算は自ら行うとしても、配膳は店員に行って欲しいという客の要望が聞かれることもある。
【0006】
本開示は、上記従来の課題に鑑みてなされたもので、その目的の1つは、注文した商品の受け取りを店舗内で待つ客の元へ商品を届けることができる取引システム及び取引方法を提供することにある。
【課題を解決するための手段】
【0007】
本開示に係る取引システムは、店舗で客と取引を行うための取引システムであって、客の位置を特定するための位置特定端末と、前記位置特定端末を収納し、前記位置特定端末を客に提供する収納装置とを備える。
【0008】
上記構成において、前記位置特定端末の位置を検出して、取引した商品の受け取りを待つ客の位置を表示する表示装置をさらに備えていてもよい。
【0009】
上記構成において、前記表示装置は、店舗のレイアウトを示す所定のマップを表示して、前記マップ上に前記位置特定端末の位置を表示する。
【0010】
上記構成において、前記表示装置は、さらに、前記客との取引内容に関する情報を表示してもよい。
(【0011】以降は省略されています)
この特許をJ-PlatPat(特許庁公式サイト)で参照する
関連特許
グローリー株式会社
各台装置
10日前
グローリー株式会社
監視システム
2日前
グローリー株式会社
貨幣処理装置
23日前
グローリー株式会社
取引システム及び取引方法
1か月前
グローリー株式会社
現金処理装置及び現金処理方法
1か月前
グローリー株式会社
現金処理システム及び現金処理方法
1か月前
グローリー株式会社
各台装置、遊技システム及び報知方法
4日前
グローリー株式会社
呼出システム、呼出プログラム及び呼出方法
2日前
グローリー株式会社
遊技管理システム、各台装置及び遊技管理方法
2日前
グローリー株式会社
遊技システム、制御装置及び遠隔遊技制御方法
3日前
グローリー株式会社
賞品交換システム、賞品管理装置及び賞品交換方法
1か月前
グローリー株式会社
物品受渡し装置、及び、物品受渡し装置で行われる方法
1か月前
グローリー株式会社
磁気ラインセンサ、紙葉類識別装置及び紙葉類処理装置
1か月前
グローリー株式会社
硬貨識別装置、硬貨処理装置及び硬貨の静電気の除電方法
1か月前
グローリー株式会社
有価媒体処理装置、有価媒体処理システム、および処理方法
1か月前
グローリー株式会社
コンテンツ提供システム、コンテンツ提供方法、及びプログラム
1か月前
グローリー株式会社
視覚情報認識システム、視覚情報処理装置、及び、視覚情報処理方法
1か月前
グローリー株式会社
金券処理システム、金券処理サーバ、金券処理方法、及び、金券処理プログラム
1か月前
グローリー株式会社
鍵管理装置、鍵管理システム、及び鍵管理方法
23日前
グローリー株式会社
遠隔接客システム、接続サーバ、遠隔接客システムで用いられる方法、及び、遠隔接客プログラム
1か月前
グローリー株式会社
浮腫の評価方法、評価装置、学習装置、学習モデル生産方法、学習済みモデル、およびプログラム
1か月前
グローリー株式会社
売上管理システム、売上管理システムで行われる方法、売上管理プログラム、及び、文字認識システム
24日前
個人
自動販売機
3日前
株式会社イシダ
商品処理装置
2か月前
株式会社タムラ製作所
自動販売機
18日前
沖電気工業株式会社
媒体処理装置
3か月前
沖電気工業株式会社
施錠開閉装置
1か月前
アサヒ飲料株式会社
遠隔決済方法
23日前
沖電気工業株式会社
媒体処理装置
2か月前
沖電気工業株式会社
媒体処理装置
3か月前
沖電気工業株式会社
紙幣処理装置
3か月前
株式会社ライト
情報処理装置
3か月前
株式会社ライト
情報処理装置
3か月前
富士電機株式会社
自動販売機
3か月前
株式会社デンソー
車載器
1か月前
グローリー株式会社
物品投出装置
2か月前
続きを見る
他の特許を見る