TOP
|
特許
|
意匠
|
商標
特許ウォッチ
Twitter
他の特許を見る
10個以上の画像は省略されています。
公開番号
2025150698
公報種別
公開特許公報(A)
公開日
2025-10-09
出願番号
2024051725
出願日
2024-03-27
発明の名称
現金処理装置及び現金処理方法
出願人
グローリー株式会社
代理人
個人
,
個人
主分類
G07G
1/12 20060101AFI20251002BHJP(チェック装置)
要約
【課題】店舗におけるクーポンの使用を容易に実現する。
【解決手段】取引金額の精算に利用される現金処理装置を、外部装置と情報を送受信する通信部と、入金処理及び出金処理を含む現金処理を実行可能な現金処理部と、現金処理部を制御して現金処理を実行する制御部と、クーポンの情報を取得するクーポン処理部とを備え、制御部は、通信部を介して、取引金額及び該取引金額分の現金を受け取る現金処理の実行命令を受信したときに、クーポン処理部に受け付けたクーポンのクーポン金額と、取引金額と、入金された現金の金額とに基づいて、現金処理部で現金処理を実行するように構成する。
【選択図】図1
特許請求の範囲
【請求項1】
取引金額の精算に利用される現金処理装置であって、
外部装置と情報を送受信する通信部と、
入金処理及び出金処理を含む現金処理を実行可能な現金処理部と、
前記現金処理部を制御して現金処理を実行する制御部と、
クーポンの情報を取得するクーポン処理部と
を備え、
前記制御部は、前記通信部を介して、取引金額及び該取引金額分の現金を受け取る現金処理の実行命令を受信したときに、前記クーポン処理部に受け付けたクーポンのクーポン金額と、前記取引金額と、入金された現金の金額とに基づいて、前記現金処理部で現金処理を実行する
ことを特徴とする現金処理装置。
続きを表示(約 1,700 文字)
【請求項2】
前記クーポン金額が前記取引金額と一致する場合、
前記制御部は、
前記現金処理部で現金処理を実行することなく、
前記通信部を介して、実行命令を受けた前記取引金額分の現金を受け取る前記現金処理の完了を通知する
ことを特徴とする請求項1に記載の現金処理装置。
【請求項3】
前記クーポン金額が前記取引金額に満たない場合、
前記制御部は、
前記現金処理部で、前記取引金額から前記クーポン金額を差し引いた不足金額分の現金を受け取る現金処理を実行して、
前記通信部を介して、実行命令を受けた前記取引金額分の現金を受け取る前記現金処理の完了を通知する
ことを特徴とする請求項1に記載の現金処理装置。
【請求項4】
前記クーポン金額が前記取引金額を超え、かつ、クーポン金額が取引金額を超えるクーポンの使用時に釣銭出金を認める設定がされている場合、
前記制御部は、
前記現金処理部で、前記クーポン金額から前記取引金額を差し引いた金額分の釣銭を出金する現金処理を実行して、
前記通信部を介して、実行命令を受けた前記取引金額分の現金を受け取る前記現金処理の完了を通知する
ことを特徴とする請求項1に記載の現金処理装置。
【請求項5】
前記クーポン金額が前記取引金額を超え、かつ、クーポン金額が取引金額を超えるクーポンの使用時に釣銭出金を認めない設定がされている場合、
前記制御部は、
クーポンの使用を続けるかキャンセルするかの選択を受け付けて、
クーポンの使用を続ける選択がされた場合は、前記現金処理部で現金処理を実行することなく、前記通信部を介して、実行命令を受けた前記取引金額分の現金を受け取る前記現金処理の完了を通知して、
クーポンの使用をキャンセルする選択がされた場合は、前記現金処理部で、前記取引金額分の現金を受け取る現金処理を実行して、前記通信部を介して、前記現金処理の完了を通知する
ことを特徴とする請求項1に記載の現金処理装置。
【請求項6】
取引に関する情報を表示する表示部
をさらに備え、
前記制御部は、取引金額分の現金を受け取る現金処理の実行命令を受信した後、前記クーポン処理部へのクーポンの情報入力を求める画面を前記表示部に表示して、前記クーポン処理部に入力されたクーポンの情報に基づいて前記クーポン金額を特定する
ことを特徴とする請求項1~5のいずれか1項に記載の現金処理装置。
【請求項7】
クーポン情報の入力を求める画面を表示する表示部
をさらに備え、
前記制御部は、取引金額分の現金を受け取る現金処理の実行命令を受信するより前に、前記クーポン処理部に入力されたクーポンの情報に基づいて前記クーポン金額を特定する
ことを特徴とする請求項1~6のいずれか1項に記載の現金処理装置。
【請求項8】
前記クーポン処理部は読取部を有し、
前記制御部は、前記読取部でクーポンから読み取ったクーポン情報に基づいて前記クーポン金額を特定する
ことを特徴とする請求項1~7のいずれか1項に記載の現金処理装置。
【請求項9】
客の操作を受け付ける操作部
をさらに備え、
前記制御部は、前記操作部で行われた操作に基づいて、前記読取部による前記クーポン情報の読み取りを開始する
ことを特徴とする請求項8に記載の現金処理装置。
【請求項10】
前記制御部は、
前記読取部でクーポンからクーポン番号を読み取り、
前記通信部を介して、複数のクーポンのクーポン金額が各クーポンのクーポン番号と関連付けて登録されたクーポンデータを記憶する外部装置に、前記クーポン番号に基づいてクーポン金額を問い合わせて、前記クーポン金額を特定する
ことを特徴とする請求項8に記載の現金処理装置。
(【請求項11】以降は省略されています)
発明の詳細な説明
【技術分野】
【0001】
本開示は、客との取引時に店舗で精算処理に利用される現金処理装置及び該現金処理装置が実行する現金処理方法に関する。
続きを表示(約 1,400 文字)
【背景技術】
【0002】
従来、多くの店舗でPOS(Point of Sales)システムを利用した商品販売が行われている。例えば、POSサーバと接続されたPOSレジで、客が購入する商品の種類及び販売価格が登録されて客との取引金額が確定される。取引金額の支払は、電子決済端末を利用した電子決済や現金処理装置を利用した現金決済によって行われる。
【0003】
店舗では、取引金額の支払に充てることができる商品券、取引金額の一部が割り引かれる割引券等が使用されることがある。例えば、特許文献1には、商品券を使用した取引金額の支払に対応するシステムが開示されている。
【先行技術文献】
【特許文献】
【0004】
特開2013-191084号公報
【発明の概要】
【発明が解決しようとする課題】
【0005】
上記従来技術が開示するシステムを含め、商品券や割引券の使用は、客がレジ係に使用を申し出たり、レジ係が客に使用の有無を尋ねたりすることによって行われていた。また、商品券や割引券を使用する取引を行って取引後の現金処理装置の現金在高を管理するためには、POSレジ及びPOSサーバを含むPOSシステムの機能を更新する必要があった。
【0006】
例えば、客から硬貨の入金を受け付けて、入金額に応じて取引金額の支払に使用可能なクーポンを発行する硬貨入金機が知られている。このクーポンを店舗で使用できるようにするには、商品券の場合と同様に、POSシステムの機能を更新する必要がある。システム更新の手間や費用の問題から、店舗は、クーポンを発行する新たな装置を容易に導入できないという問題があった。
【0007】
本開示は、上記従来技術に鑑みてなされたもので、その目的の1つは、店舗におけるクーポンの使用を容易に実現することができる現金処理装置及び現金処理方法を提供することにある。
【課題を解決するための手段】
【0008】
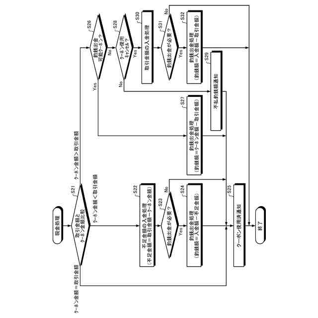
本開示に係る現金処理装置は、取引金額の精算に利用される現金処理装置であって、外部装置と情報を送受信する通信部と、入金処理及び出金処理を含む現金処理を実行可能な現金処理部と、前記現金処理部を制御して現金処理を実行する制御部と、クーポンの情報を取得するクーポン処理部とを備え、前記制御部は、前記通信部を介して、取引金額及び該取引金額分の現金を受け取る現金処理の実行命令を受信したときに、前記クーポン処理部に受け付けたクーポンのクーポン金額と、前記取引金額と、入金された現金の金額とに基づいて、前記現金処理部で現金処理を実行する。
【0009】
上記構成において、前記クーポン金額が前記取引金額と一致する場合、前記制御部は、前記現金処理部で現金処理を実行することなく、前記通信部を介して、実行命令を受けた前記取引金額分の現金を受け取る前記現金処理の完了を通知してもよい。
【0010】
上記構成において、前記クーポン金額が前記取引金額に満たない場合、前記制御部は、前記現金処理部で、前記取引金額から前記クーポン金額を差し引いた不足金額分の現金を受け取る現金処理を実行して、前記通信部を介して、実行命令を受けた前記取引金額分の現金を受け取る前記現金処理の完了を通知してもよい。
(【0011】以降は省略されています)
この特許をJ-PlatPat(特許庁公式サイト)で参照する
関連特許
個人
自動販売機
5日前
株式会社タムラ製作所
自動販売機
20日前
アサヒ飲料株式会社
遠隔決済方法
25日前
グローリー株式会社
貨幣処理装置
25日前
アサヒ飲料株式会社
自動販売機の決済方法
25日前
株式会社知財事業研究所
特殊駐車場システム
14日前
株式会社タムラ製作所
選択装置及びこれを備えた自動販売機
20日前
富士電機株式会社
自動販売機
5日前
ステアリテール株式会社
スキャナスタンド、及びPOS端末
6日前
沖電気工業株式会社
処理装置および処理システム
25日前
富士電機株式会社
自動販売機システム
4日前
富士電機株式会社
自動販売機システム
5日前
東芝テック株式会社
取引処理システム
4日前
サンデン・リテールシステム株式会社
自動販売機
18日前
サンデン・リテールシステム株式会社
自動販売機
12日前
東芝テック株式会社
取引処理装置及びプログラム
4日前
トヨタ自動車株式会社
アクセス管理システム
27日前
東芝テック株式会社
会計装置及び情報処理プログラム
4日前
三菱電機株式会社
記録制御装置及び記録制御プログラム
25日前
株式会社寺岡精工
販売データ処理装置、モード制御方法、およびプログラム
26日前
東芝テック株式会社
データ処理装置及びデータ処理方法
1か月前
株式会社ユピテル
装置およびプログラム等
14日前
サントリーホールディングス株式会社
作業者端末、情報処理方法、およびプログラム
5日前
東芝テック株式会社
販売データ処理装置およびプログラム
1か月前
東芝テック株式会社
情報処理装置、及び商品登録システム
27日前
東芝テック株式会社
商品販売データ処理装置及びプログラム
4日前
株式会社ユピテル
システム及びプログラム等
4日前
株式会社寺岡精工
電子棚札管理システム
25日前
株式会社ユピテル
撮影装置及びドライブレコーダー等
1か月前
旭精工株式会社
コインホッパ、およびコイン処理装置
4日前
株式会社東芝
券処理システム、券処理装置、サーバおよび券処理方法
1か月前
株式会社寺岡精工
プログラム、情報処理装置、システム、サーバ及び商品投入取出認識方法
1か月前
東芝テック株式会社
情報処理装置及びそのプログラム、情報処理システム
27日前
東芝テック株式会社
情報処理装置及びそのプログラム、情報処理システム
27日前
東芝テック株式会社
取引処理システム、取引処理装置及びそのプログラム
28日前
東芝テック株式会社
入出金装置、販売データ処理装置、およびプログラム
1か月前
続きを見る
他の特許を見る