TOP
|
特許
|
意匠
|
商標
特許ウォッチ
Twitter
他の特許を見る
10個以上の画像は省略されています。
公開番号
2025166566
公報種別
公開特許公報(A)
公開日
2025-11-06
出願番号
2024070682
出願日
2024-04-24
発明の名称
売上管理システム、売上管理システムで行われる方法、売上管理プログラム、及び、文字認識システム
出願人
グローリー株式会社
代理人
弁理士法人R&C
主分類
G06Q
30/06 20230101AFI20251029BHJP(計算;計数)
要約
【課題】媒体に記載された視覚情報の認識処理を実行する制御部を有効活用可能な売上管理システムの提供。
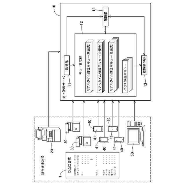
【解決手段】売上データを印字した媒体1が写された画像データを店舗側端末30,40から取得して画像データから視覚情報を認識する認識処理を行うことで店舗の売上情報を取得する売上管理システム。売上管理システムに、画像データを店舗側端末から取得する取得部11と、取得部11が画像データを取得したことに応じて画像データに対する認識処理を実行する第一モード処理と、取得部11によって取得された複数の画像データを保留して画像データに対する認識処理を一括実行する第二モード処理と、を画像データに対して選択的に実行する制御部13と、が備えられている。
【選択図】図1
特許請求の範囲
【請求項1】
売上データを印字した媒体が写された画像データを店舗側端末から取得して前記画像データから視覚情報を認識する認識処理を行うことで店舗の売上情報を取得する売上管理システムであって、
前記画像データを前記店舗側端末から取得する取得部と、
前記取得部が前記画像データを取得したことに応じて前記画像データに対する前記認識処理を実行する第一モード処理と、前記取得部によって取得された複数の前記画像データを保留して前記画像データに対する前記認識処理を一括実行する第二モード処理と、を前記画像データに対して選択的に実行する制御部と、が備えられている売上管理システム。
続きを表示(約 1,300 文字)
【請求項2】
店舗スタッフからの操作を受け付ける受付部が備えられ、
前記制御部は、前記受付部が受け付けた前記操作に応じて、取得された前記画像データに対して前記第一モード処理と前記第二モード処理の何れを実行するかを決定する請求項1に記載の売上管理システム。
【請求項3】
取得された前記画像データに対して前記第一モード処理と前記第二モード処理の何れを実行するかを定める処理選択条件を記憶する記憶部が備えられ、
前記制御部は、前記処理選択条件に基づいて、取得された前記画像データに対して前記第一モード処理と前記第二モード処理の何れを実行するかを決定する請求項1に記載の売上管理システム。
【請求項4】
前記取得部は、前記画像データとともに、当該画像データを生成した機器を示す機器情報を取得するように構成されており、
前記制御部は、前記機器情報に基づいて、取得された前記画像データに対して前記第一モード処理と前記第二モード処理の何れを実行するかを決定する請求項1に記載の売上管理システム。
【請求項5】
前記取得部によって取得された前記画像データに対する前記第一モード処理における処理待ち時間を報知する報知部と、
店舗スタッフからの操作を受け付ける受付部と、が備えられ、
前記制御部は、前記受付部が受け付けた前記操作に応じて、当該画像データに対して実行する処理を前記第一モード処理と前記第二モード処理との間で変更するように構成されている請求項1に記載の売上管理システム。
【請求項6】
前記制御部は、前記画像データに対する前記第一モード処理が予め設定された時間内に完了しなかった場合に、当該画像データに対する前記第一モード処理を中止するとともに、当該画像データに対して実行する処理を前記第二モード処理へ変更するように構成されている請求項1に記載の売上管理システム。
【請求項7】
前記制御部が前記第一モード処理において複数の前記画像データに対して順番に前記認識処理を実行するための順番待ち情報を管理するキュー管理部と、
前記順番待ち情報における順位の変更を行う条件を定める順位変更条件を記憶する記憶部と、が備えられ、
前記キュー管理部は、前記順位変更条件に応じて前記順番待ち情報における順位の入れ替えを可能なように構成されている請求項1から6の何れか1項に記載の売上管理システム。
【請求項8】
前記順位変更条件に、前記画像データの送信元の店舗に関する情報が含まれる請求項7に記載の売上管理システム。
【請求項9】
前記順位変更条件に、前記画像データの送信元の店舗が入居する商業施設に関する情報が含まれる請求項7に記載の売上管理システム。
【請求項10】
前記順位変更条件に、同一の店舗から送信された前記画像データに対して前記第一モード処理を行った回数に関する情報が含まれる請求項7に記載の売上管理システム。
(【請求項11】以降は省略されています)
発明の詳細な説明
【技術分野】
【0001】
本開示は、売上管理システム、売上管理システムで行われる方法、売上管理プログラム、及び、文字認識システムに関する。
続きを表示(約 1,500 文字)
【背景技術】
【0002】
例えば特許文献1に開示された売上管理システムでは、日々の売上を集計した結果が示された媒体が店舗(文献では「テナント」)から提出される。制御部(文献では「OCR処理部」)が、OCR(光学文字認識)処理することによって当該媒体に記載された視覚情報を認識する。
【先行技術文献】
【特許文献】
【0003】
特許第6404579号公報
【発明の概要】
【発明が解決しようとする課題】
【0004】
ところで複合商業施設の閉店時間後には、店舗からの報告が殺到するため、制御部における視覚情報の認識処理が追い付かずに、店舗のスタッフが制御部における認識処理が終わるまで帰宅を待たされる虞がある。このような課題を解決する手段として、制御部における処理能力を増強することが考えられるが、制御部の稼働率は閉店から数時間の時間帯だけ高くなって、それ以外の時間帯における制御部の稼働率は低い場合が多い。このため、閉店から数時間の時間帯の混雑に対処するために制御部における処理能力を増強する投資を行うことは、躊躇されがちである。
【0005】
本開示の目的は、媒体に記載された視覚情報の認識処理を実行する制御部を有効活用可能な売上管理システムを提供することにある。
【課題を解決するための手段】
【0006】
本開示は、売上データを印字した媒体が写された画像データを店舗側端末から取得して前記画像データから視覚情報を認識する認識処理を行うことで店舗の売上情報を取得する売上管理システムであって、前記画像データを前記店舗側端末から取得する取得部と、前記取得部が前記画像データを取得したことに応じて前記画像データに対する前記認識処理を実行する第一モード処理と、前記取得部によって取得された複数の前記画像データを保留して前記画像データに対する前記認識処理を一括実行する第二モード処理と、を前記画像データに対して選択的に実行する制御部と、が備えられている。
【0007】
本開示の売上管理システムに、店舗スタッフからの操作を受け付ける受付部が備えられ、前記制御部は、前記受付部が受け付けた前記操作に応じて、取得された前記画像データに対して前記第一モード処理と前記第二モード処理の何れを実行するかを決定する。
【0008】
本開示の売上管理システムに、取得された前記画像データに対して前記第一モード処理と前記第二モード処理の何れを実行するかを定める処理選択条件を記憶する記憶部が備えられ、前記制御部は、前記処理選択条件に基づいて、取得された前記画像データに対して前記第一モード処理と前記第二モード処理の何れを実行するかを決定する。
【0009】
本開示の売上管理システムでは、前記取得部は、前記画像データとともに、当該画像データを生成した機器を示す機器情報を取得するように構成されており、前記制御部は、前記機器情報に基づいて、取得された前記画像データに対して前記第一モード処理と前記第二モード処理の何れを実行するかを決定する。
【0010】
本開示の売上管理システムに、前記取得部によって取得された前記画像データに対する前記第一モード処理における処理待ち時間を報知する報知部と、店舗スタッフからの操作を受け付ける受付部と、が備えられ、前記制御部は、前記受付部が受け付けた前記操作に応じて、当該画像データに対して実行する処理を前記第一モード処理と前記第二モード処理との間で変更するように構成されている。
(【0011】以降は省略されています)
この特許をJ-PlatPat(特許庁公式サイト)で参照する
関連特許
グローリー株式会社
各台装置
9日前
グローリー株式会社
監視システム
1日前
グローリー株式会社
各台装置、遊技システム及び報知方法
3日前
グローリー株式会社
呼出システム、呼出プログラム及び呼出方法
1日前
グローリー株式会社
遊技管理システム、各台装置及び遊技管理方法
1日前
グローリー株式会社
遊技システム、制御装置及び遠隔遊技制御方法
2日前
個人
詐欺保険
1か月前
個人
縁伊達ポイン
1か月前
個人
職業自動販売機
15日前
個人
RFタグシート
1か月前
個人
5掛けポイント
22日前
個人
QRコードの彩色
1か月前
個人
ペルソナ認証方式
1か月前
個人
情報処理装置
25日前
個人
自動調理装置
1か月前
個人
農作物用途分配システム
1か月前
個人
残土処理システム
1か月前
個人
インターネットの利用構造
29日前
個人
サービス情報提供システム
17日前
個人
知的財産出願支援システム
1か月前
個人
タッチパネル操作指代替具
1か月前
個人
スケジュール調整プログラム
1か月前
個人
携帯端末障害問合せシステム
1か月前
個人
エリアガイドナビAIシステム
1か月前
キヤノン株式会社
画像認識装置
9日前
株式会社ケアコム
項目選択装置
25日前
株式会社ケアコム
項目選択装置
25日前
株式会社ワコム
電子ペン
24日前
トヨタ自動車株式会社
通知装置
1か月前
個人
帳票自動生成型SaaSシステム
1か月前
個人
音声・通知・再配達UX制御構造
1か月前
キヤノン株式会社
情報処理装置
9日前
キヤノン株式会社
情報処理装置
9日前
株式会社ワコム
電子ペン
24日前
キヤノン株式会社
情報処理装置
23日前
キヤノン株式会社
印刷システム
1か月前
続きを見る
他の特許を見る