TOP
|
特許
|
意匠
|
商標
特許ウォッチ
Twitter
他の特許を見る
10個以上の画像は省略されています。
公開番号
2025175891
公報種別
公開特許公報(A)
公開日
2025-12-03
出願番号
2024082232
出願日
2024-05-20
発明の名称
媒体処理装置
出願人
沖電気工業株式会社
代理人
個人
主分類
G07D
11/26 20190101AFI20251126BHJP(チェック装置)
要約
【課題】保守性及びセキュリティ性を保ちつつ省スペース化する。
【解決手段】紙幣処理装置1は、内部空間と外部とを連通させる筐体前面開口部2Aが前側に形成された筐体2と、紙幣を収納する退避回収庫46を取り外し可能に有し、筐体2の内部空間に収納され、筐体前面開口部2Aから外部へ移動可能に構成された紙幣処理ユニット5とを設け、退避回収庫46は、筐体2の後側より紙幣処理ユニット5から取り外し可能であると共に、紙幣処理ユニット5が内部空間から外部へ移動した状態で筐体2の前側より紙幣処理ユニット5から取り外し可能であるようにする。
【選択図】図4
特許請求の範囲
【請求項1】
内部空間と外部とを連通させる筐体前面開口部が前側に形成された筐体と、
媒体を収納する収納庫を取り外し可能に有し、前記筐体の前記内部空間に収納され、前記筐体前面開口部から外部へ移動可能に構成された媒体処理ユニットと
を有し、
前記収納庫は、
前記筐体の後側より前記媒体処理ユニットから取り外し可能であると共に、前記媒体処理ユニットが前記内部空間から外部へ移動した状態で前記筐体の前記前側より前記媒体処理ユニットから取り外し可能である
媒体処理装置。
続きを表示(約 1,500 文字)
【請求項2】
前記筐体は、前記内部空間と外部とを連通させる筐体後面開口部が前記後側に形成されており、
前記筐体の前記後側より前記媒体処理ユニットから前記収納庫が取り外される場合、前記媒体処理ユニットが前記内部空間に収納された状態で、前記筐体後面開口部から前記収納庫が取り外し可能である
請求項1に記載の媒体処理装置。
【請求項3】
外部の搬送路と接続された状態の前記収納庫の位置である収納位置から、該収納位置よりも前記後側の後方位置まで、前記媒体処理ユニットに対し前記収納庫を移動させる移動機構
をさらに有し、
前記筐体の前記後側より前記媒体処理ユニットから前記収納庫が取り外される場合、前記媒体処理ユニットが前記筐体に収納された状態で、前記収納庫が前記収納位置から前記後方位置まで移動してから、前記収納位置にある前記収納庫に収納された前記媒体の厚さ方向が沿う上方向、又は、前記上方向に対し傾斜した方向へ前記筐体の前記後側から前記収納庫が取り外し可能であり、
前記筐体の前記前側より前記媒体処理ユニットから前記収納庫が取り外される場合、前記媒体処理ユニットが前記筐体から前記前側へ移動してから前記筐体の前記前側から前記上方向へ前記収納庫が取り外し可能である
請求項2に記載の媒体処理装置。
【請求項4】
前記収納庫は、該収納庫の前記前側に接続された搬送路から搬送された前記媒体を収納する
請求項3に記載の媒体処理装置。
【請求項5】
前記収納庫は、前記媒体処理ユニットの前記後側の端部に取り外し可能に設けられている
請求項1に記載の媒体処理装置。
【請求項6】
前記収納庫は、前記媒体処理ユニットの前記後側の端部における上側の端部に取り外し可能に設けられている
請求項5に記載の媒体処理装置。
【請求項7】
外部の搬送路と接続された状態の前記収納庫の位置である収納位置から、該収納位置よりも前記後側の後方位置まで、前記媒体処理ユニットに対し前記収納庫を移動させる移動機構
をさらに有し、
前記筐体の前記後側より前記媒体処理ユニットから前記収納庫が取り外される場合、前記媒体処理ユニットが前記筐体に収納された状態で、前記収納庫が前記収納位置から前記後方位置まで移動してから前記筐体の前記後側から前記収納庫が取り外し可能である
請求項2に記載の媒体処理装置。
【請求項8】
前記筐体の前記後側より前記媒体処理ユニットから前記収納庫が取り外される場合、前記媒体処理ユニットが前記筐体に収納された状態で、前記収納庫が下部に設けられた軸を中心に前記後側に回動してから前記筐体の前記後側から前記収納庫が取り外し可能である
請求項7に記載の媒体処理装置。
【請求項9】
前記筐体の前記後側より前記媒体処理ユニットから前記収納庫が取り外される場合、前記媒体処理ユニットが前記筐体に収納された状態で、前記収納庫が下部に設けられた軸を中心に前記後側に回動してから、前記収納庫が上下方向に対し傾斜した方向に沿って前記筐体の前記後側から前記収納庫が取り外し可能である
請求項8に記載の媒体処理装置。
【請求項10】
前記筐体の前記後側より前記媒体処理ユニットから前記収納庫が取り外される場合、前記媒体処理ユニットが前記筐体に収納された状態で、前記収納庫が前記媒体処理ユニットに対し後側へスライド移動してから前記筐体の前記後側から前記収納庫が取り外し可能である
請求項7に記載の媒体処理装置。
(【請求項11】以降は省略されています)
発明の詳細な説明
【技術分野】
【0001】
本発明は媒体処理装置に関し、例えばスーパーマーケットやコンビニエンスストア等のような小売店舗の精算所又はバックヤードにおいて使用されるシステムに適用して好適なものである。
続きを表示(約 1,900 文字)
【背景技術】
【0002】
従来、筐体の後面側から収納庫が引き出され、該収納庫に対して媒体としての紙幣が補充又は回収される媒体処理装置が提案されている(例えば、特許文献1参照)。
【先行技術文献】
【特許文献】
【0003】
特開平4-84294号公報
【発明の概要】
【発明が解決しようとする課題】
【0004】
このような媒体処理装置においては、保守性及びセキュリティ性を保ちつつ省スペース化することが望まれている。
【0005】
本発明は以上の点を考慮してなされたもので、保守性及びセキュリティ性を保ちつつ省スペース化し得る媒体処理装置を提案しようとするものである。
【課題を解決するための手段】
【0006】
かかる課題を解決するため本発明の媒体処理装置においては、内部空間と外部とを連通させる筐体前面開口部が前側に形成された筐体と、媒体を収納する収納庫を取り外し可能に有し、筐体の内部空間に収納され、筐体前面開口部から外部へ移動可能に構成された媒体処理ユニットとを設け、収納庫は、筐体の後側より媒体処理ユニットから取り外し可能であると共に、媒体処理ユニットが内部空間から外部へ移動した状態で筐体の前側より媒体処理ユニットから取り外し可能であるようにした。
【0007】
これにより本発明は、セキュリティ性が高い筐体の後側に必要なスペースを省スペース化すると共に、筐体の前側からの保守性を維持することができる。
【発明の効果】
【0008】
本発明によれば、セキュリティ性が高い筐体の後側に必要なスペースを省スペース化すると共に、筐体の前側からの保守性を維持することができる。かくして本発明は、保守性及びセキュリティ性を保ちつつ省スペース化し得る媒体処理装置を実現できる。
【図面の簡単な説明】
【0009】
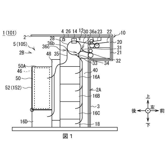
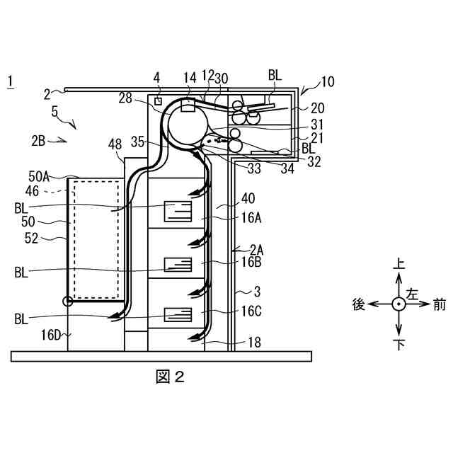
第1及び第2の実施の形態による紙幣処理装置の内部構成を示す左側面図である。
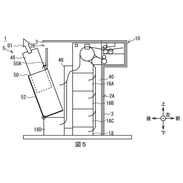
第1の実施の形態による入金処理時における紙幣の搬送を示す左側面図である。
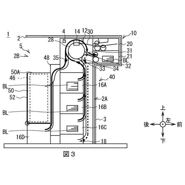
第1の実施の形態による出金処理時における紙幣の搬送を示す左側面図である。
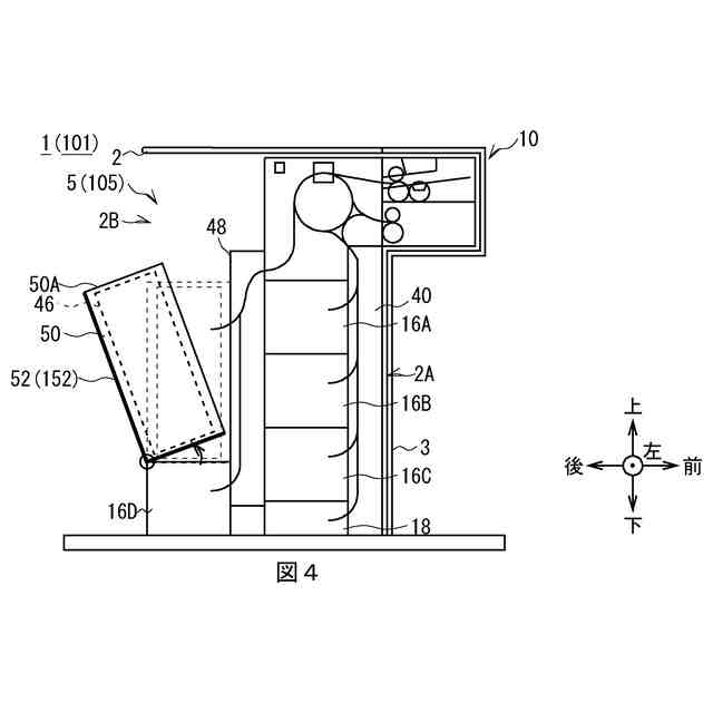
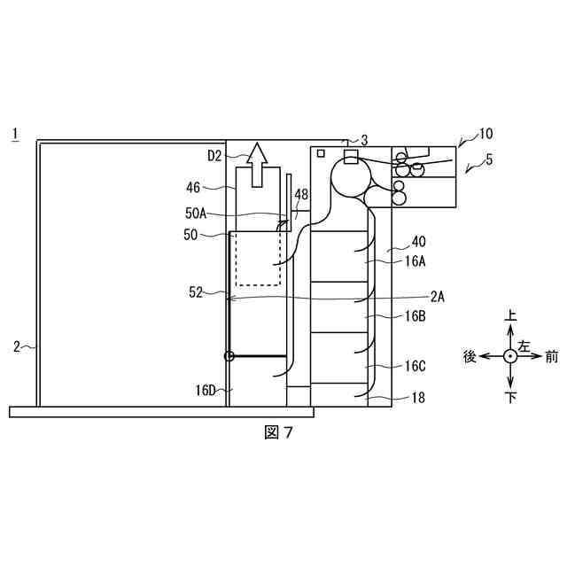
第1及び第2の実施の形態による後面側からの退避回収庫の取り外し(1)を示す左側面図である。
第1の実施の形態による後面側からの退避回収庫の取り外し(2)を示す左側面図である。
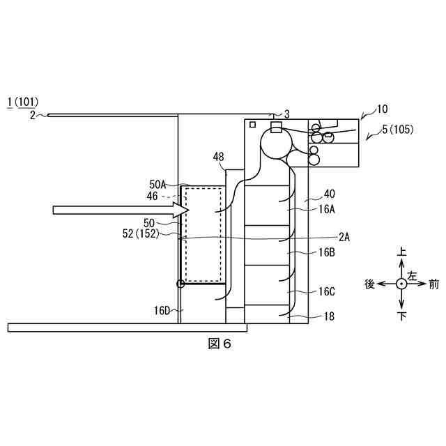
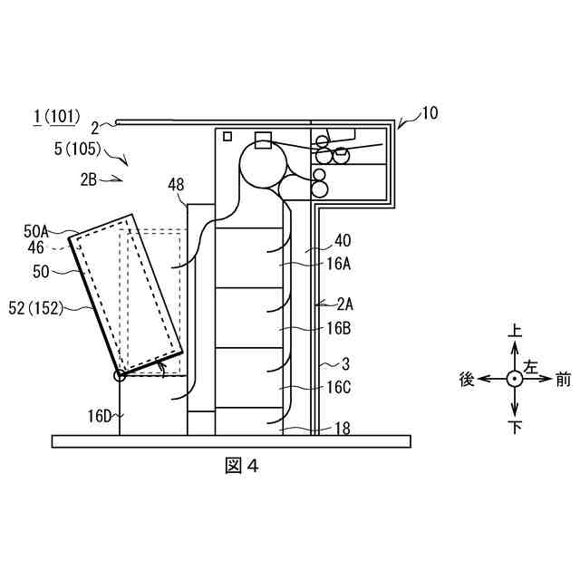
第1及び第2の実施の形態による前面側からの退避回収庫の取り外し(1)を示す左側面図である。
第1の実施の形態による前面側からの退避回収庫の取り外し(2)を示す左側面図である。
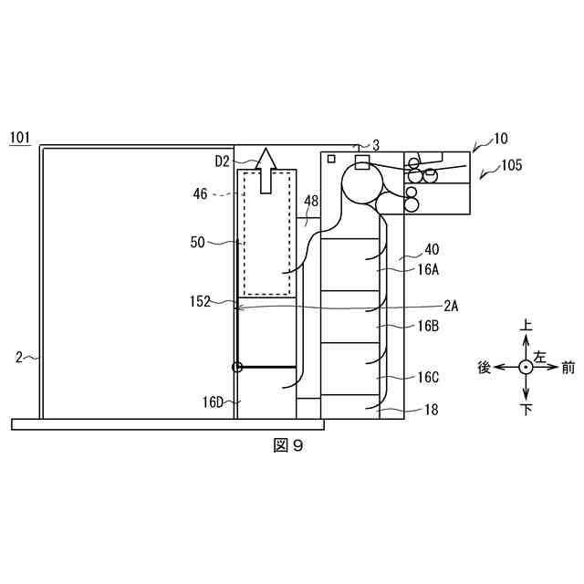
第2の実施の形態による後面側からの退避回収庫の取り外し(2)を示す左側面図である。
第2の実施の形態による前面側からの退避回収庫の取り外し(2)を示す左側面図である。
第3及び第4の実施の形態による紙幣処理装置の内部構成を示す左側面図である。
第3及び第4の実施の形態による後面側からの退避回収庫の取り外し(1)を示す左側面図である。
第3の実施の形態による後面側からの退避回収庫の取り外し(2)を示す左側面図である。
第3及び第4の実施の形態による前面側からの退避回収庫の取り外し(1)を示す左側面図である。
第3の実施の形態による前面側からの退避回収庫の取り外し(2)を示す左側面図である。
第4の実施の形態による後面側からの退避回収庫の取り外し(2)を示す左側面図である。
第4の実施の形態による前面側からの退避回収庫の取り外し(2)を示す左側面図である。
第5の実施の形態による紙幣処理装置の内部構成を示す左側面図である。
第5の実施の形態による前面側からの退避回収庫の取り外しを示す左側面図である。
第5の実施の形態による後面側からの退避回収庫の取り外しを示す左側面図である。
第6の実施の形態による紙幣処理装置の内部構成を示す左側面図である。
第6の実施の形態による前面側からの退避回収庫の取り外しを示す左側面図である。
第6の実施の形態による後面側からの退避回収庫の取り外しを示す左側面図である。
【発明を実施するための形態】
【0010】
以下、発明を実施するための形態(以下実施の形態とする)について、図面を用いて説明する。
(【0011】以降は省略されています)
この特許をJ-PlatPat(特許庁公式サイト)で参照する
関連特許
沖電気工業株式会社
媒体処理装置
今日
沖電気工業株式会社
媒体処理装置
今日
沖電気工業株式会社
媒体処理装置
今日
沖電気工業株式会社
媒体処理装置
今日
沖電気工業株式会社
画像形成装置
今日
沖電気工業株式会社
画像形成装置
5日前
沖電気工業株式会社
画像形成装置
6日前
沖電気工業株式会社
画像形成装置、画像形成媒体及び画像形成方法
5日前
沖電気工業株式会社
情報処理装置、情報処理方法およびプログラム
13日前
沖電気工業株式会社
情報処理方法、情報処理プログラム及び情報処理システム
5日前
沖電気工業株式会社
情報処理方法、情報処理プログラム、及び情報処理装置
26日前
個人
自動販売機
6日前
株式会社イシダ
商品処理装置
2か月前
株式会社バンダイ
物品供給装置
4か月前
株式会社バンダイ
物品供給装置
4か月前
株式会社バンダイ
物品供給装置
4か月前
株式会社バンダイ
物品供給装置
4か月前
株式会社タムラ製作所
自動販売機
21日前
富士電機株式会社
通貨識別装置
4か月前
沖電気工業株式会社
媒体処理装置
3か月前
沖電気工業株式会社
媒体処理装置
3か月前
沖電気工業株式会社
媒体処理装置
3か月前
アサヒ飲料株式会社
遠隔決済方法
26日前
沖電気工業株式会社
施錠開閉装置
1か月前
沖電気工業株式会社
媒体処理装置
今日
沖電気工業株式会社
媒体処理装置
今日
沖電気工業株式会社
媒体処理装置
今日
沖電気工業株式会社
媒体処理装置
今日
沖電気工業株式会社
紙幣処理装置
3か月前
株式会社ライト
情報処理装置
4か月前
株式会社ライト
情報処理装置
3か月前
株式会社ライト
情報処理装置
3か月前
富士電機株式会社
自動販売機
3か月前
富士電機株式会社
金銭処理装置
4か月前
株式会社デンソー
車載器
2か月前
グローリー株式会社
硬貨処理装置
4か月前
続きを見る
他の特許を見る