TOP
|
特許
|
意匠
|
商標
特許ウォッチ
Twitter
他の特許を見る
10個以上の画像は省略されています。
公開番号
2025177517
公報種別
公開特許公報(A)
公開日
2025-12-05
出願番号
2024084426
出願日
2024-05-23
発明の名称
生体認証システム
出願人
株式会社アスタリスク
代理人
個人
,
個人
主分類
G07C
9/37 20200101AFI20251128BHJP(チェック装置)
要約
【課題】生体情報を複数の用途に用いた生体情報システムを提供する。
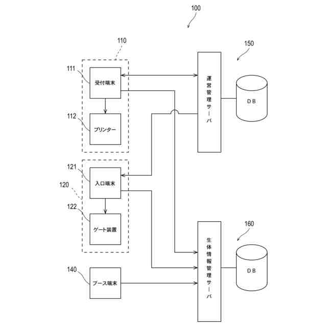
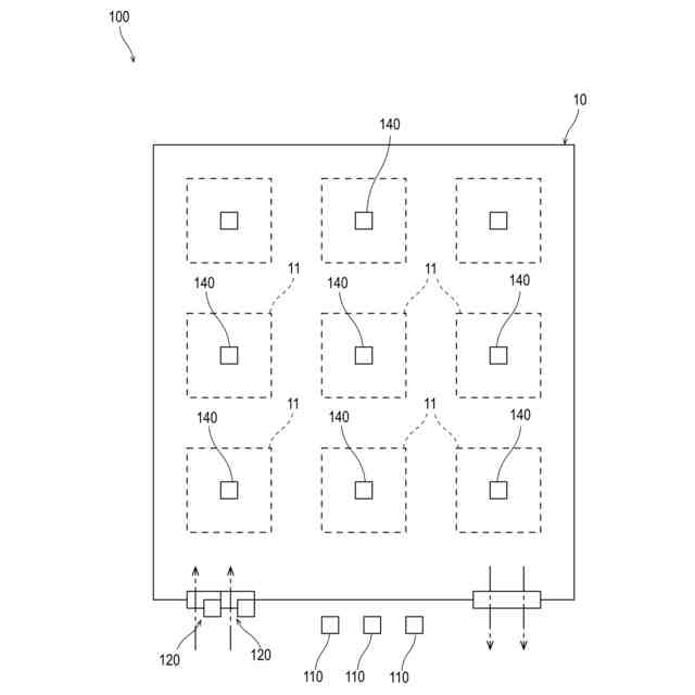
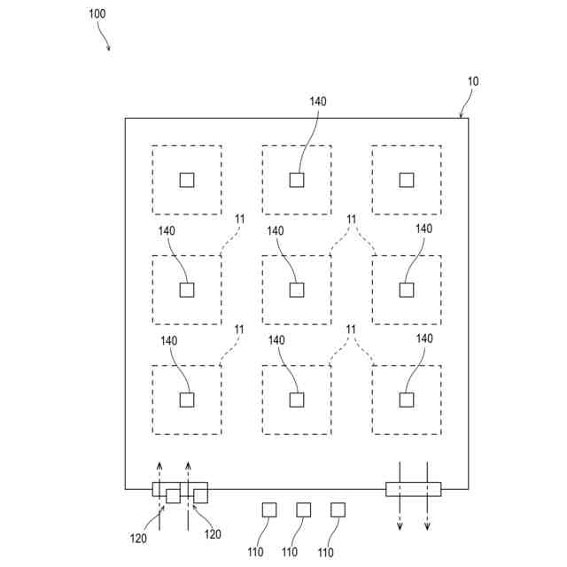
【解決手段】生体情報システム100は、展示会への入口に設置され、当該展示会に入場する来場者の生体情報を取得する入口端末111と、前記展示会のブースに対応配置され、前記来場者の生体情報を取得するブース端末140と、前記来場者の生体情報を記憶する生体情報記憶部と、前記生体情報記憶部に記憶された生体情報に基づいて、前記入口端末111が取得した生体情報に対応する来場者を特定し、また、前記生体情報記憶部に記憶された生体情報に基づいて、前記ブース端末140が取得した生体情報に対応する来場者を特定する特定部と、前記特定部による前記来場者の特定に基づいて、当該来場者の前記施設への入場を管理し、また、前記特定部による前記来場者の特定に基づいて、当該来場者の前記設備における行動を管理する管理部と、を備える。
【選択図】図1
特許請求の範囲
【請求項1】
施設への入口に設置され、当該施設に入場する来場者の生体情報を取得する第1取得部と、
前記施設内の設備に対応配置され、前記来場者の生体情報を取得する第2取得部と、
前記来場者の生体情報を記憶する生体情報記憶部と、
前記生体情報記憶部に記憶された生体情報に基づいて、前記第1取得部が取得した生体情報に対応する来場者を特定し、また、前記生体情報記憶部に記憶された生体情報に基づいて、前記第2取得部が取得した生体情報に対応する来場者を特定する特定部と、
前記特定部による前記来場者の特定に基づいて、当該来場者の前記施設への入場を管理し、また、前記特定部による前記来場者の特定に基づいて、当該来場者の前記設備における行動を管理する管理部と、
を備える、生体情報システム。
続きを表示(約 960 文字)
【請求項2】
前記施設の出口に設置され、当該施設から退場する来場者の生体情報を取得する第3取得部と、
前記生体情報記憶部に記憶された生体情報に基づいて、前記第3取得部が取得した生体情報に対応する来場者を特定する前記特定部と、
前記特定部による前記来場者の特定に基づいて、当該来場者の前記施設の退場を管理する前記管理部と、
を備える、請求項1に記載の生体情報システム。
【請求項3】
前記来場者の生体情報を取得する第4取得部と、
前記第4取得部によって取得した生体情報を前記生体情報記憶部に登録する登録部と、
を備える、請求項1に記載の生体情報システム。
【請求項4】
前記施設は、展示会が開催される会場であり、
前記設備は、前記会場内に設けられたブースであり、
前記来場者の前記設備における行動は、当該来場者の前記ブースへの訪問である、請求項1から請求項3のいずれか1項に記載の生体情報システム。
【請求項5】
前記設備は、前記施設内に設けられた更衣ロッカー本体を含み、
前記来場者の前記設備における行動は、当該来場者による更衣ロッカー本体への衣類の保管である、請求項1から請求項3のいずれか1項に記載の生体情報システム。
【請求項6】
前記設備は、前記施設内に設けられた貴重品ロッカー本体を含み、
前記来場者の前記設備における行動は、当該来場者による前記貴重品ロッカー本体への貴重品の保管である、請求項1から請求項3のいずれか1項に記載の生体情報システム。
【請求項7】
前記設備は、前記施設内に設けられた売店を含み、
前記来場者の前記設備における行動は、当該来場者による前記売店における商品の購入である、請求項1から請求項3のいずれか1項に記載の生体情報システム。
【請求項8】
前記施設は、遊園地であり、
前記設備は、前記遊園地の敷地内に設けられたアトラクションであり、
前記来場者の前記設備における行動は、当該来場者による前記アトラクションの利用である、請求項1から請求項3のいずれか1項に記載の生体情報システム。
発明の詳細な説明
【技術分野】
【0001】
本発明は、人物の生体情報を用いたシステムに関する。
続きを表示(約 1,700 文字)
【背景技術】
【0002】
人物の生体情報を用いたシステムが、様々な分野において提案されている。例えば、特許文献1には、住宅に入る際に顔認証を行うシステムが記載されている。当該システムは、カメラと、情報処理装置と、を備えている。カメラは、住宅に入ろうとする人物の顔を撮像し、画像を生成する。情報処理装置は、認証対象となる家族の顔画像を記憶する記憶部と、カメラから取得した画像と記憶した顔画像とを照合することで当該人物を認証する演算処理部と、を有しており、演算処理部による認証が成功した場合に、住宅のドアのロックを解除する。
【0003】
また、特許文献2には、食堂において顔認証を行うシステムが記載されている。当該システムは、リーダと、カメラと、情報処理装置と、を備えている。リーダは、レジまで運ばれてきた食品の識別情報を取得する。カメラは、レジにおける利用者の顔を撮像し、画像を生成する。情報処理装置は、利用者の顔画像と当該利用者の決済情報を予め対応付けて記憶する記憶部と、カメラから取得した画像と記憶された顔画像に基づいて利用者を認証し、リーダから取得した食品の識別情報に基づいて食品の価格を特定し、認証した利用者の決済情報に基づいて食品の料金の決済を行うものである。
【先行技術文献】
【特許文献】
【0004】
特開2024-058267号公報
特開2023-126915号公報
【発明の概要】
【発明が解決しようとする課題】
【0005】
特許文献1に記載の技術は住宅への出入りに特化した技術であり、特許文献2に記載の技術は食堂における決済に特化した技術である。このように、従来では、生体情報を特定の用途に用いる技術が提案されている。しかし、生体情報を複数の用途に用いた技術はこれまで提案されていない。
【0006】
そこで、本発明は、生体情報を複数の用途に用いた生体情報システムを提供することを目的とする。
【課題を解決するための手段】
【0007】
上記目的を達成するため、本発明の生体情報システムは、施設への入口に設置され、当該施設に入場する来場者の生体情報を取得する第1取得部と、前記施設内の設備に対応配置され、前記来場者の生体情報を取得する第2取得部と、前記来場者の生体情報を記憶する生体情報記憶部と、前記生体情報記憶部に記憶された生体情報に基づいて、前記第1取得部が取得した生体情報に対応する来場者を特定し、また、前記生体情報記憶部に記憶された生体情報に基づいて、前記第2取得部が取得した生体情報に対応する来場者を特定する特定部と、前記特定部による前記来場者の特定に基づいて、当該来場者の前記施設への入場を管理し、また、前記特定部による前記来場者の特定に基づいて、当該来場者の前記設備における行動を管理する管理部と、を備えることを特徴とする。
【0008】
また、上記生体情報システムは、前記施設の出口に設置され、当該施設から退場する来場者の生体情報を取得する第3取得部と、前記生体情報記憶部に記憶された生体情報に基づいて、前記第3取得部が取得した生体情報に対応する来場者を特定する前記特定部と、前記特定部による前記来場者の特定に基づいて、当該来場者の前記施設の退場を管理する前記管理部と、を備えることを特徴とする。
【0009】
また、上記生体情報システムは、前記来場者の生体情報を取得する第4取得部と、前記第4取得部によって取得した生体情報を前記生体情報記憶部に登録する登録部と、を備えることを特徴とする。
【0010】
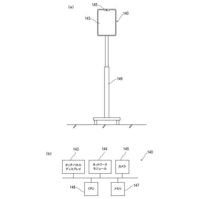
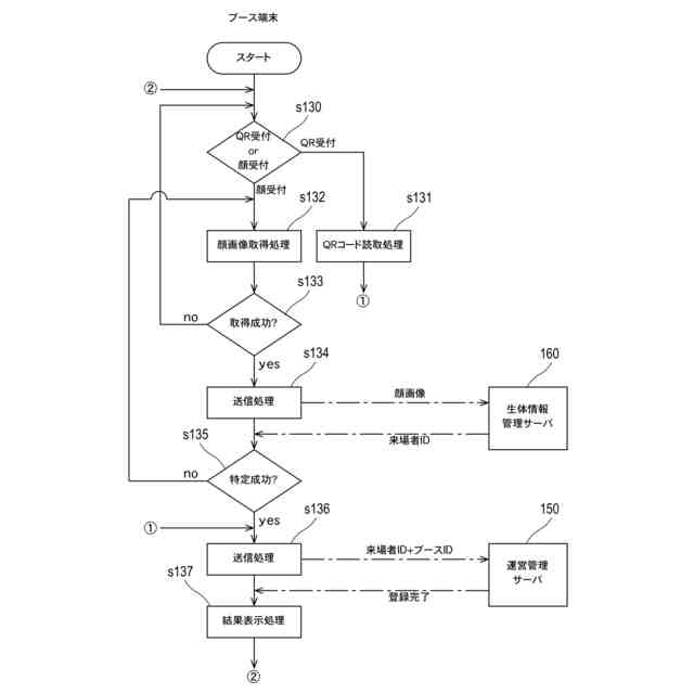
また、上記生体情報システムにおいて、前記施設は、展示会が開催される会場であり、前記設備は、前記会場内に設けられたブースであり、前記来場者の前記設備における行動は、当該来場者の前記ブースへの訪問であることを特徴とする。
(【0011】以降は省略されています)
この特許をJ-PlatPat(特許庁公式サイト)で参照する
関連特許
株式会社アスタリスク
生体認証システム
3日前
個人
自動販売機
11日前
株式会社イシダ
商品処理装置
2か月前
株式会社タムラ製作所
自動販売機
26日前
沖電気工業株式会社
施錠開閉装置
2か月前
沖電気工業株式会社
媒体処理装置
5日前
沖電気工業株式会社
媒体処理装置
3か月前
沖電気工業株式会社
媒体処理装置
5日前
アサヒ飲料株式会社
遠隔決済方法
1か月前
沖電気工業株式会社
媒体処理装置
5日前
沖電気工業株式会社
媒体処理装置
5日前
沖電気工業株式会社
紙幣処理装置
3か月前
沖電気工業株式会社
媒体処理装置
3か月前
沖電気工業株式会社
媒体処理装置
3か月前
富士電機株式会社
自動販売機
3か月前
株式会社ライト
情報処理装置
3か月前
株式会社ライト
情報処理装置
3か月前
株式会社デンソー
車載器
2か月前
富士電機株式会社
金銭処理装置
4か月前
グローリー株式会社
物品投出装置
3か月前
グローリー株式会社
貨幣処理装置
1か月前
株式会社寺岡精工
商品登録システム
1か月前
株式会社トイスピリッツ
景品提供システム
3か月前
日本金銭機械株式会社
硬貨処理装置
2か月前
アサヒ飲料株式会社
自動販売機の決済方法
1か月前
日本金銭機械株式会社
硬貨処理装置
2か月前
株式会社知財事業研究所
特殊駐車場システム
20日前
株式会社寺岡精工
販売データ処理装置
1か月前
ユニティガードシステム株式会社
入館監視システム
3か月前
沖電気工業株式会社
現金処理装置
3か月前
沖電気工業株式会社
棒金収納装置
3か月前
沖電気工業株式会社
現金処理装置及び印字装置
2か月前
旭精工株式会社
紙葉類処理装置および紙葉類処理方法
2か月前
沖電気工業株式会社
媒体処理装置
3か月前
株式会社アスタリスク
生体認証システム
3日前
沖電気工業株式会社
棒金収納装置
2か月前
続きを見る
他の特許を見る