TOP
|
特許
|
意匠
|
商標
特許ウォッチ
Twitter
他の特許を見る
公開番号
2025168804
公報種別
公開特許公報(A)
公開日
2025-11-12
出願番号
2024073569
出願日
2024-04-30
発明の名称
選択装置及びこれを備えた自動販売機
出願人
株式会社タムラ製作所
代理人
主分類
G07F
9/00 20060101AFI20251105BHJP(チェック装置)
要約
【課題】製造コストを抑制すると共に展示用物品のレイアウトを容易に変更することができる選択装置及びこれを備えた自動販売機を提供する。
【解決手段】選択装置1は、本体80と本体80に取り付けられたパネル83との間の収容空間85に収容された複数の展示用物品7に対応して設けられ、複数の展示用物品7から所望の展示用物品7を選択する際、利用者9の操作の目標となる複数の操作目標14と、収容空間85に配置され、利用者9がパネル83を介して視認可能な表面100に複数の操作目標14を有する操作目標部材10と、互いに離れて操作目標部材10に配置され、パネル83を介して所望の展示用物品7の操作目標14に対してなされた操作に基づいて操作目標部材10に生じる物理量の変化を検出する複数の検出部と、を備えて概略構成されている。
【選択図】図3
特許請求の範囲
【請求項1】
筐体と前記筐体に取り付けられたパネルとの間の収容空間に収容された複数の展示用物品に対応して設けられ、複数の前記展示用物品から所望の前記展示用物品を選択する際、利用者の操作の目標となる複数の操作目標と、
前記収容空間に配置され、前記利用者が前記パネルを介して視認可能な表面に複数の前記操作目標を有する操作目標部材と、
互いに離れて前記操作目標部材に配置され、前記パネルを介して所望の前記展示用物品の前記操作目標に対してなされた前記操作に基づいて前記操作目標部材に生じる物理量の変化を検出する複数の検出部と、
を備えた選択装置。
続きを表示(約 510 文字)
【請求項2】
複数の前記操作目標は、前記表面に一列に並んで設けられ、
複数の前記検出部は、一列に並んだ複数の前記操作目標の両端部に対応した前記操作目標部材の一方端部及び他方端部に配置された、
請求項1に記載の選択装置。
【請求項3】
複数の前記検出部は、前記操作目標部材の前記一方端部及び前記他方端部であって前記表面の反対の面に配置される、
請求項2に記載の選択装置。
【請求項4】
前記操作目標部材は、複数の前記展示用物品が載せられる台座部材と一体である、
請求項3に記載の選択装置。
【請求項5】
前記検出部は、前記操作に基づいて前記パネルを介して前記操作目標部材に伝播した振動に基づく変形量を前記物理量として検出する、
請求項4に記載の選択装置。
【請求項6】
請求項1乃至5のいずれか1項に記載の選択装置を備えた自動販売機。
【請求項7】
複数の前記検出部から取得した複数の出力値に基づいて前記利用者が選択した前記展示用物品を判定する判定部を備えた、
請求項6に記載の自動販売機。
発明の詳細な説明
【技術分野】
【0001】
本発明は、選択装置及びこれを備えた自動販売機に関する。
続きを表示(約 1,500 文字)
【背景技術】
【0002】
従来の技術として、前扉の前面パネルの内側に、複数の商品見本が横方向に配列して示してあると共に、商品見本の列が縦方向に間隔をもって複数配置された構造を含んでなる展示部と、商品見本の列の間にて、商品見本毎に前面パネルに設置される、商品選択のための選択指示ボタンと、を備えた自動販売機が知られている(例えば、特許文献1参照。)。
【先行技術文献】
【特許文献】
【0003】
特開2014-021697号公報
【発明の概要】
【発明が解決しようとする課題】
【0004】
従来の自動販売機は、選択指示ボタンが前面パネルの外側に配置されるので、前面パネルを加工する必要があることから製造コストが掛かり、また加工した後、レイアウトの変更ができない問題がある。
【0005】
従って本発明の目的は、製造コストを抑制すると共に展示用物品のレイアウトを容易に変更することができる選択装置及びこれを備えた自動販売機を提供することにある。
【課題を解決するための手段】
【0006】
本発明の一態様は、筐体と筐体に取り付けられたパネルとの間の収容空間に収容された複数の展示用物品に対応して設けられ、複数の展示用物品から所望の展示用物品を選択する際、利用者の操作の目標となる複数の操作目標と、収容空間に配置され、利用者がパネルを介して視認可能な表面に複数の操作目標を有する操作目標部材と、互いに離れて操作目標部材に配置され、パネルを介して所望の展示用物品の操作目標に対してなされた操作に基づいて操作目標部材に生じる物理量の変化を検出する複数の検出部と、を備えた選択装置を提供する。
【発明の効果】
【0007】
本発明によれば、製造コストを抑制すると共に展示用物品のレイアウトを容易に変更することができる。
【図面の簡単な説明】
【0008】
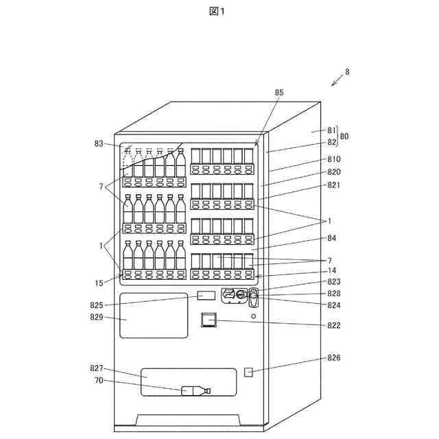
図1は、実施の形態に係る選択装置を複数備えた自動販売機の一例を示す図である。
図2は、実施の形態に係る自動販売機のブロック図の一例である。
図3は、実施の形態に係る選択装置の一例を示す斜視図である。
図4は、実施の形態に係る選択装置に伝播する振動の一例について説明するための図である。
図5は、実施の形態に係る選択装置における展示用物品の選択の一例について説明するための図である。
図6は、実施の形態に係る選択装置の第1のセンサ及び第2のセンサが出力する出力値の一例を示すグラフである。
【発明を実施するための形態】
【0009】
(実施の形態の要約)
実施の形態に係る選択装置は、筐体と筐体に取り付けられたパネルとの間の収容空間に収容された複数の展示用物品に対応して設けられ、複数の展示用物品から所望の展示用物品を選択する際、利用者の操作の目標となる複数の操作目標と、収容空間に配置され、利用者がパネルを介して視認可能な表面に複数の操作目標を有する操作目標部材と、互いに離れて操作目標部材に配置され、パネルを介して所望の展示用物品の操作目標に対してなされた操作に基づいて操作目標部材に生じる物理量の変化を検出する複数の検出部と、を備えて概略構成されている。
【0010】
この選択装置は、パネルの加工が必要ないので、パネルを加工して展示用物品及び展示用物品を選択するためのボタンを配置する場合と比べて、製造コストを抑制すると共に展示用物品のレイアウトを容易に変更することができる。
(【0011】以降は省略されています)
この特許をJ-PlatPat(特許庁公式サイト)で参照する
関連特許
株式会社イシダ
商品処理装置
1か月前
株式会社タムラ製作所
自動販売機
2日前
沖電気工業株式会社
媒体処理装置
2か月前
沖電気工業株式会社
媒体処理装置
3か月前
アサヒ飲料株式会社
遠隔決済方法
7日前
沖電気工業株式会社
紙幣処理装置
2か月前
沖電気工業株式会社
媒体処理装置
2か月前
沖電気工業株式会社
施錠開閉装置
1か月前
株式会社ライト
情報処理装置
2か月前
富士電機株式会社
自動販売機
2か月前
株式会社ライト
情報処理装置
2か月前
株式会社デンソー
車載器
1か月前
富士電機株式会社
金銭処理装置
3か月前
グローリー株式会社
貨幣処理装置
7日前
グローリー株式会社
物品投出装置
2か月前
アサヒ飲料株式会社
自動販売機の決済方法
7日前
日本金銭機械株式会社
硬貨処理装置
1か月前
日本金銭機械株式会社
硬貨処理装置
1か月前
株式会社寺岡精工
商品登録システム
28日前
株式会社トイスピリッツ
景品提供システム
3か月前
ユニティガードシステム株式会社
入館監視システム
3か月前
株式会社寺岡精工
販売データ処理装置
23日前
沖電気工業株式会社
棒金収納装置
1か月前
沖電気工業株式会社
媒体処理装置
2か月前
旭精工株式会社
紙葉類処理装置および紙葉類処理方法
1か月前
沖電気工業株式会社
現金処理装置及び印字装置
1か月前
沖電気工業株式会社
現金処理装置
2か月前
沖電気工業株式会社
棒金収納装置
2か月前
独立行政法人 国立印刷局
画像観察装置及び画像観察方法
2か月前
沖電気工業株式会社
媒体識別装置及び媒体処理装置
2か月前
株式会社東芝
ドア構造
2か月前
沖電気工業株式会社
硬貨処理装置及び貨幣取扱装置
3か月前
中井銘鈑株式会社
商品見本取付け構造
3か月前
株式会社バンダイ
物品供給装置、及び物品供給装置セット
1か月前
三菱電機株式会社
人流情報取得システム
17日前
株式会社タムラ製作所
選択装置及びこれを備えた自動販売機
2日前
続きを見る
他の特許を見る