TOP
|
特許
|
意匠
|
商標
特許ウォッチ
Twitter
他の特許を見る
公開番号
2025177382
公報種別
公開特許公報(A)
公開日
2025-12-05
出願番号
2024084168
出願日
2024-05-23
発明の名称
確認システムおよび確認装置
出願人
グローリー株式会社
代理人
個人
,
個人
主分類
G07B
15/00 20110101AFI20251128BHJP(チェック装置)
要約
【課題】利用券の券面の表示を読み取り、表示内容に応じて利用券の効力に応じた処理を行う装置およびシステムを提供する。
【解決手段】改札に設けられる乗車券の確認装置100であって、改札機200の入場側と出場側とに設けられ、乗車券の券面を撮影する撮影部と、撮影部により撮影された画像から情報を取得する取得部と、取得部により取得された情報に基づき、乗車券の利用が有効か否かを判定する判定部と、を備える。判定結果に応じて、改札機200の扉が制御され、利用者の通行が許可される。
【選択図】図1
特許請求の範囲
【請求項1】
乗車券の券面を撮影する撮影部と、
前記撮影部により撮影された画像から情報を取得する取得部と、
前記取得部により取得された情報に基づき、前記乗車券の利用が有効か否かを判定する判定部と、
を備える確認システム。
続きを表示(約 1,100 文字)
【請求項2】
前記判定部による判定結果に応じて、改札機のゲートの状態を制御するための制御情報を当該改札機へ送信する制御部をさらに備える、請求項1に記載の確認システム。
【請求項3】
前記判定部による判定結果に応じて、改札機を通行するための券を発行する発行部をさらに備える、請求項1に記載の確認システム。
【請求項4】
前記判定部による判定結果に応じて、改札機のゲートの状態を制御するため、前記乗車券の利用者の生体情報を当該改札機へ送信する制御部をさらに備える、請求項1に記載の確認システム。
【請求項5】
前記取得部は、前記乗車券の券面の画像から1または複数の日付の記録を取得し、
前記判定部は、取得された日付に、当日の日付が含まれていることを条件の一つとして前記乗車券を有効と判定する、
請求項1に記載の確認システム。
【請求項6】
情報出力を制御する制御部をさらに備え、
前記判定部は、取得された日付に当日の日付が含まれていない場合に前記乗車券を無効と判定し、
前記制御部は、無効と判定された前記乗車券の情報を管理センターへ通知する、
請求項5に記載の確認システム。
【請求項7】
情報出力を制御する制御部をさらに備え、
前記判定部は、取得された日付のうち最後の日付が前日の日付である場合、前記乗車券の判定を保留し、
前記制御部は、前記判定部による判定結果の保留に応じて、利用者に精算の実行を要求する通知を行う、
請求項5に記載の確認システム。
【請求項8】
所定の特定区間では、前記判定部は、取得された日付のうち最後の日付が前日の日付であっても前記乗車券を有効と判定する、請求項7に記載の確認システム。
【請求項9】
改札機を通過する利用者の数を計数する利用者数計数手段をさらに備え、
前記判定部は、取得された日付に複数の当日の日付が含まれている場合、前記利用者数計数手段により計数された利用者の数と当該当日の日付の数とが一致していることを条件の一つとして前記乗車券を有効と判定する、
請求項5に記載の確認システム。
【請求項10】
情報出力を制御する制御部をさらに備え、
前記判定部は、前記利用者数計数手段により計数された利用者の数と前記当日の日付の数とが一致していない場合、前記乗車券の判定を保留し、
前記制御部は、前記判定部による判定結果の保留に応じて、前記乗車券の情報を管理センターへ通知する、
請求項9に記載の確認システム。
(【請求項11】以降は省略されています)
発明の詳細な説明
【技術分野】
【0001】
本発明は、確認システムおよび確認装置に関する。
続きを表示(約 3,500 文字)
【背景技術】
【0002】
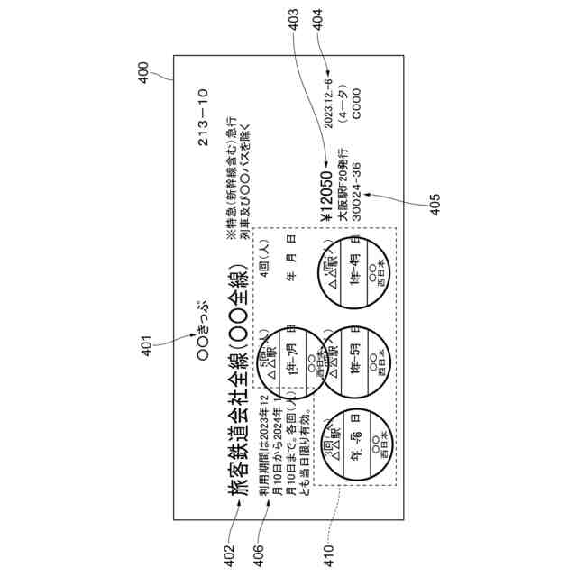
券面に表示された情報に基づき有効性が判定される利用券がある。例えば、旅客鉄道株式会社(JR)の「青春18きっぷ」は、最初の入場の際に日付を記録したスタンプが券面に付され、同日中は回数制限なく改札口の通過(入場および出場)が可能である。改札の際は、券面に付されたスタンプに記録されている日付に基づいて通過の可否が判定される。一方で、券面をカメラにより撮像して得られた情報に基づいて情報処理を行い、処理結果を出力する従来技術がある。
【0003】
特許文献1には、第1面に効力情報が印刷された利用券を所定の位置に載置させる載置台と、前記載置台を撮像するカメラと、前記カメラにより撮像された前記利用券の前記第1面の画像データに基づいて前記効力情報を取得するとともに、前記効力情報に応じた案内情報を取得する情報処理部と、表示装置を用いて前記案内情報を表示面に表示する表示制御部と、を備える案内システムが開示されている。
【先行技術文献】
【特許文献】
【0004】
特開2022-131926号公報
【発明の概要】
【発明が解決しようとする課題】
【0005】
鉄道の自動改札等、磁気や近距離無線通信を用いてデータ交換を行い、利用券の有効性を確認するシステムが普及しているが、そのような利用が難しい利用券に対しては依然として係員による改札業務等のように人による確認が行われている。機械的に利用券の券面の表示を読み取り、表示内容に応じて利用券の効力に応じた処理を行うことにより、改札業務等の有人業務に要する人員を削減可能とすることが期待される。
【0006】
本発明は、利用券の券面の表示を読み取り、表示内容に応じて利用券の効力に応じた処理を行う装置およびシステムを提供することを目的とする。
【課題を解決するための手段】
【0007】
上記の目的を達成する本発明は、乗車券の券面を撮影する撮影部と、前記撮影部により撮影された画像から情報を取得する取得部と、前記取得部により取得された情報に基づき、前記乗車券の利用が有効か否かを判定する判定部と、を備える確認システムである。
ここで、前記判定部による判定結果に応じて、改札機のゲートの状態を制御するための制御情報を当該改札機へ送信する制御部をさらに備える構成としても良い。
また、前記判定部による判定結果に応じて、改札機を通行するための券を発行する発行部をさらに備える構成としても良い。
また、前記判定部による判定結果に応じて、改札機のゲートの状態を制御するため、前記乗車券の利用者の生体情報を当該改札機へ送信する制御部をさらに備える構成としても良い。
また、前記取得部は、前記乗車券の券面の画像から1または複数の日付の記録を取得し、前記判定部は、取得された日付に、当日の日付が含まれていることを条件の一つとして前記乗車券を有効と判定する構成としても良い。
より詳細には、情報出力を制御する制御部をさらに備え、前記判定部は、取得された日付に当日の日付が含まれていない場合に前記乗車券を無効と判定し、前記制御部は、無効と判定された前記乗車券の情報を管理センターへ通知する構成としても良い。
また、情報出力を制御する制御部をさらに備え、前記判定部は、取得された日付のうち最後の日付が前日の日付である場合、前記乗車券の判定を保留し、前記制御部は、前記判定部による判定結果の保留に応じて、利用者に精算の実行を要求する通知を行う構成としても良い。
さらに、所定の特定区間では、前記判定部は、取得された日付のうち最後の日付が前日の日付であっても前記乗車券を有効と判定する構成としても良い。
また、改札機を通過する利用者の数を計数する利用者数計数手段をさらに備え、前記判定部は、取得された日付に複数の当日の日付が含まれている場合、前記利用者数計数手段により計数された利用者の数と当該当日の日付の数とが一致していることを条件の一つとして前記乗車券を有効と判定する構成としても良い。
さらに、情報出力を制御する制御部をさらに備え、前記判定部は、前記利用者数計数手段により計数された利用者の数と前記当日の日付の数とが一致していない場合、前記乗車券の判定を保留し、前記制御部は、前記判定部による判定結果の保留に応じて、前記乗車券の情報を管理センターへ通知する構成としても良い。
また、前記乗車券の券面に利用日の日付を記録する記録手段と、前記取得部により取得された日付に当日の日付が含まれていない場合に、前記記録手段に、前記乗車券の券面に当日の日付を記録させる制御部と、をさらに備える構成としても良い。
さらに、利用者数の入力を受け付ける受け付け手段をさらに備え、前記制御部は、前記記録手段に、前記受け付け手段により受け付けた利用者数に対応する数の当日の日付を、前記乗車券の券面に記録させる構成としても良い。
また、前記取得部は、前記乗車券の券面の画像から当該乗車券の利用期限の記録を取得し、前記判定部は、取得された利用期限内の利用であることを条件の一つとして前記乗車券を有効と判定する構成としても良い。
また、情報出力を制御する制御部をさらに備え、前記判定部は、取得された利用期限内の利用でない場合に前記乗車券を無効と判定し、前記制御部は、前記判定部による有効の判定結果に応じて、無効と判定された前記乗車券の情報を管理センターへ通知する構成としても良い。
また、前記取得部は、入場に伴って前記乗車券の券面に付加された情報を、出場の際に撮影された当該乗車券の券面の画像から取得し、前記判定部は、取得された前記情報と出場場所とに基づき、前記乗車券が有効か否かを判定する構成としても良い。
より詳細には、前記取得部は、入場に伴って前記乗車券の券面に付加された前記情報として、入場場所、日付、支払われた金額のうち少なくとも一つを取得する構成としても良い。
また、情報出力を制御する制御部をさらに備え、前記取得部は、前記乗車券の利用履歴を表す記録を取得し、前記判定部は、取得された前記利用履歴に基づき前記乗車券の利用回数を計数し、前記制御部は、前記乗車券の利用回数が所定回数に達した場合に、利用者に通知する構成としても良い。
また、前記乗車券が利用できない車両に関する情報を利用者に報知する報知部を備える構成としても良い。
また、利用者が前記利用できない車両を利用したか否かを確認する確認部をさらに備える構成としても良い。
また、上記の目的を達成する他の本発明は、通路を通るための通行券の券面を撮影する撮影部と、前記撮影部により撮影された画像を解析する解析部と、前記解析部による解析結果に基づき、前記通行券の利用者の通行を許可するか否かを判定する判定部と、を備える確認装置である。
【発明の効果】
【0008】
本発明によれば、利用券の券面の表示を読み取り、表示内容に応じて利用券の効力に応じた処理を行う装置およびシステムを実現することができる。
【図面の簡単な説明】
【0009】
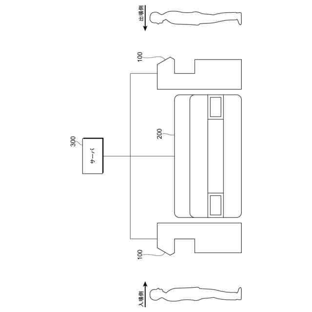
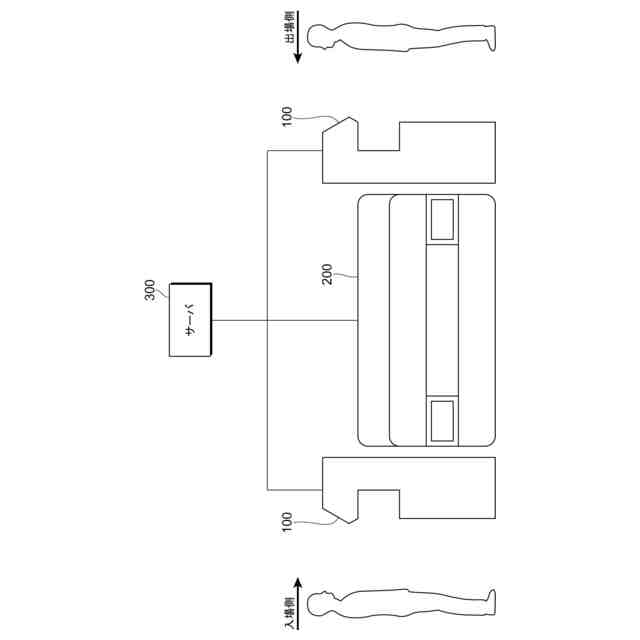
本実施形態が適用される確認システムの全体構成を示す図である。
確認装置の機能構成例を示す図である。
確認装置のハードウェア構成例を示す図である。
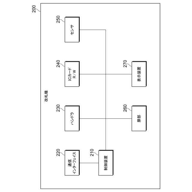
改札機の構成例を示す図である。
サーバの構成例を示す図である。
乗車券の券面の構成例を示す図である。
【発明を実施するための形態】
【0010】
以下、添付図面を参照して、本発明の実施形態について詳細に説明する。
<システム構成>
図1は、本実施形態が適用される確認システムの全体構成を示す図である。確認システムは、通路を通るための通行券の券面から取得される情報に基づき、通行券が有効か否かを確認するシステムである。本実施形態は、様々な場面における通行券の確認システムとして用い得るが、以下では、本実施形態の確認システムを駅の改札に適用した場合を例として説明する。かかるシステムでは、通行券を乗車券とし、入場時と出場時の両方で乗車券の確認が行われる。
(【0011】以降は省略されています)
この特許をJ-PlatPat(特許庁公式サイト)で参照する
関連特許
グローリー株式会社
確認システムおよび確認装置
4日前
個人
自動販売機
12日前
株式会社イシダ
商品処理装置
2か月前
株式会社バンダイ
物品供給装置
5か月前
株式会社バンダイ
物品供給装置
5か月前
株式会社バンダイ
物品供給装置
5か月前
株式会社バンダイ
物品供給装置
5か月前
株式会社タムラ製作所
自動販売機
27日前
富士電機株式会社
通貨識別装置
4か月前
沖電気工業株式会社
媒体処理装置
6日前
沖電気工業株式会社
媒体処理装置
6日前
沖電気工業株式会社
施錠開閉装置
2か月前
沖電気工業株式会社
媒体処理装置
6日前
アサヒ飲料株式会社
遠隔決済方法
1か月前
沖電気工業株式会社
媒体処理装置
3か月前
沖電気工業株式会社
紙幣処理装置
3か月前
沖電気工業株式会社
媒体処理装置
3か月前
沖電気工業株式会社
媒体処理装置
3か月前
沖電気工業株式会社
媒体処理装置
6日前
富士電機株式会社
自動販売機
3か月前
株式会社ライト
情報処理装置
4か月前
株式会社ライト
情報処理装置
3か月前
株式会社ライト
情報処理装置
3か月前
富士電機株式会社
金銭処理装置
4か月前
株式会社デンソー
車載器
2か月前
グローリー株式会社
硬貨処理装置
5か月前
グローリー株式会社
貨幣処理装置
1か月前
グローリー株式会社
物品投出装置
3か月前
株式会社寺岡精工
商品登録システム
1か月前
アサヒ飲料株式会社
自動販売機の決済方法
1か月前
日本金銭機械株式会社
硬貨処理装置
2か月前
日本金銭機械株式会社
硬貨処理装置
2か月前
株式会社トイスピリッツ
景品提供システム
3か月前
株式会社寺岡精工
販売データ処理装置
1か月前
ユニティガードシステム株式会社
入館監視システム
3か月前
株式会社知財事業研究所
特殊駐車場システム
21日前
続きを見る
他の特許を見る