TOP
|
特許
|
意匠
|
商標
特許ウォッチ
Twitter
他の特許を見る
10個以上の画像は省略されています。
公開番号
2025169992
公報種別
公開特許公報(A)
公開日
2025-11-14
出願番号
2025140600,2025093269
出願日
2025-08-26,2023-10-20
発明の名称
情報処理装置、情報処理端末、情報処理方法、情報処理プログラム
出願人
ビーサイズ株式会社
代理人
個人
,
個人
,
個人
,
個人
,
個人
主分類
G10L
15/00 20130101AFI20251107BHJP(楽器;音響)
要約
【課題】より利便性の高い情報処理装置、情報処理端末、情報処理方法及び情報処理プログラムを提供すること。
【解決手段】本発明に係る情報処理装置は、第1端末又は第2端末から送信される音声データを受信する受信部と、前記受信部が受信した前記音声データをテキストデータに変換するテキスト変換部と、前記変換部が変換した前記テキストデータを前記第2端末又は前記第1端末へ送信する送信部と、を備える。
【選択図】図1
特許請求の範囲
【請求項1】
第1端末又は第2端末から送信される音声データを受信する受信部と、
前記受信部が受信した前記音声データをテキストデータに変換するテキスト変換部と、
前記変換部が変換した前記テキストデータを前記第2端末又は前記第1端末へ送信する送信部と、
を備えることを特徴とする情報処理装置。
続きを表示(約 1,600 文字)
【請求項2】
第1端末又は第2端末から送信されるテキストデータを受信する受信部と、
前記受信部が受信したテキストデータを音声データに変換する音声変換部と、
前記変換部が変換した前記音声データを前記第2端末又は前記第1端末へ送信する送信部と、
を備えることを特徴とする情報処理装置。
【請求項3】
前記音声データと、前記第1端末又は前記第2端末の位置を特定するための情報とを関連付ける関連付部を備え、
前記受信部は、
前記第1端末又は前記第2端末から送信される位置を特定するための情報を受信し、
前記関連付部は、
前記受信部が受信した前記音声データと、前記位置を特定するための情報とを関連付け、
前記送信部は、
前記音声データと、前記音声データに関連付けられた前記位置を特定するための情報とを前記第2端末又は前記第1端末へ送信する、
ことを特徴とする請求項1に記載の情報処理装置。
【請求項4】
前記テキストデータと、前記第1端末又は前記第2端末の位置を特定するための情報とを関連付ける関連付部を備え、
前記受信部は、
前記第1端末又は前記第2端末から送信される位置を特定するための情報を受信し、
前記関連付部は、
前記受信部が受信した前記テキストデータと、前記位置を特定するための情報とを関連付け、
前記送信部は、
前記テキストデータと、前記テキストデータに関連付けられた前記位置を特定するための情報とを前記第2端末又は前記第1端末へ送信する、
ことを特徴とする請求項2に記載の情報処理装置。
【請求項5】
前記関連付部は、
前記位置を特定するための情報と、前記位置を特定するための情報の測位日時、送信日時及び受信日時のいずれか1以上と、前記音声データの録音日時、送信日時及び受信日時のいずれか1以上とに基づいて、前記音声データに前記第1端末又は前記第2端末の位置を特定するための情報を関連付ける、
ことを特徴とする請求項3に記載の情報処理装置。
【請求項6】
前記音声データのファイル形式を変換する形式変換部、
を備えることを特徴とする請求項1に記載の情報処理装置。
【請求項7】
前記音声データのうち可聴領域外、音声帯域外若しくはノイズとなる帯域のデータを除去若しくは低減、又は、音声帯域のみを強調する除去部を備え、
前記送信部は、
前記除去部により前記可聴領域外、前記音声帯域外若しくはノイズとなる帯域のデータを除去若しくは低減、又は、音声帯域のみを強調された音声データを前記第2端末又は前記第1端末へ送信する、
ことを特徴とする請求項1に記載の情報処理装置。
【請求項8】
前記送信部が前記第2端末又は前記第1端末へ送信する前記音声データの再生音量を調整する音量調整部、
を備えることを特徴とする請求項1に記載の情報処理装置。
【請求項9】
音声データを受信する受信部と、
前記受信部が受信した前記音声データをテキストデータに変換するテキスト変換部と、
前記変換部が変換した前記テキストデータを出力する出力部と、
を備えることを特徴とする情報処理端末。
【請求項10】
テキストデータを受信する受信部と、
前記受信部が受信したテキストデータを音声データに変換する音声変換部と、
前記変換部が変換した前記音声データを出力する出力部と、
を備えることを特徴とする情報処理端末。
(【請求項11】以降は省略されています)
発明の詳細な説明
【技術分野】
【0001】
本発明は、音声データを送受信するシステムで利用可能な情報処理装置、情報処理端末、情報処理方法、情報処理プログラムに関する。
続きを表示(約 2,200 文字)
【背景技術】
【0002】
従来から子供の見守り用途に、音声データをやり取りできるGPS端末が提案されている。
【先行技術文献】
【特許文献】
【0003】
再表2020/202449
【発明の概要】
【発明が解決しようとする課題】
【0004】
しかしながら、従来のGPS端末では、位置情報と音声情報などを単にユーザに提示するだけであり、利便性に向上の余地がある。
【0005】
本発明は、上記課題を鑑みてなされたものであり、より利便性の高い情報処理装置、情報処理端末、情報処理方法及び情報処理プログラムを提供することを目的とする。
【課題を解決するための手段】
【0006】
上記の課題を解決すべく、本発明に係る情報処理装置は、第1端末又は第2端末から送信される音声データを受信する受信部と、前記受信部が受信した前記音声データをテキストデータに変換するテキスト変換部と、前記変換部が変換した前記テキストデータを前記第2端末又は前記第1端末へ送信する送信部と、を備える。
【発明の効果】
【0007】
本発明によれば、より利便性の高い情報処理装置、情報処理端末、情報処理方法及び情報処理プログラムを提供することができる。
【図面の簡単な説明】
【0008】
実施形態に係る情報処理システムの配置の一例を示す図である。
実施形態に係る情報処理サーバ(情報処理装置)の構成の一例を示す図である。
実施形態に係る情報処理サーバの構成の一例を示す図である。
実施形態に係る第1端末(情報処理端末)の構成の一例を示す図である。
実施形態に係る第1端末の構成の一例を示す図である。
実施形態に係る第2端末(情報処理端末)の構成の一例を示す図である。
実施形態に係る第2端末の構成の一例を示す図である。
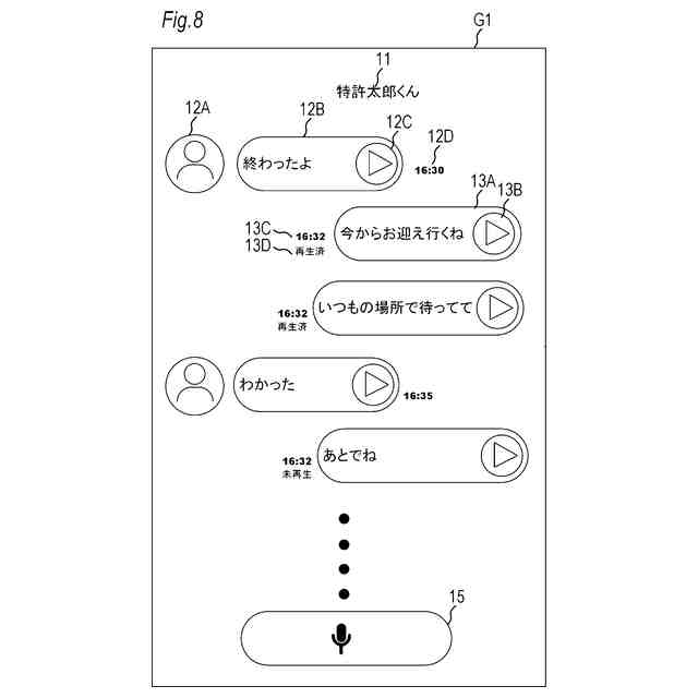
実施形態に係る第1端末の表示装置に表示される画面の一例を示す図である。
実施形態に係る第1端末の表示装置に表示される画面の一例を示す図である。
実施形態に係る第1端末の表示装置に表示される画面の一例を示す図である。
実施形態に係る第1端末の表示装置に表示される画面の一例を示す図である。
実施形態に係る情報処理システムによる処理の一例を示すフローチャートである。
実施形態に係る情報処理システムによる処理の一例を示すフローチャートである。
実施形態に係る情報処理システムによる処理の一例を示すフローチャートである。
実施形態に係る情報処理システムによる処理の一例を示すフローチャートである。
実施形態に係る情報処理システムによる処理の一例を示すフローチャートである。
実施形態に係る情報処理システムによる処理の一例を示すフローチャートである。
実施形態の変形例に係る第1端末の表示装置に表示される画面の一例を示す図である。
実施形態の変形例に係る第1端末の表示装置に表示される画面の一例を示す図である。
実施形態の変形例に係る第1端末の表示装置に表示される画面の一例を示す図である。
実施形態の変形例に係る第1端末の表示装置に表示される画面の一例を示す図である。
【発明を実施するための形態】
【0009】
[実施形態]
以下、図面を参照して実施形態に係る情報処理システム1について説明する。
実施形態に係る情報処理システム1は、いわゆるモニタリングシステムであり、被見守り者(例えば、子供)によって携帯された、持ち運びながら使用可能な第2端末4から、例えば1.5分毎のような所定のインタバル毎にサーバ2へアップロードされたデータから第2端末4の位置が決定され、決定された位置が、サーバ2から見守り者(例えば、親や祖父母などの家族や親族)の携帯する、または用いる第1端末3へ通知される。また、本実施形態に係る情報処理システム1では、第1端末3及び第2端末4にマイクロフォン、スピーカなどを備えており、互いにボイスメッセージ(以下、音声ともいう)を送受信することができるように構成されている。つまり、見守り者と被見守り者との間で音声によるメッセージのやり取りを行うことができるように構成されている。また、第1端末3は、表示装置を備えており、音声をテキストに変換して表示装置に表示できるように構成されている。なお、以下の説明では、見守り者のことを第1ユーザともいう。また、被見守り者のことを第2ユーザともいう。
【0010】
図1に示すように、情報処理システム1は、サーバ2(情報処理装置)と、該サーバ2にネットワーク5を介して接続された1以上の第1端末3(情報処理端末)及び第2端末4(情報処理端末)とを備える。図1に示す例では、情報処理システム1は、サーバ2、第1端末3及び第2端末4を各々1つずつ備える構成となっているが、情報処理システム1が備えるサーバ2、第1端末3及び第2端末4の数はそれぞれ任意である。
(【0011】以降は省略されています)
この特許をJ-PlatPat(特許庁公式サイト)で参照する
関連特許
ビーサイズ株式会社
情報処理装置、情報処理端末、情報処理方法、情報処理プログラム
3日前
個人
遮音材
10日前
個人
木管楽器
1か月前
個人
歌唱補助器具
19日前
個人
管楽器用リガチャ-
27日前
個人
音声出力装置
10日前
横浜ゴム株式会社
音響材
3日前
大和ハウス工業株式会社
音低減設備
20日前
本田技研工業株式会社
車室環境制御装置
1か月前
DIC株式会社
吸音材及び吸音部品
21日前
NOK株式会社
吸音構造体
12日前
株式会社SinasSP
自動騒音低減装置
1か月前
矢崎総業株式会社
車両用対話システム
11日前
横浜ゴム株式会社
多層空洞音響材
10日前
トヨタ自動車株式会社
判定装置
1か月前
株式会社第一興商
カラオケ装置
1か月前
株式会社第一興商
カラオケ装置
11日前
日本軽金属株式会社
遮音壁
1か月前
株式会社第一興商
カラオケ装置
1か月前
カシオ計算機株式会社
発音装置、発音方法及びプログラム
1か月前
ブラザー工業株式会社
カラオケ装置及びカラオケプログラム
1か月前
日本電気株式会社
放送用システムおよび字幕作成方法
1か月前
シャープ株式会社
電子機器および電子機器の制御方法
1か月前
カシオ計算機株式会社
電子鍵盤楽器
1か月前
株式会社JVCケンウッド
収音装置、収音方法、およびプログラム
1か月前
ブラザー工業株式会社
カラオケ用プログラム、及び、カラオケ装置
1か月前
大建工業株式会社
吸音体及び音環境調整構造
1か月前
ブラザー工業株式会社
音声録音装置、及び、音声録音用プログラム
1か月前
有限会社ツバサ
エレキギターおよび保護フィルム付きの樹脂プレート
1か月前
カシオ計算機株式会社
電子楽器、電子楽器の制御方法及びプログラム
1か月前
株式会社河合楽器製作所
鍵盤楽器の鍵盤装置
1か月前
有限会社 宮脇工房
モーター挙動音発生装置
19日前
トヨタ自動車株式会社
運転者認知機能改善システム
1か月前
株式会社河合楽器製作所
鍵盤楽器の鍵盤装置
1か月前
株式会社NTTドコモ
情報処理装置及び情報処理方法
1か月前
株式会社リコー
対話装置、対話システム、対話方法及びプログラム
1か月前
続きを見る
他の特許を見る