TOP
|
特許
|
意匠
|
商標
特許ウォッチ
Twitter
他の特許を見る
10個以上の画像は省略されています。
公開番号
2025177885
公報種別
公開特許公報(A)
公開日
2025-12-05
出願番号
2024085030
出願日
2024-05-24
発明の名称
ノイズキャンセル装置、ノイズキャンセル方法および照明装置
出願人
パナソニックIPマネジメント株式会社
代理人
個人
,
個人
,
個人
主分類
G10K
11/178 20060101AFI20251128BHJP(楽器;音響)
要約
【課題】施設内の空間のレイアウトに応じてノイズをキャンセルすることができるノイズキャンセル装置等を提供する。
【解決手段】ノイズキャンセル装置10は、外部の装置に通信接続可能な通信モジュール40と、音を収集する音収集部21と、音を出力する音出力部22と、音収集部21および音出力部22を制御する音制御部25と、を備える。音制御部25は、音収集部21で収集した音の音データ信号を、通信モジュール40を介して外部へ出力することが可能であり、および、通信モジュール40を介して取得したノイズキャンセル用のデータ信号に基づく音を音出力部22から出力させることが可能である。
【選択図】図2
特許請求の範囲
【請求項1】
外部の装置に通信接続可能な通信モジュールと、
音を収集する音収集部と、
音を出力する音出力部と、
前記音収集部および前記音出力部を制御する音制御部と、
を備え、
前記音制御部は、前記音収集部で収集した音の音データ信号を、前記通信モジュールを介して外部へ出力することが可能であり、および、前記通信モジュールを介して取得したノイズキャンセル用のデータ信号に基づく音を前記音出力部から出力させることが可能である
ノイズキャンセル装置。
続きを表示(約 970 文字)
【請求項2】
前記ノイズキャンセル用のデータ信号は、前記ノイズキャンセル装置が置かれた領域に対して外から入力される音の逆位相のデータ信号を含む
請求項1に記載のノイズキャンセル装置。
【請求項3】
さらに、前記音収集部の作動のオンおよびオフを設定する設定部を備える
請求項1に記載のノイズキャンセル装置。
【請求項4】
さらに、前記音出力部の作動のオンおよびオフを設定する設定部を備える
請求項1に記載のノイズキャンセル装置。
【請求項5】
さらに、
光を照射する照明部と、
前記照明部を制御する照明制御部と、
を備え、
前記音制御部は、前記照明部の点灯状態に基づいて、前記音収集部および前記音出力部の作動を制御する
請求項1に記載のノイズキャンセル装置。
【請求項6】
前記音制御部は、前記照明制御部が前記照明部を点灯させているときに前記音収集部または前記音出力部を作動させ、前記照明制御部が前記照明部を消灯させているときに前記音収集部または前記音出力部の作動を停止させる
請求項5に記載のノイズキャンセル装置。
【請求項7】
前記音制御部は、常時、前記音収集部または前記音出力部を作動させる
請求項1~6のいずれかに記載のノイズキャンセル装置。
【請求項8】
前記音制御部は、予め決められたスケジュールに基づいて、前記音収集部または前記音出力部を作動させる
請求項1~6のいずれかに記載のノイズキャンセル装置。
【請求項9】
前記音収集部は、音の発生時に伝達される第1伝達音を収集し、
前記音制御部は、前記第1伝達音の音データ信号を、前記通信モジュールを介して外部へ出力する
請求項1~6のいずれかに記載のノイズキャンセル装置。
【請求項10】
前記音収集部は、所定範囲の音圧の音を収集し、
前記音制御部は、前記所定範囲の音圧の音の音データ信号を、前記通信モジュールを介して外部へ出力する
請求項1~6のいずれかに記載のノイズキャンセル装置。
(【請求項11】以降は省略されています)
発明の詳細な説明
【技術分野】
【0001】
本発明は、ノイズキャンセル装置、ノイズキャンセル方法、および、照明装置に関する。
続きを表示(約 2,100 文字)
【背景技術】
【0002】
従来、ノイズをキャンセルするノイズキャンセル装置が知られている。特許文献1には、車内の座席位置によらず騒音を低減する騒音キャンセル装置が開示されている。
【先行技術文献】
【特許文献】
【0003】
特開2009-255735号公報
【発明の概要】
【発明が解決しようとする課題】
【0004】
従来のノイズキャンセル装置では、施設内の空間のレイアウトに応じてノイズをキャンセルすることが困難である。
【0005】
本発明は、施設内の空間のレイアウトに応じてノイズをキャンセルすることができるノイズキャンセル装置等を提供する。
【課題を解決するための手段】
【0006】
本発明のノイズキャンセル装置の一態様は、外部の装置に通信接続可能な通信モジュールと、音を収集する音収集部と、音を出力する音出力部と、前記音収集部および前記音出力部を制御する音制御部と、を備え、前記音制御部は、前記音収集部で収集した音の音データ信号を、前記通信モジュールを介して外部へ出力することが可能であり、および、前記通信モジュールを介して取得したノイズキャンセル用のデータ信号に基づく音を前記音出力部から出力させることが可能である。
【0007】
本発明のノイズキャンセル方法の一態様は、ノイズキャンセル装置を用いてノイズをキャンセルする方法であって、前記ノイズキャンセル装置とは異なる他のノイズキャンセル装置で収音したノイズ音に基づいて生成されたノイズキャンセル用のデータ信号を取得するステップと、前記データ信号に基づく音を出力することで前記ノイズ音をキャンセルするステップと、を含む。
【0008】
本発明の照明装置の一態様は、外部の装置に通信接続可能な通信モジュールと、音を収集する音収集部と、音を出力する音出力部と、光を照射する照明部と、前記音収集部および前記音出力部を制御する音制御部と、を備え、前記音制御部は、前記音収集部で収集した音の音データ信号を、前記通信モジュールを介して外部へ出力することが可能であり、および、前記通信モジュールを介して取得したノイズキャンセル用のデータ信号に基づく音を前記音出力部から出力させることが可能である。
【発明の効果】
【0009】
本発明のノイズキャンセル装置等は、施設内の空間のレイアウトに応じてノイズをキャンセルすることができる。
【図面の簡単な説明】
【0010】
実施の形態1に係るノイズキャンセルシステムの全体構成を示す図である。
実施の形態1に係るノイズキャンセル装置および制御装置のブロック構成図である。
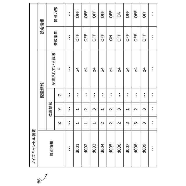
制御装置の記憶部に記憶されたノイズキャンセル装置の識別情報および配置情報等を示す図である。
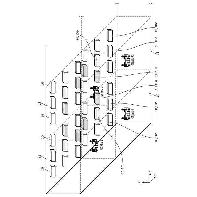
施設内の複数の領域に配置された複数のノイズキャンセル装置を示す図である。
所定の領域に配置された第1のノイズキャンセル装置、および、他の領域に配置された第2のノイズキャンセル装置の一例を示す図である。
第2のノイズキャンセル装置にて収集される音の波形を示す図である。
第1のノイズキャンセル装置から出力される音の波形を示す図である。
所定の領域に配置された第1のノイズキャンセル装置、および、他の領域に配置された第2のノイズキャンセル装置の他の一例を示す図である。
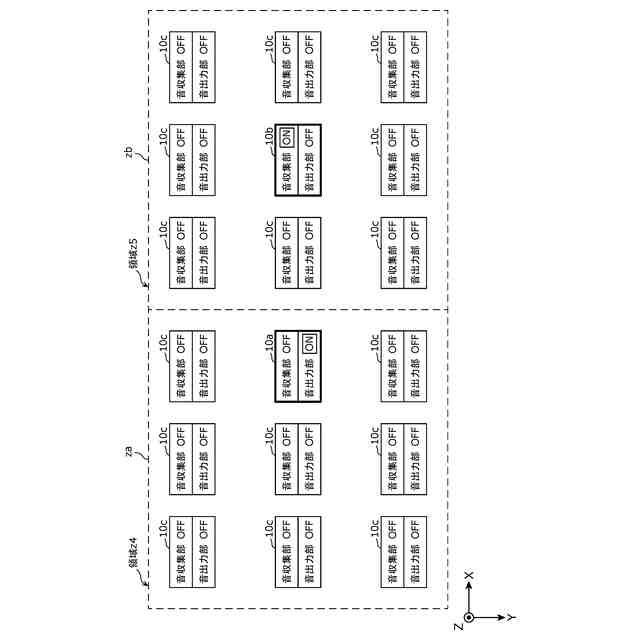
2つの領域における音収集部および音出力部の設定例を示す図である。
2つの領域における音収集部および音出力部の他の設定例を示す図である。
実施の形態1に係るノイズキャンセルシステムのノイズキャンセル方法を示す図である。
実施の形態1に係るノイズキャンセル装置のノイズキャンセル方法を示すフローチャートである。
実施の形態2に係るノイズキャンセルシステムの全体構成を示す図である。
実施の形態2に係る照明装置および制御装置のブロック構成図である。
制御装置の記憶部に記憶された照明装置の識別情報および配置情報等を示す図である。
施設内の複数の領域に配置された複数の照明装置を示す図である。
所定の領域に配置された第1の照明装置、および、他の領域に配置された第2の照明装置の一例を示す図である。
所定の領域に配置された第1の照明装置、および、他の領域に配置された第2の照明装置の他の一例を示す図である。
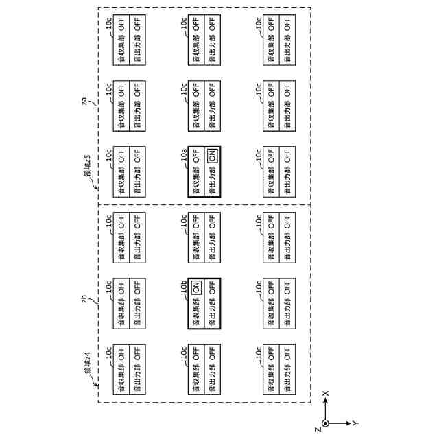
2つの領域における音収集部および音出力部の設定例を示す図である。
2つの領域における音収集部および音出力部の他の設定例を示す図である。
実施の形態2に係るノイズキャンセルシステムのノイズキャンセル方法を示す図である。
実施の形態2に係る照明装置のノイズキャンセル方法を示すフローチャートである。
【発明を実施するための形態】
(【0011】以降は省略されています)
この特許をJ-PlatPat(特許庁公式サイト)で参照する
関連特許
個人
ギター
3日前
三井化学株式会社
防音構造体
4日前
三井化学株式会社
防音構造体
4日前
株式会社デンソー
音低減装置
3日前
三井化学株式会社
防音構造体および自動車の防音構造
4日前
株式会社第一興商
カラオケ装置、カラオケシステム
3日前
トヨタ自動車株式会社
ブレーキインジケータシステム
3日前
本田技研工業株式会社
音声認識装置、音声認識方法、及びプログラム
5日前
日本電気株式会社
伝達音抑制装置、伝達音抑制システム、伝達音抑制方法およびプログラム
3日前
パナソニックIPマネジメント株式会社
ノイズキャンセルシステムおよびノイズキャンセル方法
3日前
パナソニックIPマネジメント株式会社
ノイズキャンセル装置、ノイズキャンセル方法および照明装置
3日前
株式会社東芝
パラ言語情報認識装置、パラ言語情報認識方法、及びパラ言語情報認識プログラム
5日前
株式会社インタラクティブソリューションズ
コンピュータを用いた会話支援方法
5日前
ドルビー・インターナショナル・アーベー
後処理遅延低減との高周波再構成技術の統合
5日前
華為技術有限公司
遅延推定方法および遅延推定装置
5日前
ドルビー ラボラトリーズ ライセンシング コーポレイション
プログラム情報またはサブストリーム構造メタデータをもつオーディオ・エンコーダおよびデコーダ
5日前
アルデブロン,エル.エル.シー.
合成DNAベクターおよびその使用法
5日前
国立医薬品食品衛生研究所長
間葉系間質/幹細胞の細胞集団において機能的な細胞亜集団を同定する方法
3日前
他の特許を見る