TOP
|
特許
|
意匠
|
商標
特許ウォッチ
Twitter
他の特許を見る
公開番号
2025172909
公報種別
公開特許公報(A)
公開日
2025-11-26
出願番号
2025146660,2023508892
出願日
2025-09-04,2022-03-03
発明の名称
コード推定装置およびコード推定方法
出願人
ヤマハ株式会社
代理人
個人
,
個人
,
個人
主分類
G10G
1/04 20060101AFI20251118BHJP(楽器;音響)
要約
【課題】楽器を演奏するための、音符列に基づいて自由度の高いコード推定を行うコード推定装置および方法を提供する。
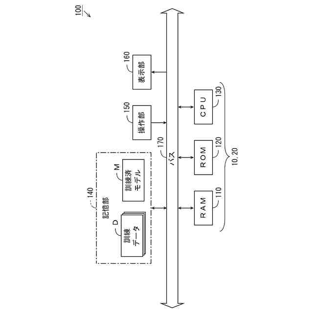
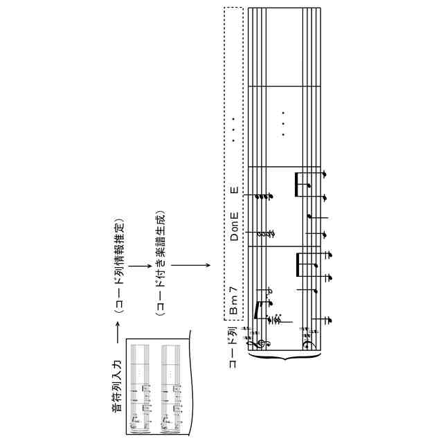
【解決手段】楽器を演奏するためのコードを推定するコード推定装置20および訓練装置10を含む処理システム100において、推定装置は、楽譜の画像または演奏者が操作する操作部150を用いた操作により複数の音符からなる音符列を含む時系列データを受け付ける受付部21と、時系列データに基づいて、前記音符列に対応し、コードチェンジタイミングが記録されたコード列情報を推定する推定部22と、受付部21により受け付けられた時系列データの音符列と、推定部22により推定されたコード列情報とに基づいて楽譜情報を生成する生成部23と、を備える。
【選択図】図4
特許請求の範囲
【請求項1】
楽譜の画像、または、操作部を用いた操作により複数の音符からなる音符列を含む時系列データを受け付ける受付部と、
前記時系列データに基づいて、前記音符列に対応するコード列を示す情報であって、コードチェンジタイミングが記録されたコード列情報を推定する推定部と、
を備えるコード推定装置。
続きを表示(約 1,200 文字)
【請求項2】
操作部を用いた操作により複数の音符からなる音符列を含む時系列データを受け付ける受付部と、
前記時系列データに基づいて、前記音符列に対応するコード列を示す情報であって、コードチェンジタイミングが記録されたコード列情報を推定する推定部と、
を備えるコード推定装置。
【請求項3】
前記時系列データは、前記音符列で表現される音楽のジャンルを指定するジャンル情報を含み、
前記推定部は、ジャンル情報を含む前記時系列データに基づいて、前記コード列情報を推定する、請求項1または請求項2に記載のコード推定装置。
【請求項4】
前記時系列データは、前記音符列で表現される音楽の調を指定する調情報を含み、
前記推定部は、調情報を含む前記時系列データに基づいて、前記コード列情報を推定する、請求項1または請求項2に記載のコード推定装置。
【請求項5】
前記時系列データは、前記音符列で示される楽譜の難易度を指定する難易度情報を含み、
前記推定部は、難易度情報を含む前記時系列データに基づいて、前記コード列情報を推定する、請求項1または請求項2に記載のコード推定装置。
【請求項6】
前記音符列の各音符に対応するように前記コード列情報が付されたコード付き楽譜を示す楽譜情報を生成する生成部をさらに備える、請求項1~5のいずれか一項に記載のコード推定装置。
【請求項7】
楽譜の画像、または、操作部を用いた操作により複数の音符からなる音符列を含む時系列データを受け付け、
前記時系列データに基づいて、前記音符列に対応するコード列を示す情報であって、コードチェンジタイミングが記録されたコード列情報を推定する、コンピュータにより実行されるコード推定方法。
【請求項8】
操作部を用いた操作により複数の音符からなる音符列を含む時系列データを受け付け、
前記時系列データに基づいて、前記音符列に対応するコード列を示す情報であって、コードチェンジタイミングが記録されたコード列情報を推定する、コンピュータにより実行されるコード推定方法。
【請求項9】
前記時系列データは、前記音符列で表現される音楽のジャンルを指定するジャンル情報を含み、
前記推定することは、ジャンル情報を含む前記時系列データに基づいて、前記コード列情報を推定する、請求項7または請求項8に記載のコンピュータにより実行されるコード推定方法。
【請求項10】
前記時系列データは、前記音符列で表現される音楽の調を指定する調情報を含み、
前記推定することは、調情報を含む前記時系列データに基づいて、前記コード列情報を推定する、請求項7または請求項8に記載のコンピュータにより実行されるコード推定方法。
(【請求項11】以降は省略されています)
発明の詳細な説明
【技術分野】
【0001】
本発明は、楽器を演奏するためのコードを推定するコード推定装置および方法、並びに、コード推定装置を構築するための訓練装置および方法に関する。
続きを表示(約 1,200 文字)
【背景技術】
【0002】
コードが付記された楽譜がある。演奏者は、ピアノ、ギターなどの楽器を用いてコードを演奏することで、楽器演奏を楽しむことができる。コード付きの楽譜を制作するにあたって、制作者は、音符で示されるメロディ、伴奏音などに基づいてコードを付与する作業を行う。コードを付与する作業は音楽的知識とセンスが必要とされる。下記特許文献1においては、演奏情報または音響信号からコードを推定するコード進行推定検出装置が開示されている。
【0003】
特許第6151121号公報
【発明の概要】
【発明が解決しようとする課題】
【0004】
特許文献1においては、特定区間毎にコードが推定される。例えば、小節毎に1つのコードが推定される。与えられた音符から、さらに自由度の高いコード推定を行うことができれば、コード付き楽譜の制作を、より適切に支援可能となると期待される。
【0005】
本発明の目的は、音符列に基づいて自由度の高いコード推定を行うことである。
【課題を解決するための手段】
【0006】
本発明の一局面に従うコード推定装置は、楽譜の画像、または、操作部を用いた操作により複数の音符からなる音符列を含む時系列データを受け付ける受付部と、時系列データに基づいて、音符列に対応するコード列を示す情報であって、コードチェンジタイミングが記録されたコード列情報を推定する推定部とを備える。
【0007】
本発明の他の局面に従うコード推定装置は、操作部を用いた操作により複数の音符からなる音符列を含む時系列データを受け付ける受付部と、時系列データに基づいて、音符列に対応するコード列を示す情報であって、コードチェンジタイミングが記録されたコード列情報を推定する推定部とを備える。
【0008】
本発明のさらに他の局面に従うコンピュータにより実行されるコード推定方法は、楽譜の画像、または、操作部を用いた操作により複数の音符からなる音符列を含む時系列データを受け付け、時系列データに基づいて、音符列に対応するコード列を示す情報であって、コードチェンジタイミングが記録されたコード列情報を推定する。
【0009】
本発明のさらに他の局面に従うコンピュータにより実行されるコード推定方法は、操作部を用いた操作により複数の音符からなる音符列を含む時系列データを受け付け、時系列データに基づいて、音符列に対応するコード列を示す情報であって、コードチェンジタイミングが記録されたコード列情報を推定する。
【発明の効果】
【0010】
本発明によれば、音符列に基づいて自由度の高いコード推定を行うことができる。
【図面の簡単な説明】
(【0011】以降は省略されています)
この特許をJ-PlatPat(特許庁公式サイト)で参照する
関連特許
ヤマハ株式会社
放音制御装置
27日前
ヤマハ株式会社
ドライバユニット
1か月前
ヤマハ株式会社
音処理装置及び音処理方法
6日前
ヤマハ株式会社
音処理方法および音処理装置
2か月前
ヤマハ株式会社
音処理装置および音処理方法
2か月前
ヤマハ株式会社
音処理方法および音処理装置
2か月前
ヤマハ株式会社
音処理システム及び音処理方法
1か月前
ヤマハ株式会社
収音制御方法および収音制御装置
1か月前
ヤマハ株式会社
音声処理方法および音声処理装置
1か月前
ヤマハ株式会社
データ処理方法およびデータ処理装置
3か月前
ヤマハ株式会社
駆動装置、音響装置および車両用ドア
1か月前
ヤマハ株式会社
音信号処理方法および音信号処理装置
1か月前
ヤマハ株式会社
解錠管理方法および解錠管理システム
1か月前
ヤマハ株式会社
信号処理の方法、プログラムおよび装置
1か月前
ヤマハ株式会社
画像処理方法、画像処理装置及びプログラム
1か月前
ヤマハ株式会社
スピーカ装置、音信号処理方法及びプログラム
1か月前
ヤマハ株式会社
情報処理方法、情報処理システムおよびプログラム
1か月前
ヤマハ株式会社
情報処理方法、情報処理システムおよびプログラム
2か月前
ヤマハ株式会社
処理装置
21日前
ヤマハ株式会社
定位提供方法、定位提供システムおよび定位提供プログラム
3か月前
ヤマハ株式会社
再生データ生成方法
1か月前
ヤマハ株式会社
スクリーンユニット
2か月前
ヤマハ株式会社
オーディオデータ処理装置、推論装置、及びオーディオデータ処理方法
1か月前
ヤマハ株式会社
音響信号処理装置、楽器、音響信号処理方法および音響信号処理プログラム
1か月前
ヤマハ株式会社
鍵盤装置及び演奏操作装置
12日前
ヤマハ株式会社
演奏操作装置および鍵盤楽器
1か月前
ヤマハ株式会社
音の処理方法及び音処理装置
1か月前
ヤマハ株式会社
楽器用検出システムおよび楽器
2か月前
ヤマハ株式会社
モデルデータ決定方法、モデルデータ決定装置およびモデルデータ決定プログラム
1か月前
ヤマハ株式会社
情報処理装置、及びその制御方法
2か月前
ヤマハ株式会社
コード推定装置およびコード推定方法
今日
ヤマハ株式会社
映像出力方法、映像出力装置および映像出力システム
1か月前
ヤマハ株式会社
データ出力方法、プログラム、データ出力装置および電子楽器
12日前
個人
遮音材
19日前
個人
木管楽器
1か月前
個人
管楽器用リガチャ-
1か月前
続きを見る
他の特許を見る