TOP
|
特許
|
意匠
|
商標
特許ウォッチ
Twitter
他の特許を見る
公開番号
2025172869
公報種別
公開特許公報(A)
公開日
2025-11-26
出願番号
2025141902,2022550664
出願日
2025-08-28,2021-02-24
発明の名称
情動音楽の推薦および作曲のための方法、システム、および媒体
出願人
ルシード インコーポレイテッド
代理人
弁理士法人ITOH
主分類
G10G
3/04 20060101AFI20251118BHJP(楽器;音響)
要約
【課題】情動音楽の推薦および作曲のための方法及びシステムを提供する。
【解決手段】聴取者の現在の情動状態及び目標の情動状態を識別し、現在の状態から目標の状態までの聴取者の情動状態の制御されたトラジェクトリを生じる意図で、聴覚刺激としてユーザに提示され、音楽プレイリストであるオーディオストリームを生成する方法であって、オーディオストリームは、所望の情動トラジェクトリを生じる際に、特定のオーディオセグメントである特定の特徴量を有するオーディオセグメントの有効性を示す聴取者及び/又は他のユーザからのデータを使用して訓練された機械学習システムにより生成され、聴覚刺激への曝露後に聴取者に誘発される情動状態の変化に基づいて更新される。機械学習システムは、経時的に音楽とヒトの情動との間の関係の堅牢な解釈を獲得し、聴取者に特定の情動応答を誘発するように構成された音楽を作曲、マスタリング及び/又は適応させる。
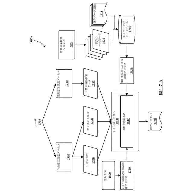
【選択図】図17A
特許請求の範囲
【請求項1】
聴取者に所望の情動応答を誘発するための音楽を生成する方法であって、前記方法は、
前記所望の情動応答を示す所望の情動応答データを受信することと、
前記聴取者に前記所望の情動応答を誘発するために、訓練された生成機械学習モデルにより予測された音楽的特徴量を有する前記音楽を生成することであって、
前記訓練された生成機械学習モデルを使用して、前記所望の情動応答データを処理して、前記音楽的特徴量を示す音楽的特徴量データを生成し、
前記音楽的特徴量データに基づいて前記音楽を生成する、ことと、
を含む方法。
続きを表示(約 960 文字)
【請求項2】
前記生成機械学習モデルを訓練することであって、
音楽的特徴量セットを有する音楽を聴取者に提示し、
前記聴取者から、前記音楽の提示に対する前記聴取者の情動応答を示す情動応答データを取得し、
前記情動応答データにより前記音楽の前記音楽的特徴量をラベル付けして、ラベル付き音楽的特徴量データを生成し、
前記ラベル付き音楽的特徴量データを訓練データとして使用して、前記音楽的特徴量データに基づいて前記情動応答データを予測するよう前記生成機械学習モデルを訓練する、こと、
を更に含む請求項1に記載の方法。
【請求項3】
前記音楽的特徴量データに基づいて前記音楽を生成することは、
前記音楽的特徴量データに基づいてスコアを生成することと、
前記スコアに基づいて前記音楽を生成することと、
を含む、請求項1に記載の方法。
【請求項4】
前記スコアはミュージカルインストゥルメントデジタルインターフェース(MIDI)スコアである、請求項3に記載の方法。
【請求項5】
前記スコアを生成することは、
作曲意図情報を受信すること、
前記音楽的特徴量データと前記作曲意図情報とに基づいて前記スコアを生成することと、
を含む、請求項3に記載の方法。
【請求項6】
前記作曲意図情報は、スコアタイプ情報、楽器情報、及びスコア長さ情報のうちの一又は複数を含む、請求項5に記載の方法。
【請求項7】
前記作曲意図情報が、ユーザから受信した作曲意図ユーザ入力によって示される、請求項5に記載の方法。
【請求項8】
前記スコアを生成することは、訓練されたスコア生成機械学習モデルを使用して、前記音楽的特徴量データを処理して前記スコアを生成することを含む、請求項3に記載の方法。
【請求項9】
前記音楽的特徴量データは音楽情報検索(MIR)データである、請求項1~8のいずれかに記載の方法。
【請求項10】
前記MIRデータは前記音楽のMIRブループリントである、請求項9に記載の方法。
(【請求項11】以降は省略されています)
発明の詳細な説明
【技術分野】
【0001】
少なくとも一部の例示的な実施形態が、音楽の推薦および音楽の作曲のシステムに関し、特に聴取者の情動状態に特定の変化を誘発することを意図した音楽を作曲および推薦するためのシステムに関する。
続きを表示(約 3,300 文字)
【背景技術】
【0002】
情動(affect)とは、心理学において、感情(emotion)、気分(mood)、または感じ(feeling)の体験を記述するために使用される概念である。人間は、異なる条件下で異なる情動状態を体験する。外的刺激が、ある人物の気分や情動に影響を与えることがある。
【0003】
多くの人々は、様々な種類の音楽刺激に対して特に鋭敏な情動応答を示す。音楽は、聴取者に特定の情動状態を誘発する際におけるその有効性を理由に、主に人類文化において相当に大きな役割を果たす。個々の聴取者は通常、例えば活力に満ちた状態、リラックスした状態、メランコリックな状態、懐かしい状態、幸せな状態、または活動的な状態などである目標の情動状態を維持または達成したいという願望に基づいて聴取する音楽を選択する。
【0004】
音楽推薦システムでは、聴取者が何を好む可能性があるかを推論することに基づいて、聴取者に音楽を推薦しようと試みる。これら推論は、通常、聴取者から収集したデータに基づく。このデータは、推薦の時点での聴取者とのインタラクションを通して、または全体的な聴取者の選好を示唆するそれまでのインタラクションの間に、収集され得る。推薦システムは、聴取者に対して一組のテーマを提示して、聴取者が選択したテーマに基づいて音楽を推薦してもよい。これらテーマは、ジャンル(クラシック、カントリー、ラップ)、季節または状況(クリスマスミュージック、ビーチミュージック)、または歴史的な年代(1960年代、1980年代、現代)を含む、いくつかの原則のうちのいずれかについて構成することができる。一部のテーマは、気分または他の情動状態の情報、例えば聴取者の情動状態(悲しみ、幸せ、リラックスしている、活力満ちている)を誘発またはそれに合致することを意図した音楽などを中心に構成され得る。テーマはまた、特定の情動状態を目指すことを示唆する活動を中心に構成されてもよい(調理または瞑想のための穏やかな音楽、トレーニングのための活動的な音楽、ダンスのためのアップビートでリズミカルな音楽)。
【0005】
また一部の音楽推薦システムは、聴取者を特定の楽曲構成に関連付けるデータを通して、聴取者の選好を推論する。このシステムは、例えば、聴取者による以前の音楽鑑賞の選択、または聴取者による以前の音楽録音の購入に関するデータを収集し得る。これら選択または購入は、例えば聴取者が好むものと類似した特徴をもつ楽曲構成を識別することなどによって、他の利用可能な楽曲構成と相互参照され得る。一部のシステムは、協調フィルタリングを使用して、当該聴取者に対して、類似の嗜好又は類似の選択もしくは購入履歴を有する他のユーザが好む構成を識別することができる。一部のシステムは、システムの推薦に関して聴取者からフィードバックを収集し、そしてユーザの選好についての当該システムのモデルおよびそれに応じた当該システムの推論の信頼度を更新することができる。
【0006】
情動に関連するテーマを含むシステムは、通常、個々の聴取者に固有ではない楽曲構成の全体的な特徴に基づいて、所与のテーマに合致する楽曲構成を識別する。ある楽曲構成の情動に関連する特徴は、典型的には、その楽曲構成全体を尊重して識別される。通常、楽曲を聴き、音楽情報検索(MIR)と呼ばれるプロセスに従って該楽曲を特徴付けるために、音楽分類の訓練を受けた専門家が採用される。MIRは、音楽の特徴量の抽出と表現に関与する。MIRでの特徴量を表現するための基準は、IRCAM(Institute for Research and Coordination in Acoustics/Music)によって公布されており、また例えばMatlab用のMIRツールボックスソフトウェアパッケージなどである、MIRを支援するソフトウェアが存在する。MIRデータの既存の集合の一部には、特定の楽曲構成に関連付けられた情動関連のタグまたは特徴量が含まれるが、これは、専門家である聴取者が、ある楽曲構成の全体としての情動関連の特徴量を評価することに基づいている。
【0007】
楽曲構成は通常、楽音的要素に関して、人間の情動についての洗練された形式的モデルが支援しているものではない。聴取者の特定の情動状態の変化を得ることを意図した音楽は、概して、作曲家がもつ主観的な基準に基づいて、人間である作曲家によって作曲されている。
【発明の概要】
【0008】
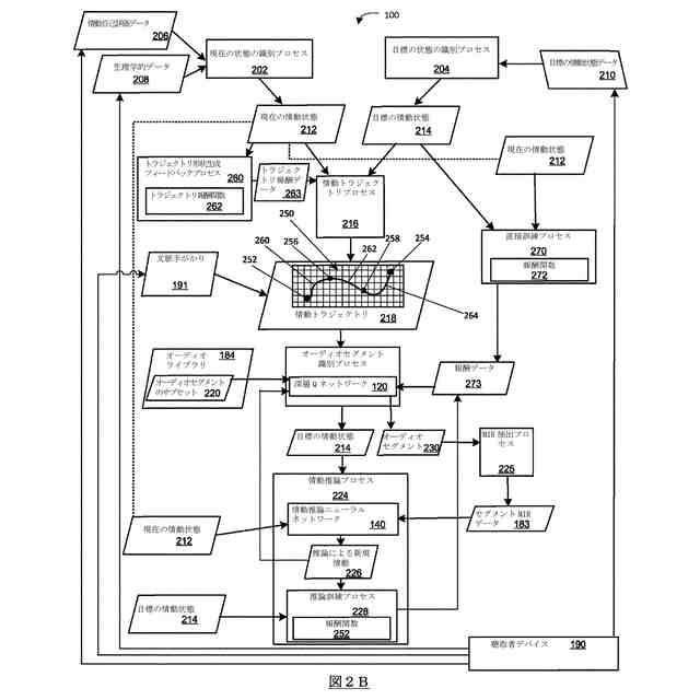
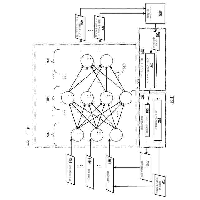
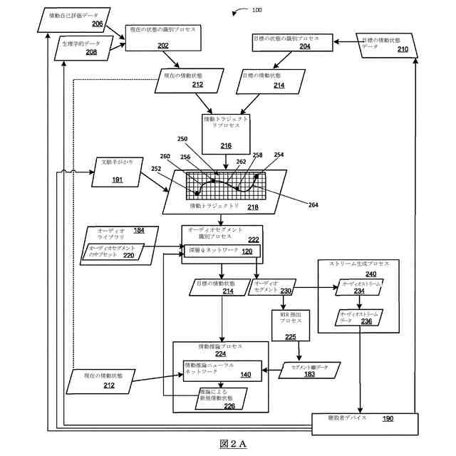
本開示は、情動音楽の推薦および作曲のためのデバイス、方法、システム、および非一時的媒体の例を記載する。一部の実施形態では、聴取者の現在の情動状態および目標の情動状態を識別し、そして現在の状態から目標の状態までの聴取者の情動状態の制御されたトラジェクトリを生じる意図で、オーディオストリーム(例えば音楽プレイリスト、サウンドデザイン、またはアルゴリズム的に作曲された楽曲など)を生成する。オーディオストリームは、所望の情動トラジェクトリを生じる際に、特定のオーディオセグメント、すなわち特定の特徴量を有するオーディオセグメント、の有効性を示す聴取者および/または他のユーザからのデータを使用して訓練された機械学習モデルにより生成する。一部の実施形態では、曲は、特定の聴取者または聴取者集団が特定の楽音的要素に対してどのように情動的に応答するかについてのモデルに基づいて、特定の目標の情動状態または特定の情動トラジェクトリが得られるように作曲され得る。
【0009】
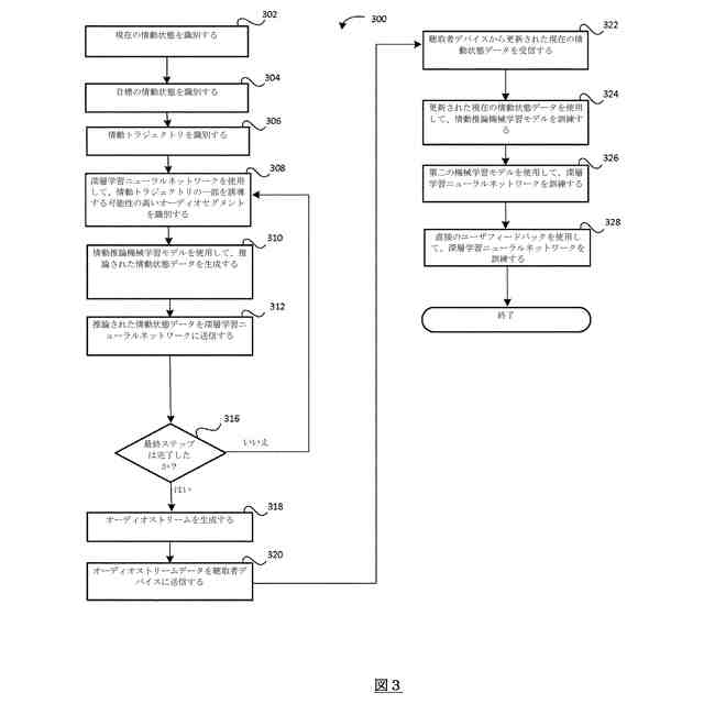
例示的実施形態は、聴取者に情動状態変化を誘発するためのオーディオストリームを生成する方法に向けられる。本方法は、聴取者の現在の情動状態を識別するステップと、聴取者の目標の情動状態を識別するステップと、現在の情動状態から目標の情動状態までの情動トラジェクトリを識別するステップと、訓練されたセグメント識別機械学習モデルを使用して、第一のオーディオセグメントが聴覚刺激として聴取者に提示されたときに情動トラジェクトリの少なくとも初期部分に対応する所望の情動応答を聴取者に誘発する可能性が高い第一のオーディオセグメントを識別するステップと、第一のオーディオセグメントの少なくとも一部に基づいてオーディオストリームを生成するステップと、オーディオストリームに基づくオーディオストリームデータを聴取者デバイスに送信するステップとを含む。
【0010】
第二の実施形態は、聴取者に情動状態の変化を誘発するためのオーディオストリームを生成するシステムに向けられる。当該システムは、プロセッサシステム、通信システム、および記憶装置を備える。記憶装置は、実行可能な訓練されたセグメント識別機械学習モデル、および実行可能な命令をそこに記憶している。プロセッサシステムにより実行される場合、実行可能な命令が、システムに対して、通信システムが受信した聴取者の状態データに基づいて聴取者の現在の情動状態を識別させ、通信システムが受信した目標の情動状態データに基づいて聴取者の目標の情動状態を識別させ、現在の情動状態から目標の情動状態までの情動トラジェクトリを識別させ、訓練されたセグメント識別機械学習モデルに対して、聴覚刺激として聴取者に提示されたときに聴取者の情動トラジェクトリの少なくとも初期部分に対応する所望の情動応答を聴取者に誘発する可能性が高い第一のオーディオセグメントを識別することを実行させ、第一のオーディオセグメントの少なくとも一部に基づいてオーディオストリームを生成させ、通信システムを用いてオーディオストリームに基づくオーディオストリームデータを聴取者デバイスに送信させる。
(【0011】以降は省略されています)
この特許をJ-PlatPat(特許庁公式サイト)で参照する
関連特許
個人
遮音材
19日前
個人
管楽器用リガチャ-
1か月前
個人
歌唱補助器具
28日前
横浜ゴム株式会社
音響材
12日前
個人
音声出力装置
19日前
大和ハウス工業株式会社
音低減設備
29日前
DIC株式会社
吸音材及び吸音部品
1か月前
個人
管楽器用音質改善留め具
6日前
NOK株式会社
吸音構造体
21日前
株式会社SinasSP
自動騒音低減装置
1か月前
矢崎総業株式会社
車両用対話システム
20日前
横浜ゴム株式会社
多層空洞音響材
19日前
株式会社第一興商
カラオケ装置
20日前
カシオ計算機株式会社
発音装置、発音方法及びプログラム
1か月前
トヨタ自動車株式会社
判定装置
1か月前
シャープ株式会社
電子機器および電子機器の制御方法
1か月前
ブラザー工業株式会社
カラオケ用プログラム、及び、カラオケ装置
1か月前
ブラザー工業株式会社
音声録音装置、及び、音声録音用プログラム
1か月前
株式会社JVCケンウッド
収音装置、収音方法、およびプログラム
1か月前
大建工業株式会社
吸音体及び音環境調整構造
1か月前
ヤマハ株式会社
音処理装置及び音処理方法
6日前
有限会社ツバサ
エレキギターおよび保護フィルム付きの樹脂プレート
1か月前
有限会社 宮脇工房
モーター挙動音発生装置
28日前
株式会社デンソー
制御装置、制御方法、及び制御プログラム
12日前
株式会社リコー
対話装置、対話システム、対話方法及びプログラム
1か月前
株式会社SUBARU
乗物用遮音構造体、及び車両
1か月前
株式会社NTTドコモ
情報処理装置及び情報処理方法
1か月前
株式会社第一興商
カラオケ装置、カラオケシステム
14日前
本田技研工業株式会社
能動型振動騒音制御装置
1か月前
本田技研工業株式会社
能動型振動騒音制御装置
1か月前
本田技研工業株式会社
能動型振動騒音低減装置
1か月前
本田技研工業株式会社
能動型振動騒音低減装置
1か月前
カシオ計算機株式会社
情報処理装置、方法およびプログラム
1か月前
固昌通訊股ふん有限公司
音響調整装置
1か月前
株式会社クラウン・パッケージ
音発生具及び音発生具を形成するブランクシート
1か月前
株式会社コルグ
楽音信号変換装置、楽音信号変換方法、プログラム
22日前
続きを見る
他の特許を見る