TOP
|
特許
|
意匠
|
商標
特許ウォッチ
Twitter
他の特許を見る
10個以上の画像は省略されています。
公開番号
2025170179
公報種別
公開特許公報(A)
公開日
2025-11-14
出願番号
2025154616,2023139112
出願日
2025-09-18,2023-08-29
発明の名称
電子楽器、方法およびプログラム
出願人
カシオ計算機株式会社
代理人
インフォート弁理士法人
主分類
G10H
1/00 20060101AFI20251107BHJP(楽器;音響)
要約
【課題】再生音が適切に再生されない不具合を抑制すること。
【解決手段】電子楽器は、演奏操作子と、ユーザが前記演奏操作子を操作する毎に前記操作に応じた演奏データが記憶される記憶部と、少なくとも1つのプロセッサと、を備える。前記少なくとも1つのプロセッサは、録音状態にあるとき、前記演奏操作子に対するユーザの操作に応じて前記演奏データを前記記憶部に記憶する処理を、第1の周期で実行し、再生状態にあるとき、前記記憶部に記憶された演奏データを出力する処理を、前記第1の周期より長い第2の周期で実行する。
【選択図】図4
特許請求の範囲
【請求項1】
演奏操作子と、
ユーザが前記演奏操作子を操作する毎に前記操作に応じた演奏データが記憶される記憶部と、
少なくとも1つのプロセッサと、を備え、
前記少なくとも1つのプロセッサは、
録音状態にあるとき、前記演奏操作子に対するユーザの操作に応じて前記演奏データを前記記憶部に記憶する処理を、第1の周期で実行し、
再生状態にあるとき、前記記憶部に記憶された前記演奏データを出力する処理を、前記第1の周期より長い第2の周期で実行する、
電子楽器。
続きを表示(約 1,000 文字)
【請求項2】
前記少なくとも1つのプロセッサは、
前記演奏データを出力する処理において、前記演奏データを前記第2の周期でクオンタイズする、
請求項1に記載の電子楽器。
【請求項3】
前記少なくとも1つのプロセッサは、
前記操作に応じてシステム時間を取得し、
取得した前記システム時間に基づいて、前回操作された時間と、今回の操作された時間と、の差分時間情報を取得し、
前記演奏データは、前記差分時間情報を含む、
請求項1に記載の電子楽器。
【請求項4】
前記演奏操作子が操作された前回の時刻と、前記演奏操作子が操作された今回の時刻と、の差分時間が、今回の前記演奏データに含めて記憶されており、
前記少なくとも1つのプロセッサは、
前記記憶部内の再生開始位置より後に位置する各前記演奏データに含まれる前記差分時間を取得し、
取得された前記差分時間に基づいて、前記第2の周期が到来する毎に、対応する前記演奏データを出力する、
請求項1に記載の電子楽器。
【請求項5】
前記少なくとも1つのプロセッサは、
前記録音状態でなく且つ前記再生状態でない待機状態にあるときに、ユーザが前記演奏操作子を操作すると、前記録音状態へ遷移する、
請求項1に記載の電子楽器。
【請求項6】
前記演奏操作子は、鍵盤であり、
前記鍵盤へのユーザ操作に基づいて、前記演奏データを出力する処理が実行される、
請求項1に記載の電子楽器。
【請求項7】
電子楽器のコンピュータが、
録音状態にあるとき、演奏操作子に対するユーザの操作に応じて、演奏データを記憶部に記憶する処理を、第1の周期で実行し、
再生状態にあるとき、前記記憶部に記憶された演奏データを出力する処理を、前記第1の周期より長い第2の周期で実行する、
方法。
【請求項8】
電子楽器のコンピュータが、
録音状態にあるとき、演奏操作子に対するユーザの操作に応じて、演奏データを記憶部に記憶する処理を、第1の周期で実行し、
再生状態にあるとき、前記記憶部に記憶された演奏データを出力する処理を、前記第1の周期より長い第2の周期で実行する、
処理を実行するためのプログラム。
発明の詳細な説明
【技術分野】
【0001】
本明細書の開示は、電子楽器、方法およびプログラムに関する。
続きを表示(約 1,800 文字)
【背景技術】
【0002】
ユーザによる演奏を録音および再生することが可能な電子楽器が知られている(例えば特許文献1参照)。特許文献1に記載の電子楽器は、ユーザ操作に応じて、録音済みの演奏を再生する。
【先行技術文献】
【特許文献】
【0003】
特開2008-152054号公報
【発明の概要】
【発明が解決しようとする課題】
【0004】
この種の電子楽器は、再生処理時のサンプリングレートを高くするほど、録音された演奏を高い再現性で再生することができる。一方、サンプリングレートを高くするほど、電子楽器の処理負荷が増加する。処理負荷が増加する影響で、再生音が適切に再生されない(例えば再生音がもたる)ことがある。
【0005】
本発明は上記の事情に鑑みてなされたものであり、その目的とするところは、再生音が適切に再生されない不具合を抑制できる電子楽器、方法およびプログラムを提供することである。
【課題を解決するための手段】
【0006】
本発明の一実施形態に係る電子楽器は、演奏操作子と、ユーザが前記演奏操作子を操作する毎に前記操作に応じた演奏データが記憶される記憶部と、少なくとも1つのプロセッサと、を備える。前記少なくとも1つのプロセッサは、録音状態にあるとき、前記演奏操作子に対するユーザの操作に応じて前記演奏データを前記記憶部に記憶する処理を、第1の周期で実行し、再生状態にあるとき、前記記憶部に記憶された前記演奏データを出力する処理を、前記第1の周期より長い第2の周期で実行する。
【発明の効果】
【0007】
本発明の一実施形態によれば、再生音が適切に再生されない不具合を抑制できる電子楽器、方法およびプログラムが提供される。
【図面の簡単な説明】
【0008】
本発明の一実施形態に係る電子楽器の外観を示す図である。
本発明の一実施形態に係る電子楽器の構成を示すブロック図である。
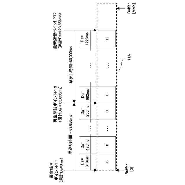
本発明の一実施形態に係る電子楽器に備えられるリングバッファへの演奏データの書き込みに関する説明図である。
本発明の一実施形態に係る電子楽器に備えられるプロセッサの状態遷移図である。
本発明の一実施形態におけるリングバッファへの演奏データの書き込みに関する説明図である。
本発明の一実施形態におけるリングバッファへの演奏データの書き込みに関する説明図である。
本発明の一実施形態に係る電子楽器の白鍵に対する押鍵操作に応じた再生開始ポイントに関する説明図である。
本発明の一実施形態に係る電子楽器の白鍵に対する押鍵操作に応じた早戻し処理の一例を説明する図である。
本発明の一実施形態に係る電子楽器の黒鍵に対する押鍵操作に応じた再生開始ポイントに関する説明図である。
本発明の一実施形態において演奏データを再生する際の処理タイミングの一例を示す図である。
本発明の一実施形態においてプロセッサが実行する録音処理のフローチャートである。
図10に示される録音タスク(ステップS102)のサブルーチンである。
本発明の一実施形態においてプロセッサが実行する再生処理のフローチャートである。
図12に示される再生開始ポイント決定処理(ステップS301)のサブルーチンである。
図12に示される出力タスク(ステップS305)のサブルーチンである。
【発明を実施するための形態】
【0009】
図面を参照して、本発明の一実施形態に係る電子楽器、コンピュータの一例である電子楽器で実行される方法およびプログラムについて詳細に説明する。
【0010】
図1は、本発明の一実施形態に係る電子楽器1の外観を示す図である。図2は、電子楽器1の構成を示すブロック図である。電子楽器1は、例えば電子キーボードである。電子楽器1は、電子ピアノなど、電子キーボード以外の電子鍵盤楽器であってもよい。電子楽器1は、電子打楽器、電子管楽器、電子弦楽器などの、他の形態の電子楽器であってもよい。
(【0011】以降は省略されています)
この特許をJ-PlatPat(特許庁公式サイト)で参照する
関連特許
カシオ計算機株式会社
光源装置及び投影装置
20日前
カシオ計算機株式会社
プログラム及びデータ処理方法
4日前
カシオ計算機株式会社
イヤホンデバイス、電子システム
11日前
カシオ計算機株式会社
情報処理装置、情報処理方法、及びプログラム
14日前
カシオ計算機株式会社
ウェアラブル機器、装着判定方法及びプログラム
14日前
カシオ計算機株式会社
時計
11日前
カシオ計算機株式会社
電子鍵盤楽器
13日前
カシオ計算機株式会社
売上データ処理システム、売上データ処理方法、及びプログラム
19日前
カシオ計算機株式会社
バンド駒の製造方法
11日前
カシオ計算機株式会社
電子楽器、方法およびプログラム
4日前
カシオ計算機株式会社
ロボット、制御方法及びプログラム
4日前
カシオ計算機株式会社
ロボット、制御方法及びプログラム
4日前
個人
遮音材
11日前
個人
木管楽器
1か月前
個人
歌唱補助器具
20日前
個人
管楽器用リガチャ-
28日前
横浜ゴム株式会社
音響材
4日前
個人
音声出力装置
11日前
大和ハウス工業株式会社
音低減設備
21日前
DIC株式会社
吸音材及び吸音部品
22日前
NOK株式会社
吸音構造体
13日前
株式会社SinasSP
自動騒音低減装置
1か月前
横浜ゴム株式会社
多層空洞音響材
11日前
矢崎総業株式会社
車両用対話システム
12日前
日本軽金属株式会社
遮音壁
1か月前
株式会社第一興商
カラオケ装置
1か月前
カシオ計算機株式会社
発音装置、発音方法及びプログラム
1か月前
トヨタ自動車株式会社
判定装置
1か月前
株式会社第一興商
カラオケ装置
12日前
ブラザー工業株式会社
カラオケ装置及びカラオケプログラム
1か月前
シャープ株式会社
電子機器および電子機器の制御方法
1か月前
大建工業株式会社
吸音体及び音環境調整構造
1か月前
株式会社JVCケンウッド
収音装置、収音方法、およびプログラム
1か月前
ブラザー工業株式会社
カラオケ用プログラム、及び、カラオケ装置
1か月前
ブラザー工業株式会社
音声録音装置、及び、音声録音用プログラム
1か月前
有限会社ツバサ
エレキギターおよび保護フィルム付きの樹脂プレート
1か月前
続きを見る
他の特許を見る