TOP
|
特許
|
意匠
|
商標
特許ウォッチ
Twitter
他の特許を見る
公開番号
2025160859
公報種別
公開特許公報(A)
公開日
2025-10-23
出願番号
2024141834
出願日
2024-08-23
発明の名称
ビート周波数イヤホン
出願人
固昌通訊股ふん有限公司
,
Cotron Corporation
代理人
個人
,
個人
,
個人
,
個人
主分類
H04R
3/00 20060101AFI20251016BHJP(電気通信技術)
要約
【課題】使用者に音波を聴取する以外の対応する効果をもたらすビート周波数イヤホンを提供する。
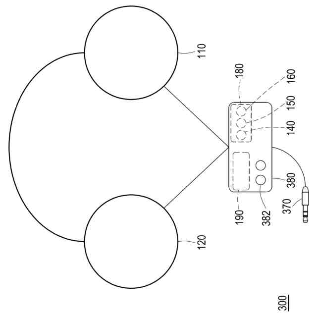
【解決手段】ビート周波数イヤホン100の周波数調整器160は、配線を介して左耳スピーカー110および右耳スピーカー120に信号接続され、無線通信器140に信号接続される。周波数調整器は、無線通信器から外部音声信号を受信する。周波数調整器は、外部音声信号を第1音声信号に調整した後、左耳スピーカーに送信して、第1音波を発生させる。周波数調整器は、外部音声信号を第2音声信号に調整した後、右耳スピーカーに送信して、第2音波を発生させる。第1音波の第1周波数と第2音波の第2周波数は、周波数差値を有する。
【選択図】図1
特許請求の範囲
【請求項1】
使用者の左耳に第1音波を提供するための左耳スピーカーと、
前記使用者の右耳に第2音波を提供するための右耳スピーカーと、
無線通信器と、
配線を介して前記左耳スピーカーと前記右耳スピーカーに信号接続され、前記無線通信器に信号接続される周波数調整器と、
を含み、
前記周波数調整器が、前記無線通信器から外部音声信号を受信し、前記周波数調整器が、前記外部音声信号を第1音声信号に調整した後、前記左耳スピーカーに送信して、前記第1音波を発生させ、前記周波数調整器が、前記外部音声信号を第2音声信号に調整した後、前記右耳スピーカーに送信して、前記第2音波を発生させ、前記第1音波の第1周波数と前記第2音波の第2周波数が、周波数差値を有する、
ビート周波数イヤホン。
続きを表示(約 950 文字)
【請求項2】
音源接続ポートおよびスイッチをさらに含み、前記周波数調整器が、前記スイッチを介して前記音源接続ポートまたは前記無線通信器に信号接続され、前記音源接続ポートまたは前記無線通信器から前記外部音声信号を受信する、
請求項1に記載のビート周波数イヤホン。
【請求項3】
音源ケーブルをさらに含み、前記音源ケーブルの両端が、それぞれ前記音源接続ポートとアナログ音源出力装置の音源出力ソケットに挿入される、
請求項2に記載のビート周波数イヤホン。
【請求項4】
制御ボックスをさらに含み、前記音源接続ポート、前記無線通信器、前記スイッチ、および前記周波数調整器が、前記制御ボックスに設置される、
請求項2に記載のビート周波数イヤホン。
【請求項5】
前記スイッチが、手動スイッチである、
請求項2に記載のビート周波数イヤホン。
【請求項6】
FMラジオ放送またはブルートゥース放送を受信するために使用され、配線を介して前記左耳スピーカーと前記右耳スピーカーに信号接続される無線受信器をさらに含む、
請求項1に記載のビート周波数イヤホン。
【請求項7】
前記無線通信器が、携帯電話と無線通信を行い、前記携帯電話が、前記外部音声信号を送信する、
請求項1に記載のビート周波数イヤホン。
【請求項8】
前記無線通信器が、ブルートゥース通信を行う、
請求項1に記載のビート周波数イヤホン。
【請求項9】
前記周波数調整器が、順番に信号接続されたアナログ/デジタル変換回路、周波数調整回路、およびデジタル/アナログ変換回路を含む、
請求項1に記載のビート周波数イヤホン。
【請求項10】
前記周波数差値が、切り替え可能な複数の第1周波数差値を含み、前記複数の第1周波数差値が、0.5Hz~4Hzの間、4Hz~8Hzの間、8Hz~12Hzの間、12Hz~20Hzの間、および25Hz~40Hzの間のうちの2つ以上の範囲内にある、
請求項1に記載のビート周波数イヤホン。
(【請求項11】以降は省略されています)
発明の詳細な説明
【技術分野】
【0001】
本発明は、イヤホンに関するものであり、特に、ビート周波数(beat frequency)イヤホンに関するものである。
続きを表示(約 1,300 文字)
【背景技術】
【0002】
現在の科学技術の急速な進歩に伴い、長距離移動は、人々の日常生活の一部となっている。長距離移動による疲労を軽減するために、人々はよく、周囲の人々に影響を与えないようにしながら、イヤホンを使用して音楽を聴いたり映像コンテンツを楽しんだりしている。しかしながら、イヤホンの使用体験を向上させることは、イヤホン業界が改良し続けている部分となっている。
【発明の概要】
【発明が解決しようとする課題】
【0003】
本発明は、使用者にバイノーラルビート(binaural beats)を感じさせることのできるビート周波数イヤホンを提供する。
【課題を解決するための手段】
【0004】
本発明のビート周波数イヤホンは、左耳スピーカー、右耳スピーカー、無線通信器、および周波数調整器を含む。左耳スピーカーは、使用者の左耳に第1音波を提供するために用いられる。右耳スピーカーは、使用者の右耳に第2音波を提供するために用いられる。周波数調整器は、配線を介して左耳スピーカーおよび右耳スピーカーに信号接続され、無線通信器に信号接続される。周波数調整器は、無線通信器から外部音声信号を受信する。周波数調整器は、外部音声信号を第1音声信号に調整した後、左耳スピーカーに送信して、第1音波を発生させる。周波数調整器は、外部音声信号を第2音声信号に調整した後、右耳スピーカーに送信して、第2音波を発生させる。第1音波の第1周波数と第2音波の第2周波数は、周波数差値を有する。
【0005】
上述したビート周波数イヤホンの1つの実施形態において、ビート周波数イヤホンは、さらに、音源接続ポートおよびスイッチを含む。周波数調整器は、スイッチを介して音源接続ポートまたは無線通信器に信号接続され、音源接続ポートまたは無線通信器から外部音声信号を受信する。
【0006】
上述したビート周波数イヤホンの1つの実施形態において、ビート周波数イヤホンは、さらに、音源ケーブルを含む。音源ケーブルの両端は、それぞれ音源接続ポートおよびアナログ音源出力装置の音源出力ソケットに挿入される。
【0007】
上述したビート周波数イヤホンの1つの実施形態において、ビート周波数イヤホンは、さらに、制御ボックスを含む。音源接続ポート、無線通信器、スイッチ、および周波数調整器は、制御ボックスに設置される。
【0008】
上述したビート周波数イヤホンの1つの実施形態において、スイッチは、手動スイッチである。
【0009】
上述したビート周波数イヤホンの1つの実施形態において、ビート周波数イヤホンは、さらに、FMラジオ放送またはブルートゥース(Bluetooth)放送を受信するために使用され、配線を介して左耳スピーカーおよび右耳スピーカーに信号接続される無線受信器を含む。
【0010】
上述したビート周波数イヤホンの1つの実施形態において、無線通信器は、携帯電話と無線通信を行い、携帯電話は、外部音声信号を送信する。
(【0011】以降は省略されています)
この特許をJ-PlatPat(特許庁公式サイト)で参照する
関連特許
固昌通訊股ふん有限公司
音響調整装置
28日前
固昌通訊股ふん有限公司
ビート周波数イヤホン
29日前
個人
イヤーピース
14日前
個人
イヤーマフ
28日前
個人
監視カメラシステム
1か月前
キーコム株式会社
光伝送線路
1か月前
個人
スイッチシステム
22日前
個人
スキャン式車載用撮像装置
1か月前
WHISMR合同会社
収音装置
2か月前
サクサ株式会社
中継装置
1か月前
サクサ株式会社
中継装置
1か月前
アイホン株式会社
電気機器
2か月前
キヤノン株式会社
撮像装置
2か月前
サクサ株式会社
無線通信装置
1か月前
キヤノン電子株式会社
画像読取装置
2か月前
株式会社リコー
画像形成装置
1か月前
株式会社リコー
画像形成装置
2か月前
サクサ株式会社
無線通信装置
1か月前
キヤノン電子株式会社
画像読取装置
1か月前
キヤノン電子株式会社
画像読取装置
14日前
個人
ワイヤレスイヤホン対応耳掛け
2か月前
株式会社リコー
画像形成装置
2か月前
サクサ株式会社
無線システム
1か月前
個人
映像表示装置、及びARグラス
23日前
キヤノン電子株式会社
画像読取装置
22日前
ヤマハ株式会社
放音制御装置
22日前
キヤノン株式会社
情報処理装置
1日前
日本電気株式会社
海底分岐装置
1か月前
個人
発信機及び発信方法
1か月前
キヤノン電子株式会社
シート搬送装置
14日前
キヤノン株式会社
撮像システム
2か月前
キヤノン株式会社
画像処理装置
17日前
沖電気工業株式会社
画像形成装置
1か月前
日本セラミック株式会社
超音波送受信器
1日前
沖電気工業株式会社
画像形成装置
1か月前
株式会社NTTドコモ
端末
1か月前
続きを見る
他の特許を見る