TOP
|
特許
|
意匠
|
商標
特許ウォッチ
Twitter
他の特許を見る
10個以上の画像は省略されています。
公開番号
2025152407
公報種別
公開特許公報(A)
公開日
2025-10-09
出願番号
2024054281
出願日
2024-03-28
発明の名称
カメラ装置の保持構造
出願人
アイホン株式会社
代理人
個人
主分類
G03B
17/56 20210101AFI20251002BHJP(写真;映画;光波以外の波を使用する類似技術;電子写真;ホログラフイ)
要約
【課題】工具等を用いずともカメラ装置を所望の回転姿勢で仮保持することができ、カメラ装置の設置作業を容易に行うことができるカメラ装置の保持構造を提供する。
【解決手段】上方へ突出する軸部44が、カメラ装置2が連結されてカメラ装置2側となる連結金具34に設けられている一方、軸部44を下方から上方へ貫通させた状態で軸支する軸支孔40を備えた保持部36が、壁面に設置される通信装置3に固定されて設置面側となる保持金具33に設けられている。そして、軸支孔40よりも上方へ突出する軸部44の先端に、軸支孔40より大径な抜け止め板56がネジ止めされているとともに、上下方向で抜け止め板56と保持部36との間に、ウェーブワッシャ55が介在されており、カメラ装置2の重量によって、ウェーブワッシャ55が、抜け止め板56と保持部36側とにより上下から挟持されている。
【選択図】図7
特許請求の範囲
【請求項1】
所定の設置面に対して、上下方向を軸とする回転動作可能にカメラ装置を保持するためのカメラ装置の保持構造であって、
上方へ突出する軸部が前記カメラ装置側に設けられ、前記軸部を下方から上方へ貫通させた状態で軸支する軸支孔を備えた軸支部が前記設置面側に設けられている一方、
前記軸部の前記軸支孔よりも上方へ突出した箇所に、前記軸支孔より大径な抜け止め部が取り付けられているとともに、上下方向で前記抜け止め部と前記軸支部との間に、ウェーブワッシャが介在されており、
前記カメラ装置の重量によって、前記ウェーブワッシャが、前記抜け止め部と前記軸支部側とにより上下から挟持されていることを特徴とするカメラ装置の保持構造。
続きを表示(約 410 文字)
【請求項2】
所定の設置面に対して、上下方向を軸とする回転動作可能にカメラ装置を保持するためのカメラ装置の保持構造であって、
下方へ突出する軸部が前記設置面側に設けられ、前記軸部を上方から下方へ貫通させた状態で軸支する軸支孔を備えた軸支部が前記カメラ装置側に設けられている一方、
前記軸部の前記軸支孔よりも下方へ突出した箇所に、前記軸支孔より大径な抜け止め部が取り付けられているとともに、上下方向で前記抜け止め部と前記軸支部との間に、ウェーブワッシャが介在されており、
前記カメラ装置の重量によって、前記ウェーブワッシャが、前記抜け止め部と前記軸支部側とにより上下から挟持されていることを特徴とするカメラ装置の保持構造。
【請求項3】
前記ウェーブワッシャと前記軸支部との間に、合成樹脂製の保護リングが介在されていることを特徴とする請求項1又は2に記載のカメラ装置の保持構造。
発明の詳細な説明
【技術分野】
【0001】
本発明は、所定の設置面に対して、上下方向を軸とする回転動作によって撮像方向を左右に調整可能なカメラ装置を保持するための保持構造に関するものである。
続きを表示(約 3,200 文字)
【背景技術】
【0002】
従来カメラ装置としては、上下方向を軸とする回転動作によって撮像方向を左右に調整可能としたものがある。そして、そのようなカメラ装置がある程度重量のあるようなものであると、たとえば特許文献1に記載されているように、ネジ止めによってカメラ装置を所定の回転姿勢で保持するようにすることがある。したがって、カメラ装置の回転姿勢を調整する際には、一旦ネジを緩めてカメラ装置の回転姿勢を所望の回転姿勢に調整した後、再度ネジを締め直すことになる。
【先行技術文献】
【特許文献】
【0003】
特開2021-43410号公報
【発明の概要】
【発明が解決しようとする課題】
【0004】
しかしながら、上述したような従来のカメラ装置の保持構造では、カメラ装置の回転姿勢を調整するにあたって緩めたネジを締め直す前に、カメラ装置を調整後の回転姿勢のまま仮保持することができるような構造を有していない。したがって、緩めたネジを軽く締め直す等して仮保持することになるが、そうなるとカメラ装置の仮保持にも工具を用いた作業が必要となり、カメラ装置の回転姿勢の調整作業、ひいてはカメラ装置の設置作業が煩わしいという問題がある。
【0005】
そこで、本発明は、上記問題に鑑みなされたものであって、工具等を用いずともカメラ装置を所望の回転姿勢で仮保持することができ、カメラ装置の設置作業を容易に行うことができるカメラ装置の保持構造を提供しようとするものである。
【課題を解決するための手段】
【0006】
上記目的を達成するために、本発明のうち請求項1に記載の発明は、所定の設置面に対して、上下方向を軸とする回転動作可能にカメラ装置を保持するためのカメラ装置の保持構造であって、上方へ突出する軸部がカメラ装置側に設けられ、軸部を下方から上方へ貫通させた状態で軸支する軸支孔を備えた軸支部が設置面側に設けられている一方、軸部の軸支孔よりも上方へ突出した箇所に、軸支孔より大径な抜け止め部が取り付けられているとともに、上下方向で抜け止め部と軸支部との間に、ウェーブワッシャが介在されており、カメラ装置の重量によって、ウェーブワッシャが、抜け止め部と軸支部側とにより上下から挟持されていることを特徴とする。
請求項1に記載の発明によれば、カメラ装置の重量により抜け止め部と軸支部側との間に生じる摩擦力によって、カメラ装置が所定の回転姿勢で仮保持される一方、回転方向への負荷をカメラ装置にかけることによって、上記摩擦力に抗してカメラ装置の姿勢を変更することができる。また、その姿勢変更にあたっては、ウェーブワッシャによって抜け止め部と軸支部側との間に隙間が生じることで上記摩擦力が軽減されているため、工具等を必要としない。したがって、工具等を用いずともカメラ装置を所望の回転姿勢で仮保持することができるとともに、仮保持されているカメラ装置の回転姿勢を更に変更する際にも工具等を用いる必要がなく、カメラ装置の回転姿勢の調整作業、ひいてはカメラ装置の設置作業を容易に行うことができる。
【0007】
また、上記目的を達成するために、本発明のうち請求項2に記載の発明は、所定の設置面に対して、上下方向を軸とする回転動作可能にカメラ装置を保持するためのカメラ装置の保持構造であって、下方へ突出する軸部が設置面側に設けられ、軸部を上方から下方へ貫通させた状態で軸支する軸支孔を備えた軸支部がカメラ装置側に設けられている一方、軸部の軸支孔よりも下方へ突出した箇所に、軸支孔より大径な抜け止め部が取り付けられているとともに、上下方向で抜け止め部と軸支部との間に、ウェーブワッシャが介在されており、カメラ装置の重量によって、ウェーブワッシャが、抜け止め部と軸支部側とにより上下から挟持されていることを特徴とする。
請求項2に記載の発明によれば、カメラ装置の重量により抜け止め部と軸支部側との間に生じる摩擦力によって、カメラ装置が所定の回転姿勢で仮保持される一方、回転方向への負荷をカメラ装置にかけることによって、上記摩擦力に抗してカメラ装置の姿勢を変更することができる。また、その姿勢変更にあたっては、ウェーブワッシャによって抜け止め部と軸支部側との間に隙間が生じることで上記摩擦力が軽減されているため、工具等を必要としない。したがって、工具等を用いずともカメラ装置を所望の回転姿勢で仮保持することができるとともに、仮保持されているカメラ装置の回転姿勢を更に変更する際にも工具等を用いる必要がなく、カメラ装置の回転姿勢の調整作業、ひいてはカメラ装置の設置作業を容易に行うことができる。
【0008】
請求項3に記載の発明は、請求項1又は2に記載の発明において、ウェーブワッシャと軸支部との間に、合成樹脂製の保護リングが介在されていることを特徴とする。
請求項3に記載の発明によれば、ウェーブワッシャと軸支部との間に、合成樹脂製の保護リングが介在されているため、カメラ装置の姿勢変更時にウェーブワッシャによって軸支部が傷つく事態を防止することができる。
【発明の効果】
【0009】
本発明によれば、カメラ装置側又は設置面側に軸部を、設置面側又はカメラ装置側に軸支部を夫々設ける一方、軸部における軸支孔から所定方向へ突出した箇所に、軸支孔より大径な抜け止め部を取り付けるとともに、上下方向で抜け止め部と軸支部との間に、ウェーブワッシャを介在させ、カメラ装置の重量によって、ウェーブワッシャが、抜け止め部と軸支部側とにより上下から挟持されるようにした。そのため、カメラ装置の重量により抜け止め部と軸支部側との間に生じる摩擦力によって、カメラ装置が所定の回転姿勢で仮保持される一方、回転方向への負荷をカメラ装置にかけることによって、上記摩擦力に抗してカメラ装置の姿勢を変更することができる。また、その姿勢変更にあたっては、ウェーブワッシャによって抜け止め部と軸支部側との間に隙間が生じることで上記摩擦力が軽減されているため、工具等を必要としない。したがって、工具等を用いずともカメラ装置を所望の回転姿勢で仮保持することができるとともに、仮保持されているカメラ装置の回転姿勢を更に変更する際にも工具等を用いる必要がなく、カメラ装置の回転姿勢の調整作業、ひいてはカメラ装置の設置作業を容易に行うことができる。
【図面の簡単な説明】
【0010】
監視カメラの外観を示した斜視説明図である。
化粧パネルが取り外されたカメラ装置の本体ケースを前側から示した説明図である。
通信装置を前側から示した説明図である。
化粧カバーが取り外された通信装置の本体ケースを前側から示した説明図である。
図4の状態にある本体ケースから後金具を分離した状態を前方左斜め上から示した斜視説明図である。
図5と同状態にある本体ケース及び後金具を前方左斜め下から示した斜視説明図である。
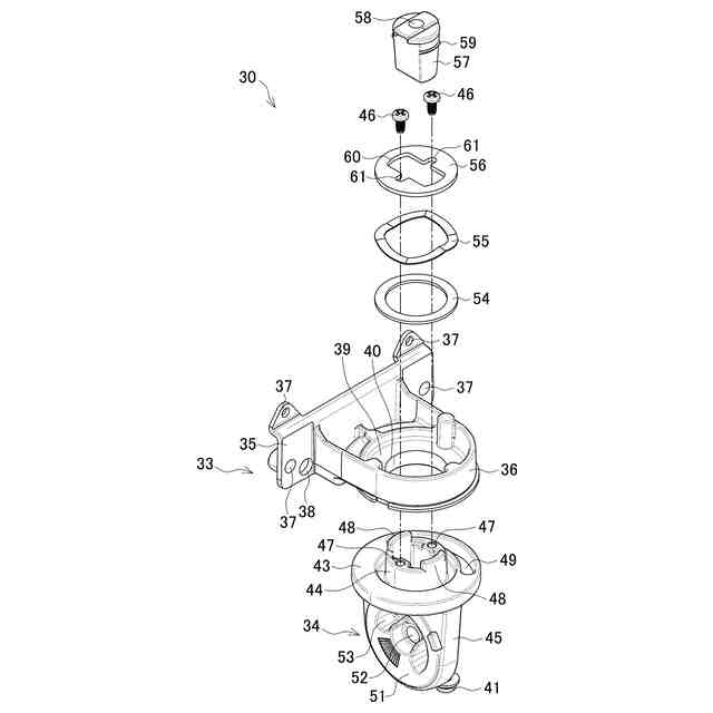
分解状態にある後金具を前方左斜め上から示した斜視説明図である。
分解状態にある後金具を前方左斜め下から示した斜視説明図である。
分解状態にある後金具を前方右斜め下から示した斜視説明図である。
連結金具を上側から示した説明図である。
ケース保持部材を示した説明図であり、(a)は前側から、(b)は上側から夫々示している。
後金具における連結金具の回転中心を通る前後方向での垂直断面を示した説明図である。
【発明を実施するための形態】
(【0011】以降は省略されています)
この特許をJ-PlatPat(特許庁公式サイト)で参照する
関連特許
アイホン株式会社
電気機器
1か月前
アイホン株式会社
電気機器
1か月前
アイホン株式会社
電気機器
1か月前
アイホン株式会社
通信システム
1か月前
アイホン株式会社
カメラシステム
1か月前
アイホン株式会社
カメラ装置の保持構造
1か月前
アイホン株式会社
インターホンシステム
1か月前
アイホン株式会社
インターホンシステム
1か月前
アイホン株式会社
インターホンシステム
1か月前
アイホン株式会社
インターホンシステム
1か月前
アイホン株式会社
仕様情報管理システム
1か月前
アイホン株式会社
鍵貸出システム、鍵貸出システムを備えた集合玄関機
1か月前
アイホン株式会社
インターホンシステムおよびインターホンシステムにおける制御方法
9日前
ヤマハ株式会社
解錠管理方法および解錠管理システム
1か月前
個人
表示装置
1か月前
個人
雨用レンズカバー
29日前
株式会社シグマ
絞りユニット
1か月前
キヤノン株式会社
撮像装置
22日前
キヤノン株式会社
撮像装置
22日前
日本精機株式会社
車両用投射装置
1か月前
キヤノン株式会社
撮像装置
22日前
キヤノン株式会社
撮像装置
1か月前
キヤノン株式会社
撮像装置
2か月前
キヤノン株式会社
撮像装置
1か月前
平和精機工業株式会社
雲台
2か月前
株式会社リコー
画像形成装置
3か月前
株式会社リコー
画像形成装置
10日前
株式会社リコー
画像形成装置
3か月前
株式会社リコー
画像形成装置
16日前
株式会社リコー
画像形成装置
2か月前
株式会社リコー
画像形成装置
16日前
株式会社リコー
画像形成装置
19日前
株式会社リコー
画像形成装置
1日前
株式会社リコー
画像形成装置
3か月前
株式会社リコー
画像形成装置
1か月前
株式会社リコー
画像形成装置
2か月前
続きを見る
他の特許を見る