TOP
|
特許
|
意匠
|
商標
特許ウォッチ
Twitter
他の特許を見る
10個以上の画像は省略されています。
公開番号
2025166376
公報種別
公開特許公報(A)
公開日
2025-11-06
出願番号
2024070361
出願日
2024-04-24
発明の名称
三次元造形装置
出願人
セイコーエプソン株式会社
代理人
個人
,
個人
,
個人
主分類
B29C
64/35 20170101AFI20251029BHJP(プラスチックの加工;可塑状態の物質の加工一般)
要約
【課題】クリーニング部材に付着した廃材が、再度ノズルに付着することを抑制可能な技術を提供する。
【解決手段】三次元造形装置は、ステージに向けて造形材料を吐出する吐出口を有するノズルと、造形材料が流れる流路に設けられ、流路の開度を変化させることによってノズルへの造形材料の供給量を制御する吐出制御機構と、吐出制御機構と吐出口との間の流路に接続された分岐流路内に流路内の造形材料を吸引する吸引操作と、分岐流路内に吸引した造形材料を流路に送出する送出操作とが実行される吸引送出部と、ノズルから造形材料が吐出した状態で吐出制御機構を制御してノズルへの造形材料の供給を停止させた後に、クリーニング処理を実行する制御部と、を備え、制御部は、クリーニング処理において、吸引送出部を制御して吸引操作を実行することで、三次元造形物が造形されない非造形領域にノズル内の少なくとも一部の造形材料を排出する。
【選択図】図1
特許請求の範囲
【請求項1】
三次元造形物が造形されるステージに向けて造形材料を吐出する吐出口を有するノズルと、
前記造形材料が流れる流路に設けられ、前記流路の開度を変化させることによって前記ノズルへの前記造形材料の供給量を制御する吐出制御機構と、
前記吐出制御機構と前記吐出口との間の前記流路に接続された分岐流路内に前記流路内の前記造形材料を吸引する吸引操作と、前記分岐流路内に吸引した前記造形材料を前記流路に送出する送出操作とが実行される吸引送出部と、
前記ノズルから前記造形材料が吐出した状態で前記吐出制御機構を制御して前記ノズルへの前記造形材料の供給を停止させた後に、クリーニング処理を実行する制御部と、を備え、
前記制御部は、前記クリーニング処理において、前記吸引送出部を制御して前記吸引操作を実行することで、前記三次元造形物が造形されない非造形領域に前記ノズル内の少なくとも一部の前記造形材料を排出する、
三次元造形装置。
続きを表示(約 760 文字)
【請求項2】
請求項1に記載の三次元造形装置であって、
前記吸引送出部は、前記分岐流路内で移動するプランジャーを有し、
前記制御部は、前記クリーニング処理において、前記送出操作によって前記プランジャーを前記流路に向かう方向に移動させた後、前記吸引操作によって前記プランジャーを前記流路から離れる方向に移動させる、三次元造形装置。
【請求項3】
請求項2に記載の三次元造形装置であって、
前記制御部は、前記クリーニング処理における前記送出操作において、前記プランジャーが前記流路内に突き出るまで前記プランジャーを前記流路に向かう方向に移動させる、三次元造形装置。
【請求項4】
請求項2に記載の三次元造形装置であって、
前記制御部は、前記三次元造形物を造形する造形処理、及び、前記クリーニング処理のそれぞれにおいて、前記吸引操作及び前記送出操作における前記プランジャーの移動速度を制御可能であり、
前記制御部は、前記造形処理における前記プランジャーの移動速度よりも、前記クリーニング処理における前記プランジャーの移動速度を速くする、三次元造形装置。
【請求項5】
請求項1に記載の三次元造形装置であって、
前記制御部は、前記非造形領域に前記造形材料が付着するまで前記吐出口から前記造形材料を吐出させた後に、前記クリーニング処理を実行する、三次元造形装置。
【請求項6】
請求項1に記載の三次元造形装置であって、
前記吐出口の直径は0.2mm以上であり、
前記造形材料は、前記クリーニング処理時の温度おける粘度が、229[Pa・s]以上、1316[Pa・s]以下の樹脂を含む、三次元造形装置。
発明の詳細な説明
【技術分野】
【0001】
本開示は、三次元造形装置に関する。
続きを表示(約 2,300 文字)
【背景技術】
【0002】
特許文献1には、フリッカー板及びブラシを有する端部洗浄アセンブリーを備える三次元造形装置が開示されている。この三次元造形装置では、押出ヘッドをフリッカー板及びブラシに接触させることにより、押出ヘッドのクリーニングが行われる。
【先行技術文献】
【特許文献】
【0003】
特表2010-530326号公報
【発明の概要】
【発明が解決しようとする課題】
【0004】
フリッカー板やブラシなどのクリーニング部材を用いて、三次元造形装置に備えられたノズルの先端をクリーニングする場合、クリーニング部材に付着した廃材が、再度ノズルに付着する可能性があった。
【課題を解決するための手段】
【0005】
本開示の第1の形態によれば、三次元造形装置が提供される。この三次元造形装置は、三次元造形物が造形されるステージに向けて造形材料を吐出する吐出口を有するノズルと、前記造形材料が流れる流路に設けられ、前記流路の開度を変化させることによって前記ノズルへの前記造形材料の供給量を制御する吐出制御機構と、前記吐出制御機構と前記吐出口との間の前記流路に接続された分岐流路内に前記流路内の前記造形材料を吸引する吸引操作と、前記分岐流路内に吸引した前記造形材料を前記流路に送出する送出操作とが実行される吸引送出部と、前記ノズルから前記造形材料が吐出した状態で前記吐出制御機構を制御して前記ノズルへの前記造形材料の供給を停止させた後に、クリーニング処理を実行する制御部と、を備え、前記制御部は、前記クリーニング処理において、前記吸引送出部を制御して前記吸引操作を実行することで、前記三次元造形物が造形されない非造形領域に前記ノズル内の少なくとも一部の前記造形材料を排出する。
【図面の簡単な説明】
【0006】
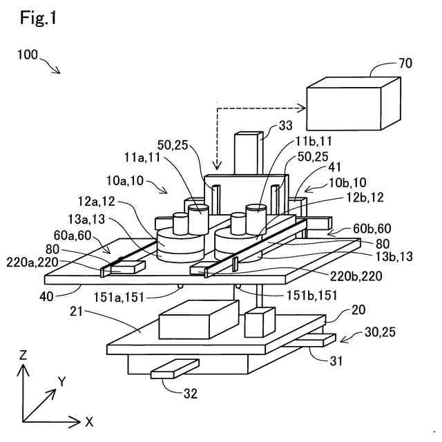
三次元造形装置の概略構成を示す説明図である。
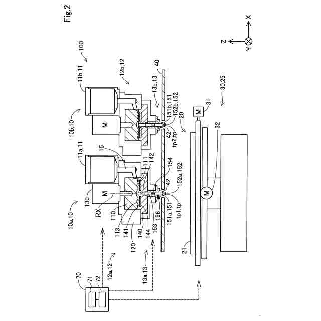
三次元造形装置の概略構成を示す説明図である。
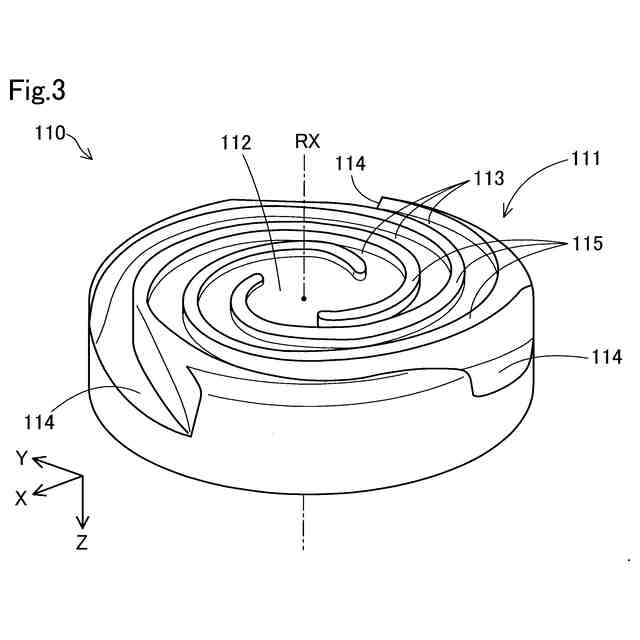
スクリューの概略構成を示す斜視図である。
バレルの概略平面図である。
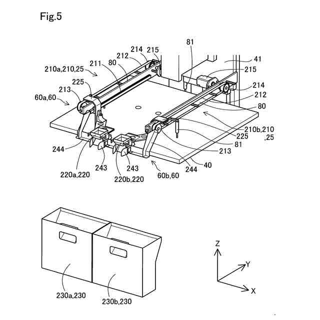
クリーニング機構の斜視図である。
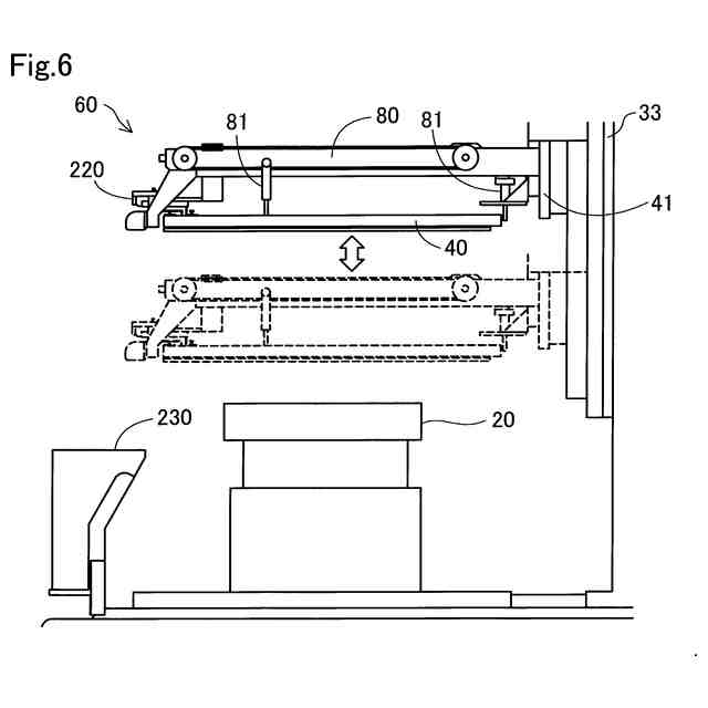
クリーニング機構の側面図である。
クリーニング部の斜視図である。
クリーニング部の斜視図である。
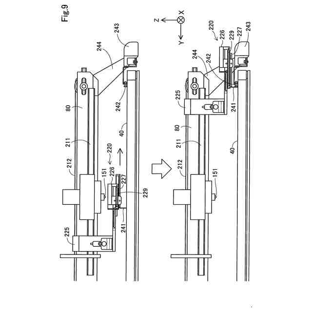
収容部の底面が開状態になる様子を示す説明図である。
廃材が回収部に落下する様子を示す説明図である。
制御部が実行する材料排出処理のフローチャートである。
吐出部の動作状態を示す第1の説明図である。
吐出制御機構の斜視図である。
造形材料が吐出されている状態を撮影した画像である。
吐出部の動作状態を示す第2の説明図である。
造形材料が吐出されている状態を撮影した画像である。
造形材料の吐出状態を撮影した画像である。
吐出部の動作状態を示す第3の説明図である。
造形材料が吸引されている状態を撮影した画像である。
造形材料が吸引されている状態を撮影した画像である。
ノズル内の状態を示す説明図である。
造形材料の例を示す図である。
【発明を実施するための形態】
【0007】
A.第1実施形態:
図1及び図2は、第1実施形態における三次元造形装置100の概略構成を示す説明図である。図1及び図2には、互いに直交するX,Y,Z方向を示す矢印が示されている。X方向及びY方向は、水平面に平行な方向であり、Z方向は、鉛直上向きに沿った方向である。X,Y,Z方向を示す矢印は、他の図においても、図示の方向が図1及び図2と対応するように適宜、図示してある。以下の説明において、方向の向きを特定する場合には、各図において矢印が指し示す方向を「+」、その反対の方向を「-」として、方向表記に正負の符合を併用する。以下では、+Z方向のことを「上」、-Z方向のことを「下」ともいう。
【0008】
本実施形態の三次元造形装置100は、材料押出方式によって造形物を造形する装置である。三次元造形装置100は、ノズル151を有するヘッド10と、ステージ20と、位置変更部25と、加熱部40と、ヘッド昇降機構50と、クリーニング部220を有するクリーニング機構60と、制御部70とを備える。なお、図2では、ヘッド昇降機構50及びクリーニング機構60は、省略されている。
【0009】
制御部70は、三次元造形装置100全体の動作を制御する制御装置である。図2に示すように、制御部70は、CPU71と、記憶装置72と、外部との信号の入出力を行う入出力インターフェイスとを備えるコンピューターによって構成されている。制御部70は、主記憶装置上に読み込んだプログラムや命令をCPU71が実行することによって、三次元造形物を造形するための造形処理を実行する機能や、後述する材料排出処理を実行する機能を発揮する。なお、他の実施形態では、制御部70は、コンピューターによって構成される代わりに、各機能の少なくとも一部を実現するための複数の回路を組み合わせた構成により実現されてもよい。
【0010】
制御部70は、造形処理において、三次元造形物を造形するための造形データに従って、三次元造形物を造形する。造形データは、造形物の形状を複数にスライスした層毎に、ノズル151の移動経路を表す経路情報と、各移動経路における可塑化材料の吐出量を表す吐出量情報と含む。
(【0011】以降は省略されています)
この特許をJ-PlatPat(特許庁公式サイト)で参照する
関連特許
個人
気泡緩衝材減容装置
2か月前
豊田鉄工株式会社
金型
4か月前
CKD株式会社
型用台車
11か月前
シーメット株式会社
光造形装置
11か月前
グンゼ株式会社
ピン
12か月前
東レ株式会社
フィルムの製造方法
8か月前
東レ株式会社
フィルムの製造方法
5か月前
東レ株式会社
フィルムの製造方法
5か月前
株式会社 型善
射出成形型
20日前
個人
樹脂可塑化方法及び装置
10か月前
株式会社エフピコ
賦形シート
1か月前
株式会社FTS
ロッド
10か月前
日機装株式会社
加圧システム
7か月前
東レ株式会社
複合成形体の製造方法
1か月前
東レ株式会社
フィルムの製造方法。
4か月前
株式会社カワタ
計量混合装置
6か月前
東レ株式会社
樹脂フィルムの製造方法
6か月前
トヨタ自動車株式会社
射出装置
9か月前
NOK株式会社
樹脂ゴム複合体
3か月前
株式会社FTS
成形装置
11か月前
株式会社漆原
シートの成形方法
6か月前
東レ株式会社
炭素繊維シートの製造方法
7か月前
株式会社神戸製鋼所
混練機
9か月前
株式会社日本製鋼所
監視システム
11日前
株式会社不二越
射出成形機
8か月前
株式会社不二越
射出成形機
8か月前
株式会社不二越
射出成形機
6か月前
株式会社FTS
セパレータ
10か月前
株式会社コスメック
射出成形装置
6か月前
株式会社不二越
射出成形機
3か月前
株式会社不二越
射出成形機
8か月前
トヨタ自動車株式会社
真空成形装置
7か月前
ダイハツ工業株式会社
3Dプリンタ
1か月前
足立建設工業株式会社
製管機
25日前
日産自動車株式会社
成形装置
5か月前
東レ株式会社
溶融押出装置および押出方法
11か月前
続きを見る
他の特許を見る