TOP
|
特許
|
意匠
|
商標
特許ウォッチ
Twitter
他の特許を見る
公開番号
2025165505
公報種別
公開特許公報(A)
公開日
2025-11-05
出願番号
2024069575
出願日
2024-04-23
発明の名称
慣性センサーモジュール
出願人
セイコーエプソン株式会社
代理人
Knowledge Partners弁理士法人
主分類
G01C
19/5776 20120101AFI20251028BHJP(測定;試験)
要約
【課題】簡易な演算処理装置でセンサーモジュールを高速化する手法の提供。
【解決手段】慣性センサーユニットと、前記N個(Nは2以上の整数)の演算処理装置と、を備え、N個の前記演算処理装置は、既定の順序で前記サンプリングの開始および前記処理結果の出力を行う、慣性センサーモジュールを構成する。
【選択図】図1
特許請求の範囲
【請求項1】
慣性センサーユニットと、
前記慣性センサーユニットの出力のサンプリング、サンプリング結果に基づく処理、および処理結果の出力、を行うN個(Nは2以上の整数)の演算処理装置と、を備え、
N個の前記演算処理装置は、既定の順序で前記サンプリングの開始および前記処理結果の出力を行う、
慣性センサーモジュール。
続きを表示(約 1,100 文字)
【請求項2】
m番目(mは1~N-1の整数のいずれか)の順序で前記サンプリングを開始する前記演算処理装置と、(m+1)番目の順序で前記サンプリングを開始する前記演算処理装置と、のそれぞれが前記サンプリングを開始するタイミングのずれ、および、前記処理結果の出力を行うタイミングのずれは、1個の前記演算処理装置において前記サンプリングを行う周期よりも短い、
請求項1に記載の慣性センサーモジュール。
【請求項3】
前記慣性センサーユニットが出力を行う周期は、1個の前記演算処理装置が前記サンプリングを行う周期の1/Nである、
請求項1または請求項2に記載の慣性センサーモジュール。
【請求項4】
N個の前記演算処理装置は、共通の同期信号に基づいて前記サンプリングを開始するタイミングを決定する、
請求項1または請求項2に記載の慣性センサーモジュール。
【請求項5】
N個の前記演算処理装置は、前記慣性センサーユニットに接続されたインターフェースをそれぞれ有する、
請求項1または請求項2に記載の慣性センサーモジュール。
【請求項6】
前記慣性センサーユニットは、同一の測定対象を測定するN個(Nは2以上の整数)の慣性センサーデバイスを有し、
N個の前記演算処理装置のそれぞれは、前記N個の慣性センサーデバイスのうち異なる慣性センサーデバイスに接続されている、
請求項1に記載の慣性センサーモジュール。
【請求項7】
前記慣性センサーユニットが出力を行う周期は、1個の前記演算処理装置が前記サンプリングを行う周期と同一であり、
m番目(mは1~N-1の整数のいずれか)の順序で前記サンプリングを開始する前記演算処理装置と、(m+1)番目の順序で前記サンプリングを開始する前記演算処理装置と、のそれぞれが前記サンプリングを開始するタイミングのずれは、1個の前記演算処理装置が前記サンプリングを行う周期の1/Nである、
請求項6に記載の慣性センサーモジュール。
【請求項8】
前記慣性センサーユニットは、同一の測定対象を測定する複数の慣性センサーデバイスを備えるN個(Nは2以上の整数)の慣性センサーデバイス群を有し、
N個の前記演算処理装置のそれぞれは、前記N個の慣性センサーデバイス群のうち異なる慣性センサーデバイス群に接続されており、
N個の前記演算処理装置は、それぞれ前記N個の慣性センサーデバイス群のうち接続された慣性センサーデバイス群の同一の測定対象のサンプリング結果を統計する処理を行い、前記処理結果の出力を行う、
請求項1に記載の慣性センサーモジュール。
発明の詳細な説明
【技術分野】
【0001】
本発明は、慣性センサーモジュールに関する。
続きを表示(約 1,900 文字)
【背景技術】
【0002】
従来、慣性センサーデバイスからの出力を演算処理装置によって処理する構成が知られている。例えば、特許文献1においては、X軸角速度センサーデバイス、Y軸角速度センサーデバイス、Z軸角速度センサーデバイスおよび加速度センサーデバイスがマイクロコントローラー(演算処理装置)に接続される構成が開示されている。マイクロコントローラーは、これらのセンサーデバイスからの出力に基づいて演算処理を行う。
【先行技術文献】
【特許文献】
【0003】
特開2019-163955号公報
【発明の概要】
【発明が解決しようとする課題】
【0004】
従来の技術においては、複数のセンサーデバイスからの信号を1個のマイクロコントローラーによって処理している。従って、複数のセンサーデバイスの信号を処理できる高い性能がマイクロコントローラーに要求され、高速に動作するセンサーモジュールを構成するための障害となる。このため、より簡易な構成を用いて、複数のセンサーデバイスからの信号を1個のマイクロコントローラーによって処理する構成と比較して、高速化可能な技術が求められていた。
【課題を解決するための手段】
【0005】
上記課題を解決するための一実施形態としての慣性センサーモジュールは、慣性センサーユニットと、前記慣性センサーユニットの出力のサンプリング、サンプリング結果に基づく処理、および処理結果の出力、を行うN個(Nは2以上の整数)の演算処理装置と、を備え、N個の前記演算処理装置は、既定の順序で前記サンプリングの開始および前記処理結果の出力を行う。
【図面の簡単な説明】
【0006】
第1実施形態に係る慣性センサーモジュールの構成例。
第1実施形態に係る慣性センサーモジュールの各部の動作等のタイミングチャート。
第2実施形態に係る慣性センサーモジュールの構成例。
第2実施形態に係る慣性センサーモジュールの各部の動作等のタイミングチャート。
第3実施形態に係る慣性センサーモジュールの構成例。
第3実施形態に係る慣性センサーモジュールの各部の動作等のタイミングチャート。
第4実施形態に係る慣性センサーモジュールの構成例。
【発明を実施するための形態】
【0007】
以下、本発明の好適な実施の形態について詳細に説明する。なお以下に説明する本実施形態は特許請求の範囲に記載された本発明の内容を限定するものではなく、本実施形態で説明される構成の全てが本発明の解決手段として必須であるとは限らない。
【0008】
(1)第1実施形態
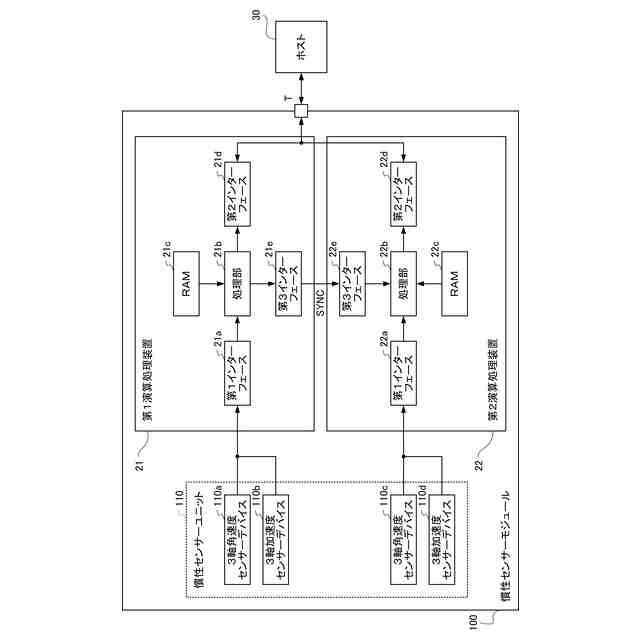
図1に本実施形態の慣性センサーモジュール10の構成例を示す。本実施形態において慣性センサーモジュール10は、ホスト30と通信可能に接続される。慣性センサーモジュール10とホスト30とは、既定の通信規格(例えば、SPI規格等)に従って通信を行う。
【0009】
慣性センサーモジュール10は、慣性に関する値を検出する複数のセンサー素子を備えルモジュールである。本実施形態において、慣性センサーモジュール10は、慣性センサーユニット11,第1演算処理装置21,第2演算処理装置22を備えている。
【0010】
本実施形態において、慣性センサーユニット11は、3軸角速度センサーデバイス11aと、3軸加速度センサーデバイス11bと、を備える。3軸角速度センサーデバイス11aは、角速度を検出するセンサーである。3軸角速度センサーデバイス11aは、予め設定された互いに直交する3軸のそれぞれを回転軸とした回転方向の角速度を検出するセンサー素子を含んでいる。3軸角速度センサーデバイス11aは、例えば、X軸周りの角速度、Y軸周りの角速度、Z軸周りの角速度を検出する。また、3軸角速度センサーデバイス11aは、図示しないアナログ回路、A/D変換回路、インターフェースを備えている。3軸角速度センサーデバイス11aが角速度を検出すると、アナログ回路によって検出結果に対して所定の処理が行われ、処理後の角速度を示すアナログ信号がA/D変換回路によってデジタルデータに変換される。A/D変換回路から出力されたデジタルデータは、インターフェースを介して第1演算処理装置21および第2演算処理装置22に出力される。
(【0011】以降は省略されています)
この特許をJ-PlatPat(特許庁公式サイト)で参照する
関連特許
個人
視触覚センサ
5日前
株式会社イシダ
表示装置
今日
個人
採尿及び採便具
1か月前
日本精機株式会社
検出装置
1か月前
個人
計量機能付き容器
1か月前
株式会社ミツトヨ
測定器
1か月前
愛知電機株式会社
外観検査方法
1日前
愛知電機株式会社
外観検査装置
1日前
日本精機株式会社
液面検出装置
今日
株式会社カクマル
境界杭
20日前
甲神電機株式会社
電流検出装置
1か月前
日本精機株式会社
発光表示装置
13日前
ユニパルス株式会社
トルク変換器
5日前
ユニパルス株式会社
トルク変換器
5日前
ユニパルス株式会社
トルク変換器
5日前
株式会社トプコン
測量装置
12日前
アズビル株式会社
電磁流量計
1か月前
大成建設株式会社
風洞実験装置
1か月前
大和製衡株式会社
組合せ計量装置
1か月前
日本特殊陶業株式会社
ガスセンサ
5日前
ローム株式会社
半導体装置
1か月前
大和製衡株式会社
組合せ計量装置
1か月前
ローム株式会社
半導体装置
1か月前
愛知電機株式会社
軸部材の外観検査装置
1か月前
個人
システム、装置及び実験方法
1か月前
日本特殊陶業株式会社
ガスセンサ
12日前
日本信号株式会社
距離画像センサ
1か月前
日本特殊陶業株式会社
ガスセンサ
28日前
日本特殊陶業株式会社
ガスセンサ
6日前
双庸電子株式会社
誤配線検査装置
1か月前
個人
非接触による電磁パルスの測定方法
1か月前
愛知時計電機株式会社
ガスメータ
1か月前
個人
計量具及び計量機能付き容器
1か月前
株式会社デンソー
電流センサ
1か月前
トヨタ自動車株式会社
測定システム
1か月前
本陣水越株式会社
車載式計測標的物
7日前
続きを見る
他の特許を見る