TOP
|
特許
|
意匠
|
商標
特許ウォッチ
Twitter
他の特許を見る
10個以上の画像は省略されています。
公開番号
2025159545
公報種別
公開特許公報(A)
公開日
2025-10-21
出願番号
2024062192
出願日
2024-04-08
発明の名称
読み取り装置
出願人
セイコーエプソン株式会社
代理人
個人
,
個人
,
個人
主分類
H04N
1/00 20060101AFI20251014BHJP(電気通信技術)
要約
【課題】カバー部を開閉する際の操作性を向上する。
【解決手段】原稿の読み取り手段111が設けられる本体部110と、給送前の原稿を支持する原稿サポート部117と、原稿を読み取り手段111に向けて送り出す給送手段116と、本体部110に対して回動することで開閉可能であり、閉じた状態で第1面131が上面を形成し、開いた状態で第2面132が原稿サポート部117とともに原稿を支持する支持面114を形成するカバー部130と、を備え、カバー部130は開閉する際の力点となる操作部137と開閉する際の支点となる回動軸133と閉じた状態のときに開かれることが規制されるロック部134とを有し、交差方向における操作部137からロック部134までの距離X1は回動軸133からロック部134までの距離X2よりも長い読み取り装置100。
【選択図】図21
特許請求の範囲
【請求項1】
原稿を読み取る読み取り手段が設けられる本体部と、
給送前の原稿を支持する原稿サポート部と、
前記原稿サポート部に支持された原稿を前記読み取り手段に向けて送り出す給送手段と、
前記本体部に対して回動することで開閉可能であり、閉じた状態で第1面が上面を形成し、開いた状態で前記第1面とは反対側の第2面が前記原稿サポート部とともに原稿を支持する支持面を形成するカバー部と、
前記カバー部とともに上面を形成する上面形成部と、を備え、
前記カバー部は、開閉する際の力点となる操作部と、開閉する際の支点となる回動軸と、閉じた状態のときに開かれることが規制されるロック部と、を有し、
前記回動軸の軸線方向と交差する交差方向において、前記操作部から前記ロック部までの距離は、前記回動軸から前記ロック部までの距離よりも長いことを特徴とする読み取り装置。
続きを表示(約 1,000 文字)
【請求項2】
請求項1に記載の読み取り装置において、
前記ロック部は、前記カバー部が閉じた状態となる方向に付勢されることを特徴とする読み取り装置。
【請求項3】
請求項1に記載の読み取り装置において、
前記操作部は、前記カバー部の前記軸線方向における一方側の端部に設けられることを特徴とする読み取り装置。
【請求項4】
請求項1に記載の読み取り装置において、
前記ロック部は、前記カバー部の前記軸線方向における一方側の端部に設けられることを特徴とする読み取り装置。
【請求項5】
請求項1に記載の読み取り装置において、
前記操作部及び前記ロック部は、前記カバー部の前記軸線方向における一方側の端部に設けられ、
前記操作部は、把持部を有し、
前記把持部は、前記ロック部よりも前記軸線方向における他方側に位置することを特徴とする読み取り装置。
【請求項6】
請求項1に記載の読み取り装置において、
前記操作部及び前記ロック部は、前記カバー部の前記軸線方向における一方側の端部に設けられ、
前記操作部は、把持部を有し、
前記把持部は、前記カバー部の前記交差方向における中央部を含む位置に設けられることを特徴とする読み取り装置。
【請求項7】
請求項1に記載の読み取り装置において、
前記ロック部は、凸部を有し、
前記本体部は、前記カバー部が閉じた状態のときに前記凸部が係合する被係合部を有し、
前記凸部は、前記被係合部と係合する係合領域が面取りされていることを特徴とする読み取り装置。
【請求項8】
請求項1に記載の読み取り装置において、
前記カバー部は、前記軸線方向に延設されるリブを有することを特徴とする読み取り装置。
【請求項9】
請求項1に記載の読み取り装置において、
前記カバー部が閉じた状態のときに前記カバー部と接触する緩衝部材を備えることを特徴とする読み取り装置。
【請求項10】
請求項1に記載の読み取り装置において、
前記カバー部は、アーム部を有し、
前記上面形成部は、前記カバー部が閉じた状態のときに前記アーム部の先端が対向する位置に当接部を有し、
前記当接部は、前記交差方向に延設されるリブを有することを特徴とする読み取り装置。
発明の詳細な説明
【技術分野】
【0001】
本発明は、読み取り装置に関する。
続きを表示(約 2,800 文字)
【背景技術】
【0002】
従来から、読み取り手段が設けられる本体部と、本体部に対して回動することで開閉可能なカバー部と、を備える読み取り装置が使用されている。例えば、特許文献1には、読取ユニットが設けられるADFユニットと、ADFユニットに対して回動することで開閉可能な中央カバーと、を備える画像読取装置が開示されている。
【先行技術文献】
【特許文献】
【0003】
特開2016-40191号公報
【発明の概要】
【発明が解決しようとする課題】
【0004】
特許文献1の画像読取装置のような、読み取り手段が設けられる本体部と、本体部に対して回動することで開閉可能なカバー部と、を備える従来の読み取り装置においては、カバー部を開閉する際の操作性がよくない場合があった。例えば、特許文献1の画像読取装置は、中央カバーを閉じたときのがたつきを抑制するために係合部と被係合部とからなるロック機構を備えているが、ロック機構の位置はがたつきを抑制するために回動軸から離れた先端寄りに配置されている。しかしながら、このような構成の場合、中央カバーを閉じるときのロック時や中央カバーを開くときのロック解除時の操作力は大きくなる傾向にあり、操作性が良くなかった。
【課題を解決するための手段】
【0005】
上記課題を解決する為の、本発明の読み取り装置は、原稿を読み取る読み取り手段が設けられる本体部と、給送前の原稿を支持する原稿サポート部と、前記原稿サポート部に支持された原稿を前記読み取り手段に向けて送り出す給送手段と、前記本体部に対して回動することで開閉可能であり、閉じた状態で第1面が上面を形成し、開いた状態で前記第1面とは反対側の第2面が前記原稿サポート部とともに原稿を支持する支持面を形成するカバー部と、前記カバー部とともに上面を形成する上面形成部と、を備え、前記カバー部は、開閉する際の力点となる操作部と、開閉する際の支点となる回動軸と、閉じた状態のときに開かれることが規制されるロック部と、を有し、前記回動軸の軸線方向と交差する交差方向において、前記操作部から前記ロック部までの距離は、前記回動軸から前記ロック部までの距離よりも長いことを特徴とする。
【図面の簡単な説明】
【0006】
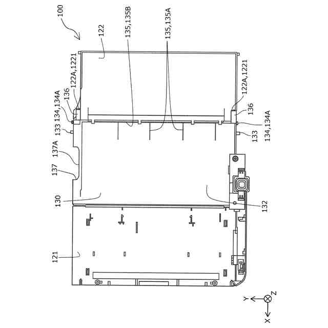
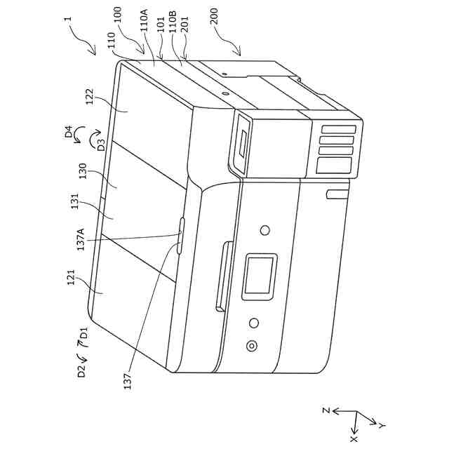
本発明の実施例1の読み取り装置を含む複合機であってカバー部を閉じた状態を表す斜視図。
図1の複合機の読み取り装置のカバー部を開いた状態を表す斜視図。
図1の複合機の読み取り装置のカバー部を閉じた状態を表す上方からの斜視図。
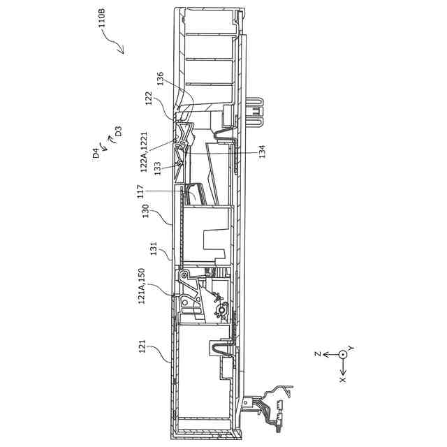
図1の複合機の読み取り装置の正面側から見た断面図であってカバー部を閉じた状態を表す図。
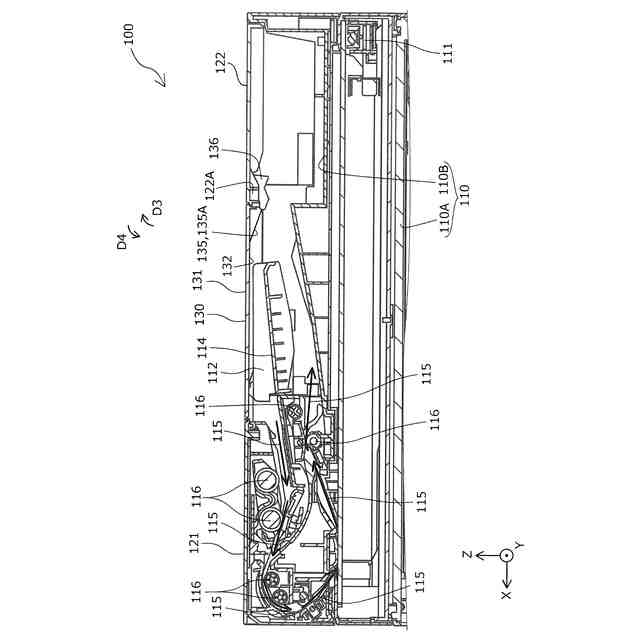
図1の複合機の読み取り装置の正面側から見た断面図であってカバー部を開いた状態を表す図。
図1の複合機の読み取り装置のカバー部周辺を底面側から見た図であってカバー部を閉じた状態を表す図。
図1の複合機の読み取り装置の一部の正面断面図。
図1の複合機の読み取り装置であって、図7とは異なる位置の断面を表す正面断面図。
図1の複合機の読み取り装置のカバー部のアーム部周辺を表す斜視図。
図1の複合機の読み取り装置のカバー部の一部の斜視図。
図1の複合機の読み取り装置の本体部の一部であってカバー部を支持する部分の斜視図。
図1の複合機の読み取り装置のカバー部を開いた状態から閉じている途中の状態を表す斜視図。
図12のカバー部の位置に対応する際の図1の複合機の読み取り装置のカバー部のロックピンの位置を表す正面図。
図12のカバー部の位置に対応する際の図1の複合機の読み取り装置のカバー部のロックピンの位置を表す側面図。
図1の複合機の読み取り装置のカバー部を図12の位置からさらに閉じている途中の状態を表す斜視図。
図15のカバー部の位置に対応する際の図1の複合機の読み取り装置のカバー部のロックピンの位置を表す正面図。
図15のカバー部の位置に対応する際の図1の複合機の読み取り装置のカバー部のロックピンの位置を表す側面図。
図1の複合機の読み取り装置のカバー部を閉じた状態を表す斜視図。
図18のカバー部の位置に対応する際の図1の複合機の読み取り装置のカバー部のロックピンの位置を表す正面図。
図18のカバー部の位置に対応する際の図1の複合機の読み取り装置のカバー部のロックピンの位置を表す側面図。
図1の複合機の読み取り装置のカバー部を表す平面図。
本発明の実施例2の読み取り装置のカバー部を表す平面図。
【発明を実施するための形態】
【0007】
以下、本発明を概略的に説明する。
本発明の第1の態様に係る読み取り装置は、原稿を読み取る読み取り手段が設けられる本体部と、給送前の原稿を支持する原稿サポート部と、前記原稿サポート部に支持された原稿を前記読み取り手段に向けて送り出す給送手段と、前記本体部に対して回動することで開閉可能であり、閉じた状態で第1面が上面を形成し、開いた状態で前記第1面とは反対側の第2面が前記原稿サポート部とともに原稿を支持する支持面を形成するカバー部と、前記カバー部とともに上面を形成する上面形成部と、を備え、前記カバー部は、開閉する際の力点となる操作部と、開閉する際の支点となる回動軸と、閉じた状態のときに開かれることが規制されるロック部と、を有し、前記回動軸の軸線方向と交差する交差方向において、前記操作部から前記ロック部までの距離は、前記回動軸から前記ロック部までの距離よりも長いことを特徴とする。
【0008】
本態様によれば、カバー部は、開閉する際の力点となる操作部と、開閉する際の支点となる回動軸と、閉じた状態のときに開かれることが規制されるロック部と、を有し、回動軸の軸線方向と交差する交差方向において、操作部からロック部までの距離は、回動軸からロック部までの距離よりも長い。このような構成とすることで、カバー部を閉じるときのロック時やカバー部を開くときのロック解除時の操作力を弱くすることができ、カバー部を開閉する際の操作性を向上することができる。
【0009】
本発明の第2の態様は、第1の態様に従属する態様であって、前記ロック部は、前記カバー部が閉じた状態となる方向に付勢されることを特徴とする。
【0010】
本態様によれば、ロック部はカバー部が閉じた状態となる方向に付勢される。このような構成とすることで、カバー部が閉じた状態にある際にカバー部ががたつくことを抑制することができる。
(【0011】以降は省略されています)
この特許をJ-PlatPat(特許庁公式サイト)で参照する
関連特許
個人
イヤーマフ
今日
個人
監視カメラシステム
9日前
キーコム株式会社
光伝送線路
10日前
WHISMR合同会社
収音装置
1か月前
個人
スキャン式車載用撮像装置
9日前
サクサ株式会社
中継装置
15日前
サクサ株式会社
中継装置
16日前
アイホン株式会社
電気機器
1か月前
キヤノン株式会社
撮像装置
1か月前
キヤノン電子株式会社
画像読取装置
1か月前
株式会社リコー
画像形成装置
1か月前
株式会社リコー
画像形成装置
2か月前
サクサ株式会社
無線通信装置
15日前
サクサ株式会社
無線通信装置
15日前
サクサ株式会社
無線システム
14日前
キヤノン電子株式会社
画像読取装置
8日前
株式会社リコー
画像形成装置
1か月前
株式会社リコー
画像形成装置
2日前
個人
ワイヤレスイヤホン対応耳掛け
1か月前
個人
発信機及び発信方法
14日前
株式会社ニコン
撮像装置
2か月前
キヤノン株式会社
撮像システム
1か月前
日本電気株式会社
海底分岐装置
10日前
ブラザー工業株式会社
読取装置
2か月前
株式会社NTTドコモ
端末
9日前
沖電気工業株式会社
画像形成装置
25日前
キヤノン電子株式会社
画像処理システム
8日前
沖電気工業株式会社
画像形成装置
17日前
株式会社松平商会
携帯機器カバー
1か月前
DXO株式会社
情報処理システム
2か月前
キヤノン電子株式会社
シート材搬送装置
2か月前
シャープ株式会社
端末装置
7日前
株式会社NTTドコモ
端末
9日前
株式会社NTTドコモ
端末
9日前
有限会社フィデリックス
マイクロフォン
21日前
株式会社小糸製作所
画像照射装置
1か月前
続きを見る
他の特許を見る