TOP
|
特許
|
意匠
|
商標
特許ウォッチ
Twitter
他の特許を見る
公開番号
2025163409
公報種別
公開特許公報(A)
公開日
2025-10-29
出願番号
2024066611
出願日
2024-04-17
発明の名称
シート製造装置、およびシート製造方法
出願人
セイコーエプソン株式会社
代理人
個人
,
個人
,
個人
主分類
D04H
1/736 20120101AFI20251022BHJP(組みひも;レース編み;メリヤス編成;縁とり;不織布)
要約
【課題】停止時に堆積物を残留させないシート製造装置、およびシート製造方法を提供すること。
【解決手段】シート製造装置1は、材料を解繊して解繊物を生成する解繊部30と、解繊物を堆積させてウェブWを形成する堆積部50と、ウェブWを圧縮して帯状のシートP1へ成形する成形部70と、堆積部50と成形部70との間に配置され、ウェブWを搬送する堆積搬送部61および背面搬送部62を有する搬送部60と、堆積搬送部61に対応して配置される回収部96と、シート製造装置1の稼働を制御する制御部5と、を備え、ウェブWの搬送方向において、堆積搬送部61は背面搬送部62よりも上流に配置され、制御部5は、シート製造装置1の稼働を停止させる場合に、搬送部60を制御して、堆積搬送部61と背面搬送部62との間で、ウェブWを上流側ウェブW1と下流側ウェブW2とに破断して、上流側ウェブW1を回収部96に回収し、下流側ウェブW2を帯状のシートP1へ成形する。
【選択図】図7
特許請求の範囲
【請求項1】
繊維を含む材料からシートを製造するシート製造装置であって、
前記材料を解繊して解繊物を生成する解繊部と、
前記解繊物を堆積させてウェブを形成する堆積部と、
前記ウェブを圧縮して前記シートへ成形する成形部と、
前記堆積部と前記成形部との間に配置され、前記ウェブを搬送する堆積搬送部および背面搬送部を有する搬送部と、
前記堆積搬送部に対応して配置される回収部と、
前記シート製造装置の稼働を制御する制御部と、を備え、
前記ウェブの搬送方向において、前記堆積搬送部は前記背面搬送部よりも上流に配置され、
前記制御部は、前記シート製造装置の稼働を停止させる場合に、
前記搬送部を制御して、前記堆積搬送部と前記背面搬送部との間で、前記ウェブを上流側ウェブと下流側ウェブとに破断して、
前記上流側ウェブを前記回収部に回収し、前記下流側ウェブを前記シートへ成形することを特徴とするシート製造装置。
続きを表示(約 950 文字)
【請求項2】
前記背面搬送部は、
前記ウェブが吸着されて搬送されるベルト部と、
前記ウェブを前記ベルト部に吸着させる吸着部と、を有し、
前記制御部は、前記シート製造装置の稼働を停止させる場合に、前記堆積搬送部による前記ウェブの搬送を停止させると共に、前記背面搬送部による前記ウェブの搬送を継続させて前記ウェブを破断する、請求項1に記載のシート製造装置。
【請求項3】
前記制御部は、
前記ウェブの前記搬送方向において、前記背面搬送部の上流に配置され、前記上流側ウェブが前記回収部に回収され切ったことを検知するセンサー部を有し、
前記センサー部の検知結果に基づいて、前記堆積搬送部の稼働を停止する、請求項1に記載のシート製造装置。
【請求項4】
繊維を含む材料を解繊して解繊物を生成する解繊部と、
前記解繊物を堆積させてウェブを形成する堆積部と、
前記ウェブを圧縮してシートへ成形する成形部と、
前記堆積部と前記成形部との間に配置され、前記ウェブを搬送する堆積搬送部および背面搬送部を有する搬送部と、
前記堆積搬送部に対応して配置される回収部と、
シート製造装置の稼働を制御する制御部と、を備えるシート製造装置によるシート製造方法であって、
前記シート製造装置の稼働を停止させる場合に、
前記堆積搬送部による前記ウェブの搬送を停止させ、かつ前記背面搬送部による前記ウェブの搬送を継続させて、前記堆積搬送部と前記背面搬送部との間で、前記ウェブを上流側ウェブと下流側ウェブとに破断する工程と、
前記下流側ウェブを前記成形部へ搬送して、前記下流側ウェブにて前記シートを製造する工程と、
前記堆積搬送部を再稼働させて、前記上流側ウェブを前記回収部へ回収する工程と、を備えることを特徴とするシート製造方法。
【請求項5】
前記背面搬送部は、前記ウェブの搬送経路を上下させる昇降機構を有し、
前記ウェブを破断する前記工程の後、かつ前記上流側ウェブを回収する前記工程の前に、前記昇降機構を上昇させる工程を備える、請求項4に記載のシート製造方法。
発明の詳細な説明
【技術分野】
【0001】
本発明は、シート製造装置、およびシート製造方法に関する。
続きを表示(約 2,000 文字)
【背景技術】
【0002】
従来、古紙などに由来する繊維からシートを製造する装置が知られていた。例えば、特許文献1には、繊維を空気中で堆積させてからシートに成形するシート製造装置が開示されている。
【先行技術文献】
【特許文献】
【0003】
特開2016-112740号公報
【発明の概要】
【発明が解決しようとする課題】
【0004】
しかしながら、特許文献1に記載されていない、装置を停止させる際の、堆積部に仕掛品として存在する堆積物の処置が課題であった。
【課題を解決するための手段】
【0005】
シート製造装置は、繊維を含む材料からシートを製造するシート製造装置であって、前記材料を解繊して解繊物を生成する解繊部と、前記解繊物を堆積させてウェブを形成する堆積部と、前記ウェブを圧縮して前記シートへ成形する成形部と、前記堆積部と前記成形部との間に配置され、前記ウェブを搬送する堆積搬送部および背面搬送部を有する搬送部と、前記堆積搬送部に対応して配置される回収部と、前記シート製造装置の稼働を制御する制御部と、を備え、前記ウェブの搬送方向において、前記堆積搬送部は前記背面搬送部よりも上流に配置され、前記制御部は、前記シート製造装置の稼働を停止させる場合に、前記搬送部を制御して、前記堆積搬送部と前記背面搬送部との間で、前記ウェブを上流側ウェブと下流側ウェブとに破断して、前記上流側ウェブを前記回収部に回収し、前記下流側ウェブを前記シートへ成形することを特徴とする。
【0006】
シート製造方法は、繊維を含む材料を解繊して解繊物を生成する解繊部と、前記解繊物を堆積させてウェブを形成する堆積部と、前記ウェブを圧縮してシートへ成形する成形部と、前記堆積部と前記成形部との間に配置され、前記ウェブを搬送する堆積搬送部および背面搬送部を有する搬送部と、前記堆積搬送部に対応して配置される回収部と、シート製造装置の稼働を制御する制御部と、を備えるシート製造装置によるシート製造方法であって、前記シート製造装置の稼働を停止させる場合に、前記堆積搬送部による前記ウェブの搬送を停止させ、かつ前記背面搬送部による前記ウェブの搬送を継続させて、前記堆積搬送部と前記背面搬送部との間で、前記ウェブを上流側ウェブと下流側ウェブとに破断する工程と、前記下流側ウェブを前記成形部へ搬送して、前記下流側ウェブにて前記シートを製造する工程と、前記堆積搬送部を再稼働させて、前記上流側ウェブを前記回収部へ回収する工程と、を備えることを特徴とする。
【図面の簡単な説明】
【0007】
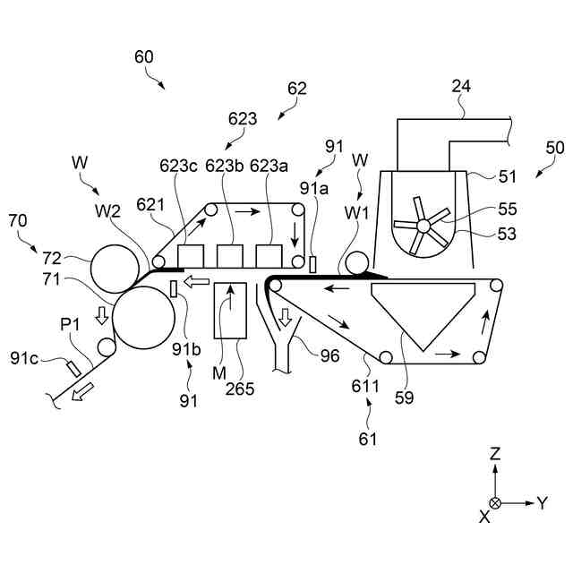
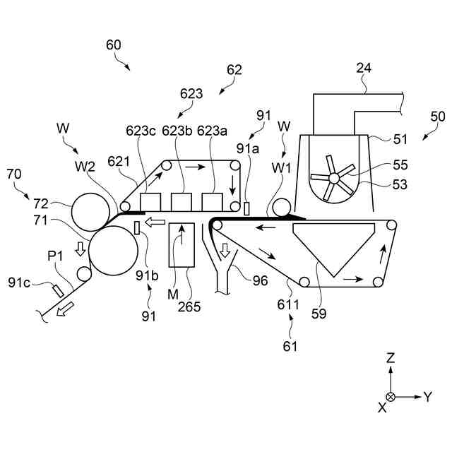
実施形態に係るシート製造装置の構成を示す模式図。
搬送部の詳細な構成を示す模式図。
シート製造方法における稼働停止動作の各ステップを示すフロー図。
シート製造装置の稼働停止動作を示す模式図。
シート製造装置の稼働停止動作を示す模式図。
シート製造装置の稼働停止動作を示す模式図。
シート製造装置の稼働停止動作を示す模式図。
【発明を実施するための形態】
【0008】
以下の実施形態では、繊維を含む古紙などの材料から乾式にてシートを製造するシート製造装置1、およびシート製造装置1によるシート製造方法を例示して、図面を参照して説明する。本発明のシート製造装置は、乾式であることに限定されず、湿式であってもよい。本明細書において乾式とは、液体中で実施されずに、大気などの空気中で実施されることをいう。
【0009】
以下の各図においては、相互に直交する座標軸としてXYZ軸を付し、各矢印が指す方向を+方向とし、+方向と反対の方向を-方向とする。Z軸は鉛直方向に沿う仮想軸であって+Z方向を上方とし、-Z方向を下方とする。-Z方向は鉛直方向である。また、シート製造装置1において、材料、ウェブ、およびシートなどの搬送方向の先を下流とし、搬送方向を遡る側を上流とする。図示の便宜上、各部材の大きさを実際とは異ならせている。
【0010】
図1に示すように、本実施形態に係るシート製造装置1は、第1ユニット群101、第2ユニット群102、および第3ユニット群103を備える。第1ユニット群101、第2ユニット群102、および第3ユニット群103は、図示しないフレームに支持される。図1においては、紙片C、シートP3、スリット片S、および不要な端材などが移動する方向を白抜きの矢印で示している。以下の説明では、複数の紙片Cから成る紙片Cの集合体も単に紙片Cという。
(【0011】以降は省略されています)
この特許をJ-PlatPat(特許庁公式サイト)で参照する
関連特許
セイコーエプソン株式会社
記録装置
11日前
セイコーエプソン株式会社
電子時計
3日前
セイコーエプソン株式会社
記録装置
18日前
セイコーエプソン株式会社
電子時計
16日前
セイコーエプソン株式会社
半導体装置
3日前
セイコーエプソン株式会社
トルク伝達機構
16日前
セイコーエプソン株式会社
文字板及び時計
3日前
セイコーエプソン株式会社
ダイオード回路
3日前
セイコーエプソン株式会社
シート製造装置
9日前
セイコーエプソン株式会社
三次元造形装置
17日前
セイコーエプソン株式会社
プロジェクター
16日前
セイコーエプソン株式会社
プロジェクター
16日前
セイコーエプソン株式会社
表示装置の制御方法
16日前
セイコーエプソン株式会社
慣性センサーモジュール
18日前
セイコーエプソン株式会社
三次元造形物の製造方法
16日前
セイコーエプソン株式会社
乾燥装置及び印刷システム
16日前
セイコーエプソン株式会社
媒体搬送装置及び記録装置
11日前
セイコーエプソン株式会社
媒体搬送装置及び記録装置
16日前
セイコーエプソン株式会社
液体噴射ヘッド及び液体噴射装置
16日前
セイコーエプソン株式会社
液体噴射ヘッド及び液体噴射装置
16日前
セイコーエプソン株式会社
バンド、時計、およびバンド長さ調整機構
16日前
セイコーエプソン株式会社
投写方法、プロジェクター及びプログラム
16日前
セイコーエプソン株式会社
補正方法、情報処理装置およびプログラム
11日前
セイコーエプソン株式会社
補正方法、プロジェクターおよびプログラム
11日前
セイコーエプソン株式会社
記録装置、積載装置、及び記録装置の制御方法
17日前
セイコーエプソン株式会社
投射位置の判定方法および投射位置の判定装置
16日前
セイコーエプソン株式会社
液体吐出システム、液体吐出システムの制御方法
18日前
セイコーエプソン株式会社
流量調節装置、三次元造形装置および射出成形装置
16日前
セイコーエプソン株式会社
シート製造装置、及び、シート製造装置の制御方法
11日前
セイコーエプソン株式会社
表示制御方法、表示制御プログラム、及びプロジェクター
16日前
セイコーエプソン株式会社
振動デバイス
3日前
セイコーエプソン株式会社
画像読み取り装置
3日前
セイコーエプソン株式会社
記録装置及び記録方法
18日前
セイコーエプソン株式会社
波長変換装置、波長変換装置の製造方法、光源装置およびプロジェクター
11日前
セイコーエプソン株式会社
ベイパーチャンバー、冷却装置、電子機器、波長変換装置及びプロジェクター
17日前
セイコーエプソン株式会社
ベイパーチャンバー、冷却装置、電子機器、波長変換装置及びプロジェクター
17日前
続きを見る
他の特許を見る