TOP
|
特許
|
意匠
|
商標
特許ウォッチ
Twitter
他の特許を見る
公開番号
2025168767
公報種別
公開特許公報(A)
公開日
2025-11-12
出願番号
2024073504
出願日
2024-04-30
発明の名称
シート製造装置、及び、シート製造装置の制御方法
出願人
セイコーエプソン株式会社
代理人
個人
,
個人
,
個人
主分類
D04H
1/736 20120101AFI20251105BHJP(組みひも;レース編み;メリヤス編成;縁とり;不織布)
要約
【課題】水中のフロートを用いた装置は誤検出するおそれがある。
【解決手段】シート製造装置は、古紙を処理してシートを製造する処理部と、加湿媒体により処理部へ加湿空気を供給する加湿部と、制御部と、を備え、加湿部は、加湿媒体を支持する取っ手部と、取っ手部を検出可能な検出部と、を有し、制御部は、検出部により取っ手部を検出する。
【選択図】図4
特許請求の範囲
【請求項1】
古紙を処理してシートを製造する処理部と、
加湿媒体により前記処理部へ加湿空気を供給する加湿部と、
制御部と、を備え、
前記加湿部は、前記加湿媒体を支持する取っ手部と、前記取っ手部を検出可能な検出部と、を有し、
前記制御部は、前記検出部により前記取っ手部を検出する、シート製造装置。
続きを表示(約 930 文字)
【請求項2】
前記加湿部はケースを有し、前記ケースには前記検出部が設けられ、
前記加湿部は、前記取っ手部を着脱可能な収容部を有し、
前記収容部は、前記ケースに対して移動可能に取り付けられ、
前記検出部は、前記取っ手部が取り付けられた前記収容部が移動して前記ケースへ収容されたとき、前記取っ手部を検出する、請求項1に記載のシート製造装置。
【請求項3】
表示部を備え、
前記制御部は、
前記検出部により前記取っ手部が検出されると、前記加湿部により前記処理部へ前記加湿空気を供給して、前記処理部により前記シートを製造し、
前記検出部により前記取っ手部が検出されないと、前記加湿部による前記加湿空気の供給、及び、前記処理部による前記シートの製造をせず、前記表示部により所定情報を表示する、請求項1に記載のシート製造装置。
【請求項4】
前記加湿部はケースを有し、前記ケースには前記検出部が設けられ、
前記加湿部は、前記取っ手部を着脱可能な収容部を有し、
前記収容部は、前記ケースに対して移動可能に取り付けられ、
前記所定情報は、前記収容部が前記ケースに収容されていない旨の第1情報、及び、前記加湿媒体が前記ケースに収容されていない旨の第2情報の少なくともいずれかを含む、請求項3に記載のシート製造装置。
【請求項5】
古紙を処理してシートを製造する処理部と、
加湿媒体により前記処理部へ加湿空気を供給する加湿部と、
表示部と、を備えるシート製造装置の制御方法であって、
前記加湿部は、前記加湿媒体を支持する取っ手部と、前記取っ手部を検出可能な検出部と、を有しており、
前記検出部により前記取っ手部が検出されると、前記加湿部により前記処理部へ前記加湿空気を供給して、前記処理部により前記シートを製造し、
前記検出部により前記取っ手部が検出されないと、前記加湿部による前記加湿空気の供給、及び、前記処理部による前記シートの製造をせず、前記表示部により所定情報を表示する、シート製造装置の制御方法。
発明の詳細な説明
【技術分野】
【0001】
本発明は、シート製造装置、及び、シート製造装置の制御方法に関する。
続きを表示(約 1,500 文字)
【背景技術】
【0002】
従来、特許文献1に示すように、着脱可能な水トレイ内のフロートの移動を用いて水トレイの収納を検出することができる、加湿するための装置が開示されている。
【先行技術文献】
【特許文献】
【0003】
特開2012-26667号公報
【発明の概要】
【発明が解決しようとする課題】
【0004】
しかしながら、上記の装置は、水に含まれる不純物などによりフロートが固着し、誤検出をするおそれがある。
【課題を解決するための手段】
【0005】
シート製造装置は、古紙を処理してシートを製造する処理部と、加湿媒体により前記処理部へ加湿空気を供給する加湿部と、制御部と、を備え、前記加湿部は、前記加湿媒体を支持する取っ手部と、前記取っ手部を検出可能な検出部と、を有し、前記制御部は、前記検出部により前記取っ手部を検出する。
【0006】
古紙を処理してシートを製造する処理部と、加湿媒体により前記処理部へ加湿空気を供給する加湿部と、表示部と、を備えるシート製造装置の制御方法であって、前記加湿部は、前記加湿媒体を支持する取っ手部と、前記取っ手部を検出可能な検出部と、を有しており、前記検出部により前記取っ手部が検出されると、前記加湿部により前記処理部へ前記加湿空気を供給して、前記処理部により前記シートを製造し、前記検出部により前記取っ手部が検出されないと、前記加湿部による前記加湿空気の供給、及び、前記処理部による前記シートの製造をせず、前記表示部により所定情報を表示する。
【図面の簡単な説明】
【0007】
シート製造装置の構成を示すブロック図。
加湿部の構成を示す斜視図。
加湿部のケースへディスクユニットがセットされたときの検出部の状態を示す断面図。
加湿部のケースからディスクユニットが引き出されたときの検出部の状態を示す断面図。
収容部から取り出されたディスクユニットを示す斜視図。
収容部にディスクユニットが収容されたときの斜視図。
シート製造装置の制御方法を示すフローチャート。
【発明を実施するための形態】
【0008】
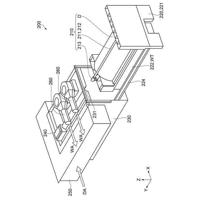
1.シート製造装置の構成
実施形態に係るシート製造装置1の構成について、図1を参照しながら説明する。なお、各図における方向を、三次元座標系を用いて説明する。説明の便宜上、Z軸の正方向を上方向又は単に上と称し負方向を下方向又は単に下と称し、X軸の正方向を右方向又は単に右と称し負方向を左方向又は単に左と称し、Y軸の正方向を後方向又は単に後と称し負方向を前方向又は単に前と称して説明する。
【0009】
図1に示すように、シート製造装置1は、いわゆる乾式にて、原料Gから単票形状のシートS3を製造する装置である。原料Gは、各種繊維、各種繊維の材料などを含んでいてもよい。
実施形態において乾式とは、原料GからシートS3への製造において、液体中で実施されずに、大気などの気中で実施されることをいうものとする。なお、シート製造装置1は、乾式であることに限定されず、いわゆる湿式であってもよい。
【0010】
以下では、シート製造装置1において、原料Gは、ウェブW、シートS1、シートS2、シートS3へと順次形態を変えながら、図1に示す白抜きの矢印の方向に沿って上流から下流へ移動するものとして説明する。なお、以下では、原料GからシートS3を製造する各工程を総称して処理と称し、処理する各構成部を総称して処理部と称する。
(【0011】以降は省略されています)
この特許をJ-PlatPat(特許庁公式サイト)で参照する
関連特許
セイコーエプソン株式会社
記録装置
18日前
セイコーエプソン株式会社
電子時計
3日前
セイコーエプソン株式会社
記録装置
11日前
セイコーエプソン株式会社
電子時計
16日前
セイコーエプソン株式会社
半導体装置
3日前
セイコーエプソン株式会社
文字板及び時計
3日前
セイコーエプソン株式会社
ダイオード回路
3日前
セイコーエプソン株式会社
三次元造形装置
17日前
セイコーエプソン株式会社
シート製造装置
9日前
セイコーエプソン株式会社
プロジェクター
16日前
セイコーエプソン株式会社
トルク伝達機構
16日前
セイコーエプソン株式会社
プロジェクター
16日前
セイコーエプソン株式会社
表示装置の制御方法
16日前
セイコーエプソン株式会社
三次元造形物の製造方法
16日前
セイコーエプソン株式会社
媒体搬送装置及び記録装置
11日前
セイコーエプソン株式会社
乾燥装置及び印刷システム
16日前
セイコーエプソン株式会社
媒体搬送装置及び記録装置
16日前
セイコーエプソン株式会社
液体噴射ヘッド及び液体噴射装置
16日前
セイコーエプソン株式会社
液体噴射ヘッド及び液体噴射装置
16日前
セイコーエプソン株式会社
バンド、時計、およびバンド長さ調整機構
16日前
セイコーエプソン株式会社
補正方法、情報処理装置およびプログラム
11日前
セイコーエプソン株式会社
投写方法、プロジェクター及びプログラム
16日前
セイコーエプソン株式会社
補正方法、プロジェクターおよびプログラム
11日前
セイコーエプソン株式会社
記録装置、積載装置、及び記録装置の制御方法
17日前
セイコーエプソン株式会社
投射位置の判定方法および投射位置の判定装置
16日前
セイコーエプソン株式会社
シート製造装置、及び、シート製造装置の制御方法
11日前
セイコーエプソン株式会社
流量調節装置、三次元造形装置および射出成形装置
16日前
セイコーエプソン株式会社
表示制御方法、表示制御プログラム、及びプロジェクター
16日前
セイコーエプソン株式会社
振動デバイス
3日前
セイコーエプソン株式会社
画像読み取り装置
3日前
セイコーエプソン株式会社
記録装置及び記録方法
18日前
セイコーエプソン株式会社
波長変換装置、波長変換装置の製造方法、光源装置およびプロジェクター
11日前
セイコーエプソン株式会社
ベイパーチャンバー、冷却装置、電子機器、波長変換装置及びプロジェクター
17日前
セイコーエプソン株式会社
ベイパーチャンバー、冷却装置、電子機器、波長変換装置及びプロジェクター
17日前
セイコーエプソン株式会社
電気光学装置および電子機器
9日前
国立大学法人東北大学
弾性表面波デバイス
16日前
続きを見る
他の特許を見る