TOP
|
特許
|
意匠
|
商標
特許ウォッチ
Twitter
他の特許を見る
10個以上の画像は省略されています。
公開番号
2025172194
公報種別
公開特許公報(A)
公開日
2025-11-20
出願番号
2025154835,2021132598
出願日
2025-09-18,2021-08-17
発明の名称
振動デバイス
出願人
セイコーエプソン株式会社
代理人
個人
,
個人
,
個人
主分類
H03H
9/09 20060101AFI20251113BHJP(基本電子回路)
要約
【課題】優れた振動特性を有する振動デバイスを提供する。
【解決手段】振動デバイスは、表裏関係にある第1面および第2面を有するベースと、ベースに対して第1面側に位置し、振動基板および電極を備える振動素子と、第1面に配置されている導電層と、ベースと振動素子との間に配置され、ベースと振動素子とを接合すると共に導電層と電極とを電気的に接続する金属バンプと、ベースと導電層との間に介在し、ベースの平面視で金属バンプと重なり、金属バンプよりも弾性率が小さい第1低弾性率層および振動基板と電極との間に介在し、ベースの平面視で金属バンプと重なり、金属バンプよりも弾性率が小さい第2低弾性率層の少なくとも一方と、を有する。
【選択図】図1
特許請求の範囲
【請求項1】
表裏関係にある第1面および第2面を有するベースと、
前記ベースに対して前記第1面側に位置し、振動基板および前記振動基板の前記ベース側の面に配置されている電極を備える振動素子と、
前記第1面に配置されている導電層と、
前記ベースと前記振動素子との間に配置され、前記ベースと前記振動素子とを接合すると共に前記導電層と前記電極とを電気的に接続する金属バンプと、
前記ベースと前記導電層との間に介在し、前記ベースの平面視で前記金属バンプと重なり、前記金属バンプよりも弾性率が小さい第1低弾性率層および前記振動基板と前記電極との間に介在し、前記ベースの平面視で前記金属バンプと重なり、前記金属バンプよりも弾性率が小さい第2低弾性率層の少なくとも一方と、を有することを特徴とする振動デバイス。
続きを表示(約 300 文字)
【請求項2】
前記第1低弾性率層および前記第2低弾性率層の弾性率は、前記金属バンプの弾性率の1/10以下である請求項1に記載の振動デバイス。
【請求項3】
前記第1低弾性率層および前記第2低弾性率層は、前記導電層で覆われている請求項1または2に記載の振動デバイス。
【請求項4】
前記第1低弾性率層および前記第2低弾性率層は、樹脂材料を含んで形成されている請求項1ないし3のいずれか1項に記載の振動デバイス。
【請求項5】
前記第2面に配置され、前記振動素子と電気的に接続されている発振回路を有する請求項1ないし4のいずれか1項に記載の振動デバイス。
発明の詳細な説明
【技術分野】
【0001】
本発明は、振動デバイスに関する。
続きを表示(約 1,600 文字)
【背景技術】
【0002】
特許文献1には、水晶振動素子が金属バンプを介してパッケージに固定された振動デバイスとしての水晶振動子が開示されている。
【先行技術文献】
【特許文献】
【0003】
特開2016-127469号公報
【発明の概要】
【発明が解決しようとする課題】
【0004】
しかしながら、金属バンプは、弾性率(ヤング率)が高く硬いため、例えば、水晶振動素子とパッケージとの線膨張係数差に起因して生じる熱応力によって塑性変形し易い。金属バンプが塑性変形してしまうと、水晶振動素子に不要振動や周波数ヒステリシスが生じ、振動特性が悪化するおそれがある。
【課題を解決するための手段】
【0005】
本発明の振動デバイスは、表裏関係にある第1面および第2面を有するベースと、前記ベースに対して前記第1面側に位置し、振動基板および前記振動基板の前記ベース側の面に配置されている電極を備える振動素子と、前記第1面に配置されている導電層と、前記ベースと前記振動素子との間に配置され、前記ベースと前記振動素子とを接合すると共に前記導電層と前記電極とを電気的に接続する金属バンプと、前記ベースと前記導電層との間に介在し、前記ベースの平面視で前記金属バンプと重なり、前記金属バンプよりも弾性率が小さい第1低弾性率層および前記振動基板と前記電極との間に介在し、前記ベースの平面視で前記金属バンプと重なり、前記金属バンプよりも弾性率が小さい第2低弾性率層の少なくとも一方と、を有する。
【図面の簡単な説明】
【0006】
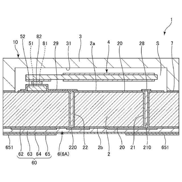
第1実施形態に係る振動デバイスを示す断面図である。
ベースの上面を示す平面図である。
図2中のB-B線断面図である。
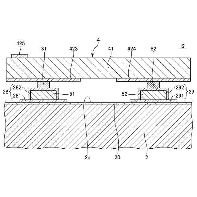
変形例を示す断面図である。
振動素子を示す平面図である。
第2実施形態に係る振動デバイスを示す断面図である。
変形例を示す断面図である。
第3実施形態に係る振動デバイスを示す断面図である。
ヤング率比と応力比との関係を示すグラフ。
【発明を実施するための形態】
【0007】
以下、振動デバイスの好適な実施形態を添付図面に基づいて説明する。なお、説明の便宜上、図1、図3、図4、図6、図7および図8中の紙面上側を「上」とも言い、紙面下側を「下」とも言う。また、図2および図5中の紙面手前側を「上」とも言い、紙面奥側を「下」とも言う。
【0008】
<第1実施形態>
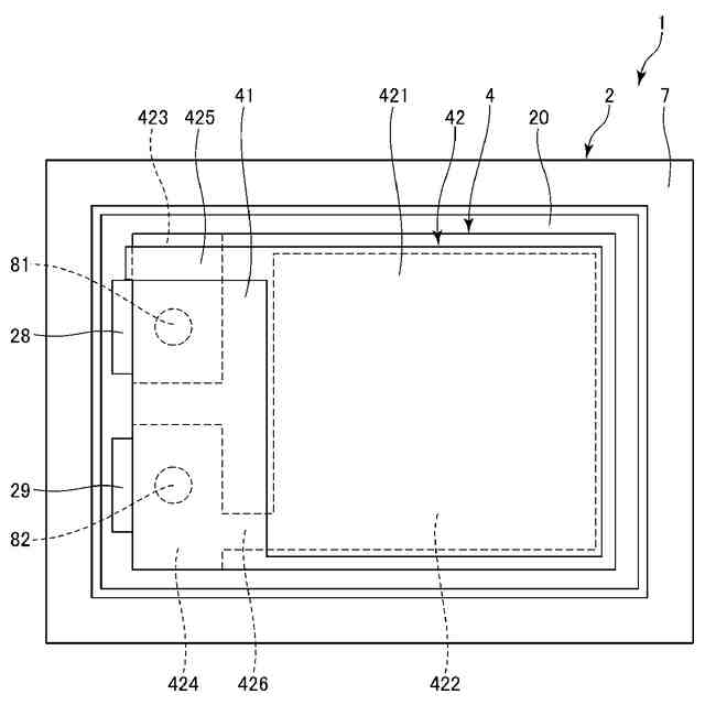
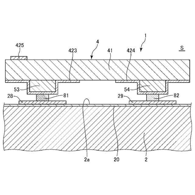
図1は、第1実施形態に係る振動デバイスを示す断面図である。図2は、ベースの上面を示す平面図である。図3は、図2中のB-B線断面図である。図4は、変形例を示す断面図である。図5は、振動素子を示す平面図である。なお、図1は、図2中のA-A線断面図である。
【0009】
図1に示す振動デバイス1は、収容部Sを有するパッケージ10と、収容部S内に収容された振動素子4と、を有する。また、パッケージ10は、一対の金属バンプ81、82を介して振動素子4が接合されたベース2と、振動素子4を覆ってベース2の上面2aに接合されたリッド3と、を有する。また、ベース2には発振回路6Aを含む集積回路6が形成されている。
【0010】
ベース2は、シリコン基板、特にP型のシリコン基板である。ただし、ベース2としては、特に限定されず、N型のシリコン基板であってもよい。また、シリコン以外の半導体基板、例えば、Ge、GaP、GaAs、InP等の半導体基板を用いてもよいし、セラミック基板のような半導体基板以外の基板を用いてもよい。
(【0011】以降は省略されています)
この特許をJ-PlatPat(特許庁公式サイト)で参照する
関連特許
エイブリック株式会社
増幅器
1か月前
エイブリック株式会社
増幅器
1か月前
エイブリック株式会社
増幅回路
1か月前
エイブリック株式会社
電圧検出器
3か月前
株式会社大真空
圧電振動デバイス
3か月前
日本電波工業株式会社
圧電振動片
1か月前
日本電波工業株式会社
水晶振動子
16日前
日本電波工業株式会社
圧電デバイス
3か月前
ローム株式会社
オペアンプ
3か月前
株式会社トーキン
ノイズフィルタ
2か月前
ローム株式会社
オペアンプ
3か月前
ローム株式会社
オペアンプ
3か月前
個人
誤り訂正装置及び誤り訂正方法
3か月前
株式会社村田製作所
増幅回路
2か月前
京セラ株式会社
差動信号フィルタデバイス
3日前
京セラ株式会社
差動信号フィルタデバイス
3日前
台灣晶技股ふん有限公司
水晶発振器
24日前
株式会社大真空
恒温槽型圧電発振器
3か月前
三菱電機株式会社
半導体装置
3か月前
株式会社半導体エネルギー研究所
駆動回路
1か月前
ローム株式会社
オペアンプ回路
3か月前
ローム株式会社
半導体集積回路
3か月前
台灣晶技股ふん有限公司
水晶発振素子
24日前
ローム株式会社
オペアンプ回路
3か月前
ローム株式会社
半導体集積回路
3か月前
TDK株式会社
電子部品
1か月前
株式会社村田製作所
高周波回路
2か月前
ローム株式会社
オペアンプ回路
3か月前
TDK株式会社
電子部品
1か月前
ローム株式会社
半導体集積回路
3か月前
ローム株式会社
自己診断システム
1か月前
住友電気工業株式会社
高周波増幅器
2か月前
株式会社村田製作所
弾性波フィルタ
2か月前
国立大学法人東北大学
弾性表面波デバイス
16日前
三菱電機株式会社
高周波増幅器モジュール
27日前
京セラ株式会社
弾性波装置、分波器及び通信装置
3か月前
続きを見る
他の特許を見る