TOP
|
特許
|
意匠
|
商標
特許ウォッチ
Twitter
他の特許を見る
10個以上の画像は省略されています。
公開番号
2025117046
公報種別
公開特許公報(A)
公開日
2025-08-12
出願番号
2024011692
出願日
2024-01-30
発明の名称
恒温槽型圧電発振器
出願人
株式会社大真空
代理人
個人
主分類
H03H
9/02 20060101AFI20250804BHJP(基本電子回路)
要約
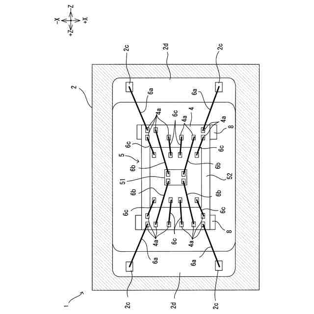
【課題】圧電振動子の熱変化を抑制して温度を安定させ、圧電振動子の周波数特性を安定化させる。
【解決手段】積層型圧電振動子50、ベース基板4、発振用IC51,ヒータ用IC52を含むコア部5をパッケージ2内に収容し、積層型圧電振動子50、ベース基板4、ビア部9の順に熱伝導率が高く、加熱部であるヒータ用IC52の体積を積層型圧電振動子50以上とし、ベース基板4の体積をヒータ用IC52よりも大きくする。さらに、ベース基板4よりも熱伝導率の高いビア部9を、矩形状の第2の封止部材30の4つの角部であってヒータ用IC52および積層型圧電振動子50の第2の封止部材30それぞれとの接合位置に形成する。
【選択図】図1
特許請求の範囲
【請求項1】
少なくとも圧電振動子、該圧電振動子を振動させるための発振回路部、および、前記圧電振動子を加熱する加熱部を含むコア部が、パッケージ内部に密閉状態で封入された恒温槽型圧電発振器において、
前記圧電振動子は、中央に振動部を有する水晶振動板、および、該水晶振動板の主面に接合された伝熱緩衝板を有する積層型圧電振動子であり、
前記コア部は、前記積層型圧電振動子の前記伝熱緩衝板と前記加熱部との間に介在され、一方面が前記加熱部に接合され、他方面が前記伝熱緩衝板に接合されたベース基板を備え、
前記ベース基板の前記加熱部および前記伝熱緩衝板それぞれとの接合位置に透設された貫通孔に金属が充填されて前記加熱部と前記伝熱緩衝板とを接続するビア部が形成されており、
前記積層型圧電振動子、前記ベース基板、前記ビア部の順に熱伝導率が高く、
前記加熱部の体積が前記積層型圧電振動子以上であり、前記ベース基板の体積が前記加熱部よりも大きい
ことを特徴とする恒温槽型圧電発振器。
続きを表示(約 1,100 文字)
【請求項2】
前記積層型圧電振動子の前記伝熱緩衝板は、水晶板からなり、前記水晶振動板の両主面を挟み込む一対の水晶板を有し、前記水晶振動板を真空状態に気密封止することを特徴とする請求項1に記載の恒温槽型圧電発振器。
【請求項3】
少なくとも圧電振動子、該圧電振動子を振動させるための発振回路部、および、前記圧電振動子を加熱する加熱部を含むコア部が、パッケージ内部に密閉状態で封入された恒温槽型圧電発振器において、
前記圧電振動子は、振動部と、該振動部の外周に形成された枠部と、前記振動部と前記枠部の一部とを接続した状態で保持する保持部とを有する枠付き水晶振動板であり、
前記コア部は、前記枠付き水晶振動板と前記加熱部との間に介在され、一方面が前記加熱部に接合され、他方面が前記枠付き水晶振動板の前記枠部に接合されたベース基板を備え、
前記ベース基板の前記加熱部および前記枠付き水晶振動板の前記枠部それぞれとの接合位置に透設された貫通孔に金属が充填されて前記加熱部と前記枠部とを接続するビア部が形成されており、
前記枠付き水晶振動板、前記ベース基板、前記ビア部の順に熱伝導率が高く、
前記加熱部の体積が前記枠付き水晶振動板以上であり、前記ベース基板の体積が前記加熱部よりも大きいことを特徴とする恒温槽型圧電発振器。
【請求項4】
前記ビア部は、前記振動部と重畳しない位置に形成されていることを特徴とする請求項1ないし請求項3のいずれか1項に記載の恒温槽型圧電発振器。
【請求項5】
前記ベース基板は、外周に側壁部と中央に収納部を有し、前記収容部に前記圧電振動子が収容され蓋部材にて気密状態に真空封止されていることを特徴とする請求項1ないし請求項3のいずれか1項、または、請求項1もしくは請求項3に従属する請求項4に記載の恒温槽型圧電発振器。
【請求項6】
前記ベース基板は、前記コア部の各部材よりも熱伝導率の低い保持部材により前記パッケージに機械的に接合され、前記コア部はワイヤボンディングにより前記パッケージに電気的に接続されていることを特徴とする請求項1ないし請求項3のいずれか1項、または、請求項1もしくは請求項3に従属する請求項4に
記載の恒温槽型圧電発振器。
【請求項7】
前記パッケージ内部が真空封止されていることを特徴とする請求項1ないし請求項3のいずれか1項、または、請求項1もしくは請求項3に従属する請求項4に
記載の恒温槽型圧電発振器。
発明の詳細な説明
【技術分野】
【0001】
本発明は、圧電振動子、該圧電振動子を振動させるための発振回路部、および、圧電振動子を加熱する加熱部を含むコア部をパッケージ内部に密閉状態で封入してなる圧電発振器に関する。
続きを表示(約 1,900 文字)
【背景技術】
【0002】
水晶振動子などの圧電振動子は、固有の周波数温度特性に基づき、温度に応じて振動周波数が変化することから、圧電振動子の周囲の温度を一定に保つために、パッケージからなる恒温槽内に圧電振動子を封入した恒温槽型圧電発振器(例えば、温度制御型水晶発振器(Oven-Controlled Xtal(crystal) Oscillator):以下、「OCXO」とも言う)が知られている。
【0003】
さらに、OCXOの中には、断熱性能の向上を図るために、圧電振動子、該圧電振動子を振動させるための発振回路部、および、圧電振動子を加熱する加熱部を断熱用パッケージ内部に支持した状態で収容することが提案されている(特許文献1参照)。
【先行技術文献】
【特許文献】
【0004】
国際公開2022/181546号公報
【発明の概要】
【発明が解決しようとする課題】
【0005】
ところで 、上述したようなOCXOでは、圧電振動子として水晶振動板が使用されるが、圧電振動子の小型化に伴って、水晶振動板の体積が小さくなり、水晶振動板の熱容量が小さくなる。このため、水晶振動板が、外部の熱環境などの変化の影響を受けやすくなり、周波数温度特性が安定しにくい構造となっていた。特に、外部の環境変化に対応して加熱部の熱が微小に変化した場合であっても、水晶振動板に対して過敏に影響し、周波数温度特性が安定せず劣化することがあった。
【0006】
本発明は、上記の課題に鑑みてなされたものであり、圧電振動子の熱変化を抑制して温度を安定させ、圧電振動子の周波数温度特性を安定化させることを目的とする。
【課題を解決するための手段】
【0007】
前記の目的を達成するため、本発明に係る恒温槽型圧電発振器は、少なくとも圧電振動子、該圧電振動子を振動させるための発振回路部、および、前記圧電振動子を加熱する加熱部を含むコア部が、パッケージ内部に密閉状態で封入された恒温槽型圧電発振器において、前記圧電振動子は、中央に振動部を有する水晶振動板、および、該水晶振動板の主面に接合された伝熱緩衝板を有する積層型圧電振動子であり、前記コア部は、前記積層型圧電振動子の前記伝熱緩衝板と前記加熱部との間に介在され、一方面が前記加熱部に接合され、他方面が前記伝熱緩衝板に接合されたベース基板を備え、前記ベース基板の前記加熱部および前記伝熱緩衝板それぞれとの接合位置に透設された貫通孔に金属が充填されて前記加熱部と前記伝熱緩衝板とを接続するビア部が形成されており、前記積層型圧電振動子、前記ベース基板、前記ビア部の順に熱伝導率が高く、前記加熱部の体積が前記積層型圧電振動子以上であり、前記ベース基板の体積が前記加熱部よりも大きいことを特徴としている。
【0008】
この構成によれば、積層型圧電振動子、ベース基板、ビア部の順に熱伝導率が高く、加熱部の体積が積層型圧電振動子以上であり、ベース基板の体積が加熱部よりも大きいため、加熱部から伝わった熱をベース基板に蓄えてコア部の熱容量を増加させることができ、積層型圧電振動子に及ぼす熱変化を緩やかにして積層型圧電振動子の熱変化に対する応答を鈍感にすることができる。また同時に、積層型圧電振動子は外部熱環境の変化に対して影響を受けにくくなり、積層型圧電振動子の熱変化を抑制して温度を安定させ、積層型圧電振動子の周波数温度特性を安定化させることができる。
【0009】
また、ベース基板よりも熱伝導率の高いビア部を、加熱部および積層型圧電振動子の水晶板それぞれとの接合位置に形成して加熱部と伝熱緩衝板とを接続するため、加熱部と水晶板とを互いに熱的に強く接続することができ、加熱部から積層型圧電振動子に素早く熱を伝えて熱伝達の遅延を少なくすることができる。その結果、加熱部と積層型圧電振動子の温度差をなくすことができる。このとき、ビア部と積層型圧電振動子の水晶振動板との間に伝熱緩衝板(熱を直接伝えにくい性質を有するもの)が介在しているため、熱が水晶振動板に直接伝わることがなく、加熱部の熱変化に水晶振動板が過敏に追従することを抑制できる。
【0010】
また、前記積層型圧電振動子の前記伝熱緩衝板は、水晶板からなり、前記水晶振動板の両主面を挟み込む一対の水晶板を有し、前記水晶振動板を伝熱緩衝板に気密
封止するようにしてもよい。
(【0011】以降は省略されています)
この特許をJ-PlatPat(特許庁公式サイト)で参照する
関連特許
株式会社大真空
圧電振動デバイス
1日前
株式会社大真空
圧電振動デバイス及び圧電振動デバイスの製造方法
2か月前
株式会社蜂鳥
増幅器
14日前
エイブリック株式会社
増幅器
2か月前
エイブリック株式会社
増幅器
2か月前
エイブリック株式会社
増幅回路
2か月前
日本電波工業株式会社
圧電振動片
2か月前
エイブリック株式会社
電圧検出器
3か月前
日本電波工業株式会社
水晶振動子
1か月前
株式会社大真空
圧電振動デバイス
1日前
株式会社トーキン
ノイズフィルタ
3か月前
京セラ株式会社
差動信号フィルタデバイス
20日前
京セラ株式会社
差動信号フィルタデバイス
20日前
株式会社半導体エネルギー研究所
駆動回路
2か月前
富士電機株式会社
半導体装置
13日前
台灣晶技股ふん有限公司
水晶発振器
1か月前
株式会社村田製作所
増幅回路
3か月前
株式会社村田製作所
弾性波装置
13日前
株式会社村田製作所
高周波回路
3か月前
TDK株式会社
電子部品
2か月前
京セラ株式会社
弾性波共振子および通信装置
今日
台灣晶技股ふん有限公司
水晶発振素子
1か月前
TDK株式会社
電子部品
2か月前
住友電気工業株式会社
歪補償装置
7日前
ローム株式会社
自己診断システム
1か月前
住友電気工業株式会社
高周波増幅器
2か月前
株式会社村田製作所
弾性波フィルタ
2か月前
国立大学法人東北大学
弾性表面波デバイス
1か月前
三菱電機株式会社
高周波増幅器モジュール
1か月前
株式会社村田製作所
高周波電力増幅器
12日前
株式会社村田製作所
高周波電力増幅器
12日前
日清紡マイクロデバイス株式会社
演算増幅器
2か月前
ローム株式会社
遅延回路
3か月前
ローム株式会社
駆動回路
3か月前
ローム株式会社
駆動回路
3か月前
日本電波工業株式会社
温度センサ内蔵型の水晶振動子
1か月前
続きを見る
他の特許を見る