TOP
|
特許
|
意匠
|
商標
特許ウォッチ
Twitter
他の特許を見る
公開番号
2025079992
公報種別
公開特許公報(A)
公開日
2025-05-23
出願番号
2023192929
出願日
2023-11-13
発明の名称
音叉型圧電振動片
出願人
株式会社大真空
代理人
主分類
H03H
9/19 20060101AFI20250516BHJP(基本電子回路)
要約
【課題】より強度の高い音叉型圧電振動片を提供する。
【解決手段】
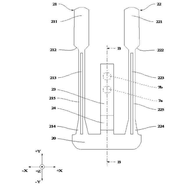
平面視で音叉形状を有し、基部20と、基部20の一端側から伸びる一対の振動腕部21、22と、基部20から伸びる支持腕部23とを備え、支持腕部23は、容器3に対して接合されている金属バンプ7a、7bと、平面視で金属バンプ7a、7bと基部20との間に厚み方向に凸となる厚肉部24とを有する、容器3の内部に搭載されて音叉型圧電振動子1となる音叉型圧電振動片2とした。
【選択図】図3
特許請求の範囲
【請求項1】
平面視で音叉形状を有し、容器の内部に搭載されて圧電振動子となる音叉型圧電振動片であって、
基部と、
前記基部の一端側から伸びる一対の振動腕部と、
前記基部から伸びる支持腕部とを備え、
前記支持腕部は、
前記容器に対して接合されている接合部と、
平面視で前記接合部と前記基部との間に厚み方向に凸となる厚肉部とを有する
音叉型圧電振動片。
続きを表示(約 160 文字)
【請求項2】
前記厚肉部は、
少なくとも前記接合部を有する主面の裏側の主面から凸となるよう形成されている
請求項1記載の音叉型圧電振動片。
【請求項3】
前記接合部を構成する接合部材が、金属からなるバンプで形成されている
請求項1または2記載の音叉型圧電振動片。
発明の詳細な説明
【技術分野】
【0001】
本発明は、一対の振動腕が屈曲振動モードで振動する音叉型圧電振動片に関する。
続きを表示(約 1,200 文字)
【背景技術】
【0002】
音叉型圧電振動片は、時計等の基準信号の周波数発生源として従来から広く使用されている。このような音叉型圧電振動片は、絶縁基体(容器)の凹形状の内部において接合されて実装され、凹部を蓋によって気密封止された表面実装型の音叉型圧電振動子として使用されている。
【0003】
このような音叉型圧電振動子として、基部から互いに平行に延びている第1及び第2の振動腕と、これら振動腕の間に前述の基部から延びている支持腕とを有する3本腕の音叉型水晶片を内部に搭載した音叉型水晶振動子が開示されている(特許文献1参照)。
【先行技術文献】
【特許文献】
【0004】
特開2019-165348
【発明の概要】
【発明が解決しようとする課題】
【0005】
しかし、特許文献1に記載されているような、音叉型圧電振動子と接合される支持腕を有する構成では、2本の振動腕からの振動が支持腕に集中し、等価直列抵抗値(Crystal Impedance、CI値)等の振動特性が悪化するおそれがあった。すなわち、振動特性をより改善した、支持腕を有する音叉型圧電振動片が望まれていた。
【0006】
本発明は、上記課題に鑑みてなされたものであり、より振動特性を改善した音叉型圧電振動片を提供することを目的とする。
【課題を解決するための手段】
【0007】
本発明は、平面視で音叉形状を有し、容器の内部に搭載されて圧電振動子となる音叉型圧電振動片であって、基部と、前記基部の一端側から伸びる一対の振動腕部と、前記基部から伸びる支持腕部とを備え、前記支持腕部は、前記容器に対して接合されている接合部と、平面視で前記接合部と前記基部との間に厚み方向に凸となる厚肉部とを有する音叉型圧電振動片であることを特徴としている。
【0008】
すなわち、本発明の音叉型圧電振動片は、平面視で前記接合部と前記基部との間に厚み方向に凸となる厚肉部を有する構成である。このような構成により、振動腕部からの振動の伝搬を厚肉部で止めることができ、振動特性を改善することができる。
【0009】
また、本来であれば、音叉型圧電振動片を搭載した音叉型圧電振動子に対して衝撃が加わるなどした場合に、接合部を有する支持腕部が破断してしまうおそれがあるところ、厚肉部によって支持腕部の物理的強度を向上させることで、支持腕部が破断することを防止することができる。
【0010】
また、前記厚肉部が、少なくとも前記接合部を有する主面の裏側の主面から凸となるよう形成されている構成であってもよい。このような構成であれば、厚肉部の厚みを十分確保することができ、振動特性をより確実に改善することができる。
(【0011】以降は省略されています)
この特許をJ-PlatPat(特許庁公式サイト)で参照する
関連特許
株式会社大真空
圧電振動デバイス
1日前
株式会社大真空
圧電振動デバイス及び圧電振動デバイスの製造方法
2か月前
株式会社蜂鳥
増幅器
14日前
エイブリック株式会社
増幅器
2か月前
エイブリック株式会社
増幅器
2か月前
エイブリック株式会社
増幅回路
2か月前
日本電波工業株式会社
水晶振動子
1か月前
日本電波工業株式会社
圧電振動片
2か月前
株式会社大真空
圧電振動デバイス
1日前
株式会社トーキン
ノイズフィルタ
3か月前
富士電機株式会社
半導体装置
13日前
京セラ株式会社
差動信号フィルタデバイス
20日前
台灣晶技股ふん有限公司
水晶発振器
1か月前
京セラ株式会社
差動信号フィルタデバイス
20日前
株式会社半導体エネルギー研究所
駆動回路
2か月前
台灣晶技股ふん有限公司
水晶発振素子
1か月前
TDK株式会社
電子部品
2か月前
京セラ株式会社
弾性波共振子および通信装置
今日
TDK株式会社
電子部品
2か月前
株式会社村田製作所
弾性波装置
13日前
ローム株式会社
自己診断システム
1か月前
住友電気工業株式会社
歪補償装置
7日前
住友電気工業株式会社
高周波増幅器
2か月前
三菱電機株式会社
高周波増幅器モジュール
1か月前
株式会社村田製作所
弾性波フィルタ
2か月前
国立大学法人東北大学
弾性表面波デバイス
1か月前
株式会社村田製作所
高周波電力増幅器
12日前
株式会社村田製作所
高周波電力増幅器
12日前
日清紡マイクロデバイス株式会社
演算増幅器
2か月前
エイブリック株式会社
電流制限回路及び電流制限装置
2か月前
太陽誘電株式会社
フィルタ及びマルチプレクサ
2か月前
アルプスアルパイン株式会社
センサ装置
2か月前
台灣晶技股ふん有限公司
発振装置
1か月前
日本電波工業株式会社
温度センサ内蔵型の水晶振動子
1か月前
ローム株式会社
圧電共振器
3か月前
エイブリック株式会社
出力制御回路及び電圧出力回路
2か月前
続きを見る
他の特許を見る