TOP
|
特許
|
意匠
|
商標
特許ウォッチ
Twitter
他の特許を見る
公開番号
2025079990
公報種別
公開特許公報(A)
公開日
2025-05-23
出願番号
2023192927
出願日
2023-11-13
発明の名称
音叉型圧電振動デバイス
出願人
株式会社大真空
代理人
主分類
H03H
9/02 20060101AFI20250516BHJP(基本電子回路)
要約
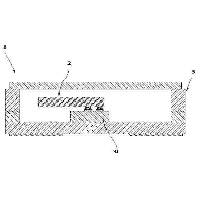
【課題】より耐衝撃性の高い音叉型圧電振動デバイスを提供する。
【解決手段】
1以上の音叉型圧電振動片2を容器3の内部に搭載し、音叉型圧電振動片2は、基部20と、基部20の一端側から第1方向に伸びる一対の振動腕部21,22と、一対の振動腕部21、22の間から第1方向に伸びる支持腕部23と、一対の振動腕部21、22の第1方向側の先端に形成された幅広部211、221とを備え、支持腕部23は、容器3に対して接合されている金属バンプ7a、7bを有し、容器3は、金属バンプ7a、7bと接合されている搭載パッド6a、6bと、搭載パッド6a、6bを上面に有する段部31とを内部に有し、段部31が、一対の幅広部211、221の間に配置されていない音叉型圧電振動子1とした。
【選択図】図1
特許請求の範囲
【請求項1】
少なくとも音叉型圧電振動片を容器の内部に搭載した音叉型圧電振動デバイスであって、
前記音叉型圧電振動片は、
基部と、
前記基部の一端側から第1方向に伸びる一対の振動腕部と、
一対の前記振動腕部の間から前記第1方向に伸びる支持腕部とを備え、
前記振動腕部は、
前記第1方向側の先端に幅広部を有し、
前記支持腕部は、
前記容器に対して接合されている接合部を有し、
前記容器は、
前記接合部と接合されている搭載部と、
前記搭載部を上面に有する段部とを前記内部に有し、
前記段部が、平面視で一対の前記振動腕部のそれぞれの前記幅広部の間に配置されていない
音叉型圧電振動デバイス。
続きを表示(約 280 文字)
【請求項2】
前記支持腕部は、
幅方向の大きさとして支持腕部幅を有し、前記幅方向において一対の前記振動腕部とそれぞれ所定の離間間隔だけ離れて配置されており、
前記段部は、
前記幅方向の大きさとして段部幅を有し、
前記段部幅は、前記支持腕部幅以上の大きさであり、前記支持腕部幅と前記離間間隔との和以下の大きさである
請求項1記載の音叉型圧電振動デバイス。
【請求項3】
前記接合部と前記搭載部とが、金属からなるバンプによって接合されている
請求項1または2記載の音叉型圧電振動デバイス。
発明の詳細な説明
【技術分野】
【0001】
本発明は、一対の振動腕が屈曲振動モードで振動する音叉型圧電振動片を搭載した音叉型圧電振動デバイスに関する。
続きを表示(約 1,900 文字)
【背景技術】
【0002】
音叉型圧電振動片は、時計等の基準信号の周波数発生源として従来から広く使用されている。このような圧電振動片は、絶縁基体(容器)の凹形状の内部において接合されて実装され、凹部を蓋によって気密封止された表面実装型の音叉型圧電振動デバイスとして使用されている。
【0003】
このような音叉型圧電振動デバイスとして、基部から互いに平行に延びている第1及び第2の振動腕と、これら振動腕の間に前述の基部から延びている支持腕とを有する3本腕の音叉型水晶片を内部に搭載した音叉型水晶振動子が開示されている(特許文献1参照)。このような3本腕の音叉型水晶片は、振動腕の左右に支持腕を有する音叉型水晶片と比較して、小型化が可能である。
【先行技術文献】
【特許文献】
【0004】
特開2019-165348
【発明の概要】
【発明が解決しようとする課題】
【0005】
しかし、特許文献1に記載されているような、振動腕の間に基部から延びている支持腕を有する構成では、音叉型水晶振動子(音叉型圧電振動子)に対して衝撃が加わった際に、音叉型水晶振動片(音叉型圧電振動片)の振動腕が支持腕の接合部分を支点として傾くようにして容器と接触し、音叉型圧電振動片の振動特性が変化するおそれがあった。すなわち、例えば、特許文献1に記載されているような、振動腕の間に基部から延びている支持腕を有する形状の音叉型圧電振動片を使用した場合であっても、より耐衝撃性の高い音叉型圧電振動子(音叉型圧電振動デバイス)が望まれていた。
【0006】
本発明は、上記課題に鑑みてなされたものであり、より耐衝撃性の高い音叉型圧電振動デバイスを提供することを目的とする。
【課題を解決するための手段】
【0007】
本発明は、少なくとも音叉型圧電振動片を容器の内部に搭載した音叉型圧電振動デバイスであって、前記音叉型圧電振動片は、基部と、前記基部の一端側から第1方向に伸びる一対の振動腕部と、一対の前記振動腕部の間から前記第1方向に伸びる支持腕部とを備え、前記振動腕部は、前記第1方向側の先端に幅広部を有し、前記支持腕部は、前記容器に対して接合されている接合部を有し、前記容器は、前記接合部と接合されている搭載部と、前記搭載部を上面に有する段部とを前記内部に有し、前記段部が、平面視で一対の前記振動腕部のそれぞれの前記幅広部の間に配置されていない音叉型圧電振動デバイスであることを特徴としている。
【0008】
すなわち、本発明の音叉型圧電振動デバイスは、搭載された音叉型圧電振動片が第1方向に伸びる振動腕部と振動腕部の先端に設けられた幅広部とを有し、容器が搭載部を上面に有する段部を内部に有し、段部が、平面視で幅広部の間に配置されていない構成である。このような構成により、容器と振動腕部との間隔を十分に確保することができ、音叉型圧電振動デバイスの耐衝撃性を向上させることができる。また、搭載ずれによって音叉型圧電振動片が左右方向にずれて配置されたとしても、振動腕部の屈曲振動や衝撃による振動等で幅広部や振動腕部が容器と接触することを防止することができる。
【0009】
また、前記支持腕部は、幅方向の大きさとして支持腕部幅を有し、前記幅方向において一対の前記振動腕部とそれぞれ所定の離間間隔だけ離れて配置されており、前記段部は、前記幅方向の大きさとして段部幅を有し、前記段部幅は、前記支持腕部幅以上の大きさであり、前記支持腕部幅と前記離間間隔との和以下の大きさである構成であってもよい。このような構成であれば、支持腕部幅に対して段部幅を十分に確保することができる。すなわち、搭載ずれによって音叉型圧電振動片が支持腕部の幅方向にずれて配置されたとしても、接合部の領域を十分に確保することができ、音叉型圧電振動デバイスの信頼性を向上させることができる。
【0010】
また、前記接合部と前記搭載部とが、金属からなるバンプによって接合されている構成であってもよい。このような構成であれば、接着剤による接合と比較して容器と音叉型圧電振動片との接合強度を向上させることができる。また、接合強度が向上することによって、圧電振動デバイスが外部からの衝撃を受けた場合に、搭載されている音叉型圧電振動片の振動腕部が容器と接触して、破損したり振動特性が変化することを防止することができる。
【発明の効果】
(【0011】以降は省略されています)
この特許をJ-PlatPat(特許庁公式サイト)で参照する
関連特許
株式会社大真空
圧電振動デバイス
今日
株式会社大真空
圧電振動デバイス及び圧電振動デバイスの製造方法
2か月前
株式会社蜂鳥
増幅器
13日前
エイブリック株式会社
増幅器
2か月前
エイブリック株式会社
増幅器
2か月前
エイブリック株式会社
増幅回路
2か月前
日本電波工業株式会社
圧電振動片
2か月前
日本電波工業株式会社
水晶振動子
1か月前
株式会社大真空
圧電振動デバイス
今日
株式会社トーキン
ノイズフィルタ
3か月前
富士電機株式会社
半導体装置
12日前
京セラ株式会社
差動信号フィルタデバイス
19日前
京セラ株式会社
差動信号フィルタデバイス
19日前
台灣晶技股ふん有限公司
水晶発振器
1か月前
株式会社半導体エネルギー研究所
駆動回路
2か月前
台灣晶技股ふん有限公司
水晶発振素子
1か月前
TDK株式会社
電子部品
2か月前
株式会社村田製作所
弾性波装置
12日前
TDK株式会社
電子部品
2か月前
住友電気工業株式会社
歪補償装置
6日前
ローム株式会社
自己診断システム
1か月前
国立大学法人東北大学
弾性表面波デバイス
1か月前
住友電気工業株式会社
高周波増幅器
2か月前
三菱電機株式会社
高周波増幅器モジュール
1か月前
株式会社村田製作所
弾性波フィルタ
2か月前
日清紡マイクロデバイス株式会社
演算増幅器
2か月前
株式会社村田製作所
高周波電力増幅器
11日前
株式会社村田製作所
高周波電力増幅器
11日前
日本電波工業株式会社
温度センサ内蔵型の水晶振動子
1か月前
台灣晶技股ふん有限公司
発振装置
1か月前
太陽誘電株式会社
フィルタ及びマルチプレクサ
2か月前
アルプスアルパイン株式会社
センサ装置
2か月前
ローム株式会社
圧電共振器
3か月前
エイブリック株式会社
電流制限回路及び電流制限装置
2か月前
エイブリック株式会社
出力制御回路及び電圧出力回路
2か月前
日本電気株式会社
原子発振器
3か月前
続きを見る
他の特許を見る