TOP
|
特許
|
意匠
|
商標
特許ウォッチ
Twitter
他の特許を見る
公開番号
2025080632
公報種別
公開特許公報(A)
公開日
2025-05-26
出願番号
2023193916
出願日
2023-11-14
発明の名称
ウェハ
出願人
日本電波工業株式会社
代理人
個人
主分類
H03H
3/02 20060101AFI20250519BHJP(基本電子回路)
要約
【課題】ウェハ当たりのチップの個数が減少することを回避しつつ、治具等に対して適切に位置決めすることが可能なウェハを提供する。
【解決手段】ウェハ1は、多数のチップ30が形成されたチップ形成領域10を囲む枠部11と、両端が枠部11に接続された第1桟部21と、両端が枠部11に接続され、チップ形成領域10の中央部で第1桟部21と交差する第2桟部22とを有する。第1桟部21には、ウェハ1を位置決めするための複数のピンが挿通される複数の位置決め用孔(41、42)が形成される。チップ形成領域10の外側に位置決め用孔(41、42)が形成されるため、ウェハ当たりのチップ30の個数が位置決め用孔(41、42)によって減少することを回避できる。
【選択図】図1
特許請求の範囲
【請求項1】
多数のチップが形成された板状のウェハであって、
前記チップが形成されたチップ形成領域を囲む枠部と、
両端が前記枠部に接続された第1桟部と、
両端が前記枠部に接続され、前記チップ形成領域において前記第1桟部と交差する第2桟部とを有し、
前記ウェハを位置決めするための複数のピンが挿通される複数の位置決め用孔が前記第1桟部及び前記第2桟部の一方に形成される、又は、1以上の前記位置決め用孔が前記第1桟部及び前記第2桟部の両方に形成される、
ウェハ。
続きを表示(約 780 文字)
【請求項2】
それぞれ複数の前記チップが切り取り可能に設けられ、前記チップ形成領域においてそれぞれ前記第2桟部と平行に延びた複数の第3桟部を有し、
少なくとも一部の前記第3桟部は、一端が前記第1桟部に接続されており、
前記第1桟部の短手方向の横幅が前記第2桟部の短手方向の横幅より大きく、
複数の前記位置決め用孔が前記第1桟部に形成される、
請求項1に記載のウェハ。
【請求項3】
前記第1桟部に形成される複数の前記位置決め用孔は、第1位置決め用孔と第2位置決め用孔を含み、
前記第1位置決め用孔と前記第2位置決め用孔とは、平面視において互いに非点対称かつ非線対称の関係にあり、
前記第1位置決め用孔と前記第2位置決め用孔の少なくとも一方が非線対称な平面形状を持つか、又は、前記第1位置決め用孔と前記第2位置決め用孔がそれぞれ異なる対称軸について線対称な平面形状を持つ、
請求項2に記載のウェハ。
【請求項4】
前記第1位置決め用孔と前記第2位置決め用孔は、互いに異なる平面形状を持つ、
請求項3に記載のウェハ。
【請求項5】
前記第1位置決め用孔の平面形状の中心と前記第2位置決め用孔の平面形状の中心とが、それぞれ前記第1桟部の短手方向の中央からずれている、
請求項4に記載のウェハ。
【請求項6】
前記第1位置決め用孔は、長方形の形状を持ち、
前記第2位置決め用孔は、平面視四角形であり、各辺の長さが前記長方形の長辺より短く短辺より長い矩形の形状を持つ、
請求項5に記載のウェハ。
【請求項7】
前記ウェハは、水晶ウェハである請求項1~請求項6のいずれか一項に記載のウェハ。
発明の詳細な説明
【技術分野】
【0001】
本発明は、多数のチップが形成されたウェハに関するものである。
続きを表示(約 2,000 文字)
【背景技術】
【0002】
特表2017-530569号公報の図5等には、レーザ切断やブレード切断によってチップを切断するための多数の切断位置決め孔9が設けられた石英基板8が記載されている。
【先行技術文献】
【特許文献】
【0003】
特表2017-530569号公報
【発明の概要】
【発明が解決しようとする課題】
【0004】
切り取り可能な多数のチップが形成された水晶ウェハから個々のチップを切り取る場合、水晶ウェハを2次元方向の正しい位置に位置決めして治具等に固定する必要がある。特表2017-530569号公報に記載される石英基板8には多数の切断位置決め孔9が設けられているため、その分チップ形成範囲が狭くなり、ウェハ当たりのチップの個数が少なくなっている。ウェハが正しい位置で治具等に固定されていないと、チップを切り取る際に破損してしまう恐れがある。
【0005】
本発明はかかる事情に鑑みてなされたものであり、その目的は、ウェハ当たりのチップの個数が減少することを回避しつつ、治具等に対して適切に位置決めすることが可能なウェハを提供することにある。
【課題を解決するための手段】
【0006】
本発明の一態様は、多数のチップが形成された板状のウェハであって、チップが形成されたチップ形成領域を囲む枠部と、両端が枠部に接続された第1桟部と、両端が枠部に接続され、チップ形成領域において第1桟部と交差する第2桟部とを有し、ウェハを位置決めするための複数のピンが挿通される複数の位置決め用孔が第1桟部及び第2桟部の一方に形成される、又は、1以上の位置決め用孔が第1桟部及び第2桟部の両方に形成される、ウェハである。
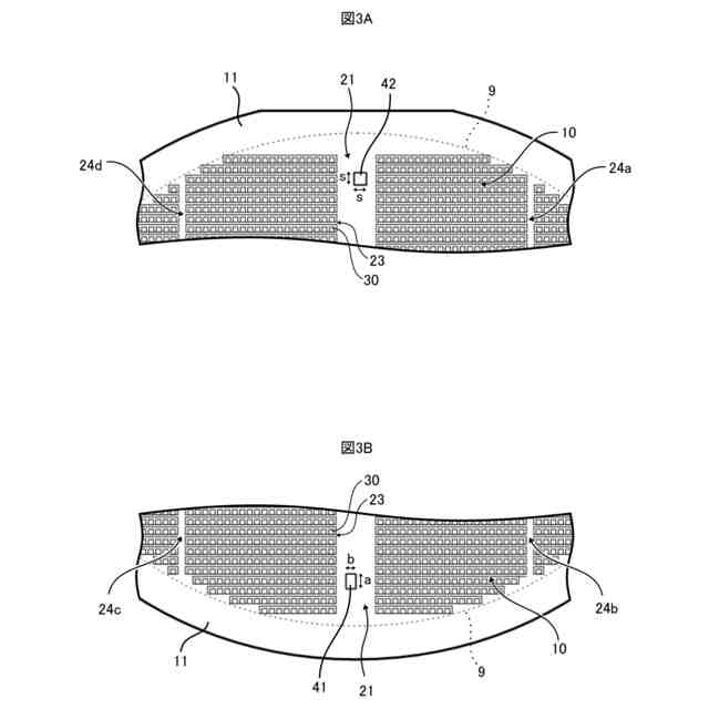
この構成によれば、複数の位置決め用孔にそれぞれピンが挿入されることによって、治具等に対する平面上でのウェハの位置と姿勢が適切に設定される。また、チップ形成領域の外側に位置決め用孔が形成されるため、ウェハ当たりのチップの個数が位置決め用孔によって減少することを回避できる。更に、ウェハの外縁から離れた場所に位置決め用孔を形成できるため、治具等による制約を受け難くなり、位置決め用孔へ適切にピンを挿通させることができる。
【0007】
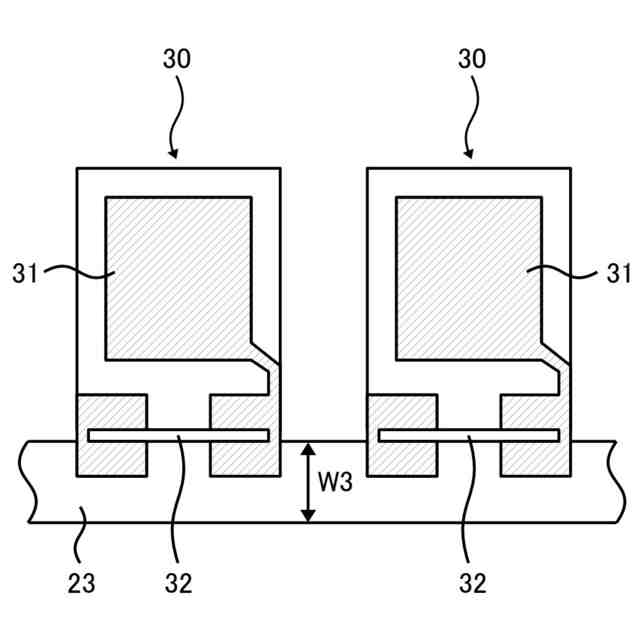
好適に、ウェハは、それぞれ複数のチップが切り取り可能に設けられ、チップ形成領域においてそれぞれ第2桟部と平行に延びた複数の第3桟部を有し、少なくとも一部の第3桟部は、一端が第1桟部に接続されており、第1桟部の短手方向の横幅が第2桟部の短手方向の横幅より大きく、複数の位置決め用孔が第1桟部に形成される。
この構成によれば、第3桟部からチップを切り取る際、その切り取りに伴う外力が第3桟部を介して第2桟部に直接作用しないため、第2桟部の横幅は第1桟部の横幅より小さくてもよい。第2桟部の横幅が小さくなることにより、チップ形成領域が大きくなり、ウェハ当たりのチップの数を多くすることができる。また、第2桟部よりも横幅の大きい第1桟部に複数の位置決め用孔が形成されるため、位置決め用孔の形成による桟部の強度の低下が抑制され易くなる。
【0008】
好適に、第1桟部に形成される複数の位置決め用孔は、第1位置決め用孔と第2位置決め用孔を含み、第1位置決め用孔と第2位置決め用孔とは、平面視において互いに非点対称かつ非線対称の関係にあり、第1位置決め用孔と第2位置決め用孔の少なくとも一方が非線対称の平面形状を持つか、又は、第1位置決め用孔と第2位置決め用孔がそれぞれ異なる対称軸について線対称の平面形状を持つ。
これにより、正しく位置決めされたウェハを180度回転させた場合や、正しく位置決めされたウェハの裏表を逆にした場合に、第1位置決め用孔及び第2位置決め用孔の配置が正しく位置決めされたウェハとは異なる配置になるため、これらの位置決め用孔へ位置決め用のピンを挿通させることができなくなる。
【0009】
好適に、第1位置決め用孔と第2位置決め用孔は、互いに異なる平面形状を持つ。
これにより、第1位置決め用孔と第2位置決め用孔とを平面形状によって識別し易くなるため、ウェハの位置と姿勢を目視や画像認識によって確認し易くなる。
【0010】
好適に、第1位置決め用孔の平面形状の中心と第2位置決め用孔の平面形状の中心とが、それぞれ第1桟部の短手方向の中央からずれている。
これにより、第1桟部の短手方向における各位置決め用孔の位置と平面形状から、各位置決め用孔が第1位置決め用孔及び第2位置決め用孔のいずれであるかを識別し易くなるため、ウェハの位置と姿勢を目視や画像認識によって確認し易くなる。
(【0011】以降は省略されています)
この特許をJ-PlatPat(特許庁公式サイト)で参照する
関連特許
日本電波工業株式会社
水晶振動子
1か月前
日本電波工業株式会社
圧電振動片
2か月前
日本電波工業株式会社
超音波探触子
4日前
日本電波工業株式会社
温度センサ内蔵型の水晶振動子
1か月前
日本電波工業株式会社
圧電デバイス、圧電振動片及び圧電ウエハ
1か月前
日本電波工業株式会社
水晶振動子
19日前
日本電波工業株式会社
水晶振動子
1か月前
日本電波工業株式会社
温度センサ内蔵型の水晶振動子
1か月前
株式会社蜂鳥
増幅器
13日前
エイブリック株式会社
増幅器
2か月前
エイブリック株式会社
増幅器
2か月前
エイブリック株式会社
増幅回路
2か月前
日本電波工業株式会社
圧電振動片
2か月前
日本電波工業株式会社
水晶振動子
1か月前
株式会社大真空
圧電振動デバイス
今日
京セラ株式会社
差動信号フィルタデバイス
19日前
京セラ株式会社
差動信号フィルタデバイス
19日前
台灣晶技股ふん有限公司
水晶発振器
1か月前
富士電機株式会社
半導体装置
12日前
株式会社半導体エネルギー研究所
駆動回路
2か月前
TDK株式会社
電子部品
2か月前
台灣晶技股ふん有限公司
水晶発振素子
1か月前
TDK株式会社
電子部品
2か月前
株式会社村田製作所
弾性波装置
12日前
住友電気工業株式会社
歪補償装置
6日前
ローム株式会社
自己診断システム
1か月前
住友電気工業株式会社
高周波増幅器
2か月前
国立大学法人東北大学
弾性表面波デバイス
1か月前
株式会社村田製作所
弾性波フィルタ
2か月前
三菱電機株式会社
高周波増幅器モジュール
1か月前
日清紡マイクロデバイス株式会社
演算増幅器
2か月前
株式会社村田製作所
高周波電力増幅器
11日前
株式会社村田製作所
高周波電力増幅器
11日前
エイブリック株式会社
出力制御回路及び電圧出力回路
2か月前
アルプスアルパイン株式会社
センサ装置
2か月前
ローム株式会社
圧電共振器
3か月前
続きを見る
他の特許を見る