TOP
|
特許
|
意匠
|
商標
特許ウォッチ
Twitter
他の特許を見る
10個以上の画像は省略されています。
公開番号
2025179012
公報種別
公開特許公報(A)
公開日
2025-12-09
出願番号
2025066382
出願日
2025-04-14
発明の名称
圧電振動デバイス
出願人
株式会社大真空
代理人
個人
主分類
H03H
9/02 20060101AFI20251202BHJP(基本電子回路)
要約
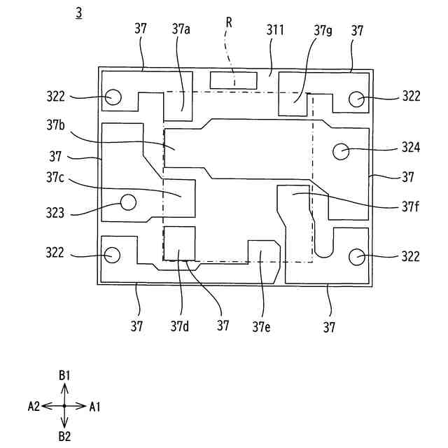
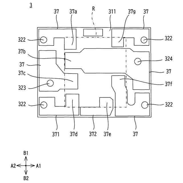
【課題】金属バンプにより電子部品素子を圧電振動デバイスの封止板に接合する場合に、封止板の割れを防止して信頼性に優れた圧電振動デバイスを提供する。
【解決手段】ICチップ(電子部品素子)の下面に7つの封止板接続用電極部を配置し、第1封止部材(上部封止板)3の圧電振動板2と対向しない上面の電極パターン37に、ICチップの封止板接続用電極部それぞれが接続される7つの電子部品素子接続用電極部37a~37gを配置し、金属バンプを用いてICチップの7つの封止板接続用電極部と、上部封止板3の7つの電子部品素子接続用電極部37a~37gとをそれぞれで接合する。
【選択図】図2
特許請求の範囲
【請求項1】
圧電振動板が、該圧電振動板の上面および下面をそれぞれ覆う上部封止板および下部封止板により気密封止されるとともに、前記上部封止板の上面側に電子部品素子が金属バンプを用いて電気的、機械的に接合された圧電振動デバイスにおいて、
前記圧電振動板は略矩形状を有し、
一対の励振電極が形成された平面矩形状の振動部と、
前記振動部の外周壁を取り囲む平面視矩形状の内周壁を有する外枠部と、
前記振動部の前記外周壁と前記外枠部の前記内周壁とを連結する保持部と、
前記振動部と前記外枠部の間に前記圧電振動板を板厚方向に切り抜いて形成された切り抜き部とを備え、
前記外枠部が、前記振動部および前記保持部よりも厚く形成され、
前記上部封止板は、
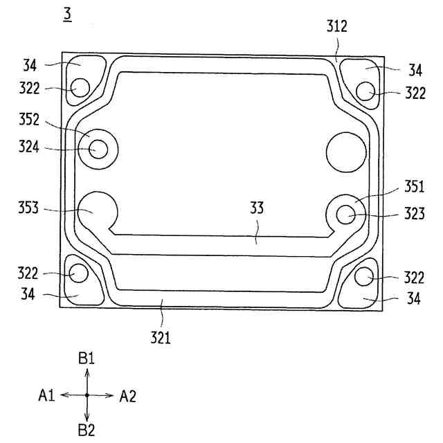
前記圧電振動板と略同一の矩形状を有し、前記圧電振動板の上面を覆って前記振動部を封止し、
前記下部封止板は、
前記圧電振動板と略同一の矩形状を有し、前記圧電振動板の下面を覆って前記振動部を封止し、
前記電子部品素子は、
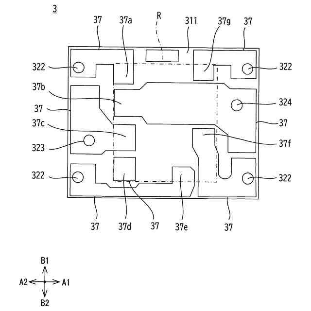
平面視の面積が前記上部封止板および前記下部封止板よりも小さく、その下面には7つ以上の封止板接続用電極部が形成され、
前記上部封止板の前記圧電振動板と対向しない上面には、前記7つ以上の封止板接続用電極部それぞれが接続される7つ以上の電子部品素子接続用電極部が形成され、
前記金属バンプは、前記電子部品素子の前記7つ以上の封止板接続用電極部と、前記上部封止板の前記7つ以上の電子部品素子接続用電極部とをそれぞれ電気的に接続するものである
ことを特徴とする圧電振動デバイス。
続きを表示(約 500 文字)
【請求項2】
前記電子部品素子の前記7つ以上の封止板接続用電極部は、周縁部に形成されていることを特徴とする請求項1に記載の圧電振動デバイス。
【請求項3】
前記電子部品素子の前記7つ以上の封止板接続用電極部は、
前記電子部品素子の少なくとも3隅部と、一対の長辺の中央部の2箇所以上に形成されていることを特徴とする請求項1に記載の圧電振動デバイス。
【請求項4】
前記上部封止板の前記7つ以上の電子部品素子接続用電極部は、前記圧電振動板の前記外枠部の内周壁より内側の平面視で矩形領域に形成され、
前記矩形領域の1つの長辺に沿う1つ以上の前記電子部品素子接続用電極部は、いずれにも接続されることのない浮島状に形成されている
ことを特徴とする請求項1ないし請求項3のいずれか1項に記載の圧電振動デバイス。
【請求項5】
前記圧電振動板の前記外枠部は、その矩形の短辺に相当する部分の幅が長辺に相当する部分よりも大きいことを特徴とする請求項1ないし請求項3のいずれか1項、または、請求項1に従属する請求項4に記載の圧電振動デバイス。
発明の詳細な説明
【技術分野】
【0001】
本発明は、圧電振動デバイスに関する。
続きを表示(約 2,100 文字)
【背景技術】
【0002】
従来、振動板に封止板を積層して一体化し、金属バンプを用いてICチップなどの電子部品素子を接続してなる積層型の圧電振動デバイスがある(例えば、特許文献1参照)。詳細には、振動部および該振動部の外周を取り囲む外枠部を備える圧電基板の一主面を第1封止部材により覆って振動部を封止するとともに、圧電基板の他主面を第2封止部材により覆って振動部を封止し、第1封止部材および第2封止部材の少なくとも一方に電子部品素子が接続される外部電極を設け、電子部品素子を、平面視において圧電基板の外枠部の一部または全部と重畳する6つの位置で金属バンプを用いて封止部材の外部電極に接続し、圧電振動デバイスが形成される。
【0003】
そして近年、この種の圧電振動デバイスの小型化が進み、接続されるICチップなどの電子部品素子よりも小型のデバイスが開発されている。また、要求される発振特性に対応した発振用ICの多様化も進んでいる。
【先行技術文献】
【特許文献】
【0004】
特許第6737326号公報
【発明の概要】
【発明が解決しようとする課題】
【0005】
しかし 、圧電振動デバイスの小型化に伴い、圧電振動デバイスに搭載されるICなどの電子部品素子の小型化や多様化も進むことになる。このように圧電振動デバイスの小型化が進むと、従来のように、金属バンプを用いて電子部品素子を圧電振動デバイスの封止部材に接合して電気的に接続する構成では、圧電振動デバイスの封止部材に電子部品素子を接続する場合に、接合時の押圧力が強いと封止部材の割れが生じやすく、押圧力が弱いと接合強度の不足が生じやすくなる。そこで、接合強度を確保する場合、接合時の押圧による応力が封止部材の所定部に集中して撓みが生じ、封止部材に割れが生じ、圧電振動デバイスの信頼性の低下を招くおそれがある。そのため、封止部材に悪影響を与えない位置で金属バンプの接合を行う必要が生じる。
【0006】
本発明は、上記の課題に鑑みてなされたものであり、金属バンプを用いて外部の電子部品素子を圧電振動デバイスの封止板に接合する場合に、封止板の割れを防止して信頼性に優れた圧電振動デバイスを提供できるようにすることを目的とする。
【課題を解決するための手段】
【0007】
前記の目的を達成するため、本発明に係る圧電振動デバイスは、圧電振動板が、該圧電振動板の上面および下面をそれぞれ覆う上部封止板および下部封止板により気密封止されるとともに、前記上部封止板の上面側に電子部品素子が金属バンプを用いて電気的、機械的に接合された圧電振動デバイスにおいて、前記圧電振動板は略矩形状を有し、一対の励振電極が形成された平面矩形状の振動部と、前記振動部の外周壁を取り囲む平面視矩形状の内周壁を有する外枠部と、前記振動部の前記外周壁と前記外枠部の前記内周壁とを連結する保持部と、前記振動部と前記外枠部の間に前記圧電振動板を板厚方向に切り抜いて形成された切り抜き部とを備え、前記外枠部が、前記振動部および前記保持部よりも厚く形成され、前記上部封止板は、前記圧電振動板と略同一の矩形状を有し、前記圧電振動板の上面を覆って前記振動部を封止し、前記下部封止板は、前記圧電振動板と略同一の矩形状を有し、前記圧電振動板の下面を覆って前記振動部を封止し、前記電子部品素子は、平面視の面積が前記上部封止板および前記下部封止板よりも小さく、その下面には7つ以上の封止板接続用電極部が形成され、前記上部封止板の前記圧電振動板と対向しない上面には、前記7つ以上の封止板接続用電極部それぞれが接続される7つ以上の電子部品素子接続用電極部が形成され、前記金属バンプは、前記電子部品素子の前記7つ以上の封止板接続用電極部と、前記上部封止板の前記7つ以上の電子部品素子接続用電極部とをそれぞれ電気的に接続するものであることを特徴としている。
【0008】
この構成によれば、6つ以下の封止板接続用電極部と電子部品素子接続用電極部との接合する場合に、電子部品素子の矩形の長辺中央部の2箇所で接合できないために応力を分散できなくなるのに比べ、7つ以上の封止板接続用電極部と電子部品素子接続用電極部とを接合する構成にしたため、電子部品素子を上部封止板に金属バンプにより接合する際に、接合時の押圧による応力を分散して、応力が上部封止板の一部に集中するのを防止することができ、上部封止板の割れを防止することができる。
【0009】
また、前記電子部品素子の前記7つ以上の封止板接続用電極部は、周縁部に形成されていてもよい。
【0010】
この構成によれば、電子部品素子の7つ以上の封止板接続用電極部を周縁部に形成することにより、電子部品素子を上部封止板に金属バンプを用いて接合する際の押圧による応力を効果的に分散することができる。
(【0011】以降は省略されています)
この特許をJ-PlatPat(特許庁公式サイト)で参照する
関連特許
株式会社大真空
圧電振動デバイス
今日
株式会社大真空
圧電振動デバイス及び圧電振動デバイスの製造方法
2か月前
株式会社蜂鳥
増幅器
13日前
エイブリック株式会社
増幅器
2か月前
エイブリック株式会社
増幅器
2か月前
エイブリック株式会社
増幅回路
2か月前
日本電波工業株式会社
水晶振動子
1か月前
日本電波工業株式会社
圧電振動片
2か月前
エイブリック株式会社
電圧検出器
3か月前
株式会社大真空
圧電振動デバイス
今日
株式会社トーキン
ノイズフィルタ
3か月前
京セラ株式会社
差動信号フィルタデバイス
19日前
富士電機株式会社
半導体装置
12日前
株式会社村田製作所
増幅回路
3か月前
株式会社半導体エネルギー研究所
駆動回路
2か月前
台灣晶技股ふん有限公司
水晶発振器
1か月前
京セラ株式会社
差動信号フィルタデバイス
19日前
株式会社村田製作所
高周波回路
3か月前
台灣晶技股ふん有限公司
水晶発振素子
1か月前
株式会社村田製作所
弾性波装置
12日前
TDK株式会社
電子部品
2か月前
TDK株式会社
電子部品
2か月前
ローム株式会社
自己診断システム
1か月前
住友電気工業株式会社
歪補償装置
6日前
株式会社村田製作所
弾性波フィルタ
2か月前
国立大学法人東北大学
弾性表面波デバイス
1か月前
三菱電機株式会社
高周波増幅器モジュール
1か月前
住友電気工業株式会社
高周波増幅器
2か月前
株式会社村田製作所
高周波電力増幅器
11日前
株式会社村田製作所
高周波電力増幅器
11日前
日清紡マイクロデバイス株式会社
演算増幅器
2か月前
台灣晶技股ふん有限公司
発振装置
1か月前
エイブリック株式会社
出力制御回路及び電圧出力回路
2か月前
太陽誘電株式会社
フィルタ及びマルチプレクサ
2か月前
アルプスアルパイン株式会社
センサ装置
2か月前
日本電波工業株式会社
温度センサ内蔵型の水晶振動子
1か月前
続きを見る
他の特許を見る