TOP
|
特許
|
意匠
|
商標
特許ウォッチ
Twitter
他の特許を見る
公開番号
2025169048
公報種別
公開特許公報(A)
公開日
2025-11-12
出願番号
2024074020
出願日
2024-04-30
発明の名称
補正方法、プロジェクターおよびプログラム
出願人
セイコーエプソン株式会社
代理人
弁理士法人旺知国際特許事務所
主分類
H04N
5/74 20060101AFI20251105BHJP(電気通信技術)
要約
【課題】幾何補正が意図せず頻繁に切り替わることを低減する。
【解決手段】補正方法は、水平面とプロジェクターの投写方向とのなす角度である投写角度が第1範囲内の角度である場合に、プロジェクターから第1投写面に投写される画像の歪みを補正するための第1幾何補正を適用することと、投写角度が第1範囲とは異なる第2範囲内の角度である場合に、プロジェクターから第1投写面と交差する第2投写面に投写される画像の歪みを補正するための第2幾何補正を適用することと、投写角度が第1範囲から第1範囲と第2範囲との間の範囲である第3範囲内の角度に変化した場合に、第1幾何補正を適用することと、投写角度が第2範囲から第3範囲内の角度に変化した場合に、第2幾何補正を適用することと、を含む。
【選択図】図3
特許請求の範囲
【請求項1】
水平面とプロジェクターの投写方向とのなす角度である投写角度が第1範囲内の角度である場合に、前記プロジェクターから第1投写面に投写される画像の歪みを補正するための第1幾何補正を適用することと、
前記投写角度が前記第1範囲とは異なる第2範囲内の角度である場合に、前記プロジェクターから前記第1投写面と交差する第2投写面に投写される画像の歪みを補正するための第2幾何補正を適用することと、
前記投写角度が前記第1範囲から前記第1範囲と前記第2範囲との間の範囲である第3範囲内の角度に変化した場合に、前記第1幾何補正を適用することと、
前記投写角度が前記第2範囲から前記第3範囲内の角度に変化した場合に、前記第2幾何補正を適用することと、
を含む、補正方法。
続きを表示(約 1,200 文字)
【請求項2】
前記投写角度が前記第3範囲内の角度から前記第2範囲内の角度に変化した場合に、前記第2幾何補正を適用すること、をさらに含む、
請求項1に記載の補正方法。
【請求項3】
前記投写角度が前記第3範囲内の角度から前記第1範囲内の角度に変化した場合に、前記第1幾何補正を適用すること、をさらに含む、
請求項1に記載の補正方法。
【請求項4】
前記第1幾何補正は、前記第1投写面と前記投写方向とのなす角度を示す変数を用いる処理を含み、
前記第2幾何補正は、前記第2投写面と前記投写方向とのなす角度を示す変数を用いる処理を含む、
請求項1から3のいずれか1項に記載の補正方法。
【請求項5】
前記第3範囲は、0°よりも大きく、かつ、90°以下である、
請求項1から3のいずれか1項に記載の補正方法。
【請求項6】
前記第1投写面は、鉛直方向に平行な面であり、
前記第2投写面は、鉛直方向に垂直な面である、
請求項1から3のいずれか1項に記載の補正方法。
【請求項7】
光学装置と、
水平面と前記光学装置の投写方向とのなす角度である投写角度が第1範囲内の角度である場合に、前記光学装置から第1投写面に投写される画像の歪みを補正するための第1幾何補正を適用することと、
前記投写角度が前記第1範囲とは異なる第2範囲内の角度である場合に、前記光学装置から前記第1投写面と交差する第2投写面に投写される画像の歪みを補正するための第2幾何補正を適用することと、
前記投写角度が前記第1範囲から前記第1範囲と前記第2範囲との間の範囲である第3範囲内の角度に変化した場合に、前記第1幾何補正を適用することと、
前記投写角度が前記第2範囲から前記第3範囲内の角度に変化した場合に、前記第2幾何補正を適用することと、
を実行する少なくとも1つのプロセッサーと、
を含む、プロジェクター。
【請求項8】
少なくとも1つのプロセッサーに、
水平面とプロジェクターの投写方向とのなす角度である投写角度が第1範囲内の角度である場合に、前記プロジェクターから第1投写面に投写される画像の歪みを補正するための第1幾何補正を適用することと、
前記投写角度が前記第1範囲とは異なる第2範囲内の角度である場合に、前記プロジェクターから前記第1投写面と交差する第2投写面に投写される画像の歪みを補正するための第2幾何補正を適用することと、
前記投写角度が前記第1範囲から前記第1範囲と前記第2範囲との間の範囲である第3範囲内の角度に変化した場合に、前記第1幾何補正を適用することと、
前記投写角度が前記第2範囲から前記第3範囲内の角度に変化した場合に、前記第2幾何補正を適用することと、
を実行させる、
プログラム。
発明の詳細な説明
【技術分野】
【0001】
本開示は、補正方法、プロジェクターおよびプログラムに関する。
続きを表示(約 2,100 文字)
【背景技術】
【0002】
例えば、特許文献1には、画像データを光に変換して投写する投写部の投写方向を変更可能な投写装置が記載される。特許文献1に記載の投写装置は、投写部が光を投写する被投写媒体までの距離を測定し、測定された距離に基づき被投写媒体に対して垂直な第1方向を取得し、第1方向を用いて投写部の投写方向を補正した第2方向に応じた画像処理を画像データに対して施す。ここで、壁および天井のような互いに交差する2つの被投写媒体の交線への投写角の前後で、補正に用いる歪補正係数が切り替えられる。
【先行技術文献】
【特許文献】
【0003】
特開2014-150380号公報
【発明の概要】
【発明が解決しようとする課題】
【0004】
特許文献1に記載の投写装置では、互いに交差する2つの被投写媒体の交線付近に投写する場合、歪み補正係数の切り替えが頻繁に生じてしまうおそれがある。
【課題を解決するための手段】
【0005】
本開示の一態様に係る補正方法は、水平面とプロジェクターの投写方向とのなす角度である投写角度が第1範囲内の角度である場合に、前記プロジェクターから第1投写面に投写される画像の歪みを補正するための第1幾何補正を適用することと、前記投写角度が前記第1範囲とは異なる第2範囲内の角度である場合に、前記プロジェクターから前記第1投写面と交差する第2投写面に投写される画像の歪みを補正するための第2幾何補正を適用することと、前記投写角度が前記第1範囲から前記第1範囲と前記第2範囲との間の範囲である第3範囲内の角度に変化した場合に、前記第1幾何補正を適用することと、前記投写角度が前記第2範囲から前記第3範囲内の角度に変化した場合に、前記第2幾何補正を適用することと、を含む。
【0006】
本開示の一態様に係るプロジェクターは、光学装置と、水平面と前記光学装置の投写方向とのなす角度である投写角度が第1範囲内の角度である場合に、前記光学装置から第1投写面に投写される画像の歪みを補正するための第1幾何補正を適用することと、前記投写角度が前記第1範囲とは異なる第2範囲内の角度である場合に、前記光学装置から前記第1投写面と交差する第2投写面に投写される画像の歪みを補正するための第2幾何補正を適用することと、前記投写角度が前記第1範囲から前記第1範囲と前記第2範囲との間の範囲である第3範囲内の角度に変化した場合に、前記第1幾何補正を適用することと、前記投写角度が前記第2範囲から前記第3範囲内の角度に変化した場合に、前記第2幾何補正を適用することと、を実行する少なくとも1つのプロセッサーと、を含む。
【0007】
本開示の一態様に係るプログラムは、少なくとも1つのプロセッサーに、水平面とプロジェクターの投写方向とのなす角度である投写角度が第1範囲内の角度である場合に、前記プロジェクターから第1投写面に投写される画像の歪みを補正するための第1幾何補正を適用することと、前記投写角度が前記第1範囲とは異なる第2範囲内の角度である場合に、前記プロジェクターから前記第1投写面と交差する第2投写面に投写される画像の歪みを補正するための第2幾何補正を適用することと、前記投写角度が前記第1範囲から前記第1範囲と前記第2範囲との間の範囲である第3範囲内の角度に変化した場合に、前記第1幾何補正を適用することと、前記投写角度が前記第2範囲から前記第3範囲内の角度に変化した場合に、前記第2幾何補正を適用することと、を実行させる。
【図面の簡単な説明】
【0008】
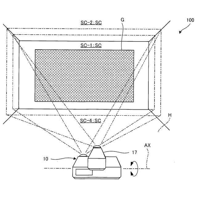
第1実施形態に係る補正方法に用いるシステムの概略を示す図である。
第1実施形態におけるプロジェクターのブロック図である。
第1実施形態に係る補正方法の流れを示すフローチャートである。
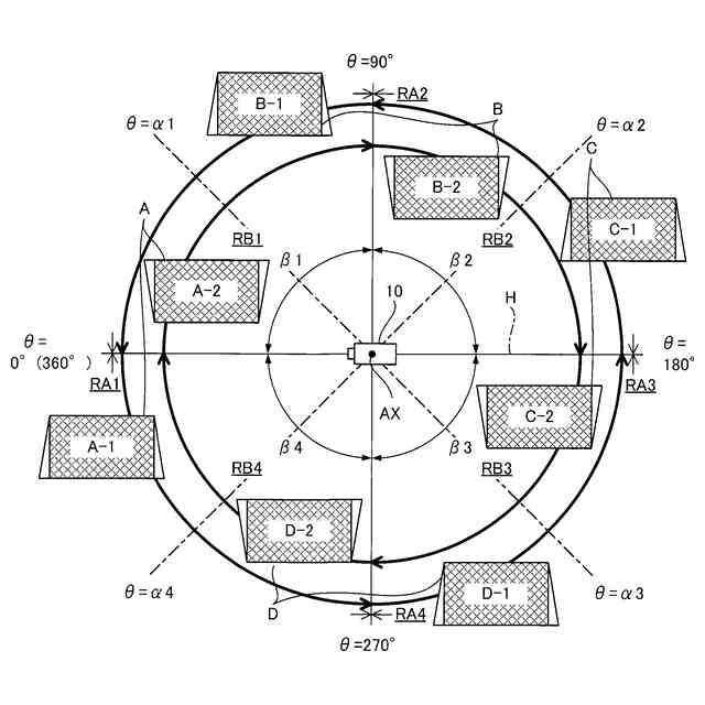
第1実施形態における幾何補正の切り替えの説明図である。
補正値の説明図である。
補正値の算出方法の一例を示すフローチャートである。
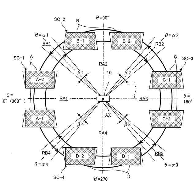
第2実施形態における幾何補正の切り替えの説明図である。
【発明を実施するための形態】
【0009】
以下、添付図面を参照しながら本開示に係る好適な実施形態を説明する。なお、図面において各部の寸法および縮尺は実際と適宜に異なり、理解を容易にするために模式的に示している部分もある。また、本開示の範囲は、以下の説明において特に本開示を限定する旨の記載がない限り、これらの形態に限られない。
1.第1実施形態
1-1.補正方法に用いるシステムの概要
図1は、第1実施形態に係る補正方法に用いるシステム100の概略を示す図である。図1に示すように、システム100は、プロジェクター10を備える。
【0010】
プロジェクター10は、図示しないコンピューター等の機器から出力される画像情報の示す画像Gを投写面SCに投写する表示装置である。
(【0011】以降は省略されています)
この特許をJ-PlatPat(特許庁公式サイト)で参照する
関連特許
セイコーエプソン株式会社
電子時計
3日前
セイコーエプソン株式会社
半導体装置
3日前
セイコーエプソン株式会社
文字板及び時計
3日前
セイコーエプソン株式会社
ダイオード回路
3日前
セイコーエプソン株式会社
シート製造装置
9日前
セイコーエプソン株式会社
補正方法、プロジェクターおよびプログラム
11日前
セイコーエプソン株式会社
振動デバイス
3日前
セイコーエプソン株式会社
画像読み取り装置
3日前
セイコーエプソン株式会社
電気光学装置および電子機器
9日前
個人
イヤーピース
16日前
個人
イヤーマフ
1か月前
個人
監視カメラシステム
1か月前
個人
スイッチシステム
24日前
キーコム株式会社
光伝送線路
1か月前
サクサ株式会社
中継装置
1か月前
WHISMR合同会社
収音装置
2か月前
サクサ株式会社
中継装置
1か月前
個人
スキャン式車載用撮像装置
1か月前
アイホン株式会社
電気機器
2か月前
キヤノン株式会社
撮像装置
2か月前
個人
ワイヤレスイヤホン対応耳掛け
2か月前
キヤノン電子株式会社
画像読取装置
1か月前
サクサ株式会社
無線システム
1か月前
株式会社リコー
画像形成装置
1か月前
株式会社リコー
画像形成装置
2か月前
株式会社リコー
画像形成装置
2か月前
ヤマハ株式会社
放音制御装置
24日前
キヤノン電子株式会社
画像読取装置
24日前
個人
映像表示装置、及びARグラス
25日前
サクサ株式会社
無線通信装置
1か月前
サクサ株式会社
無線通信装置
1か月前
キヤノン電子株式会社
画像読取装置
2か月前
キヤノン電子株式会社
画像読取装置
16日前
キヤノン株式会社
情報処理装置
3日前
キヤノン電子株式会社
シート搬送装置
16日前
キヤノン株式会社
撮像システム
2か月前
続きを見る
他の特許を見る