TOP
|
特許
|
意匠
|
商標
特許ウォッチ
Twitter
他の特許を見る
10個以上の画像は省略されています。
公開番号
2025170048
公報種別
公開特許公報(A)
公開日
2025-11-14
出願番号
2025145202,2021110662
出願日
2025-09-02,2021-07-02
発明の名称
電気光学装置および電子機器
出願人
セイコーエプソン株式会社
代理人
個人
,
個人
,
個人
主分類
G09F
9/30 20060101AFI20251107BHJP(教育;暗号方法;表示;広告;シール)
要約
【課題】高精細な電気光学装置を実現すること可能な電気光学装置および電子機器を提供する。
【解決手段】電気光学装置1は、1つの発光素子に対応する供給回路40aと、他の発光素子に対応し、平面視において、供給回路40aに対して第1の方向に設けられる供給回路40bとを備え、供給回路40a,40bのそれぞれには、対応する発光素子を駆動するトランジスター121が含まれる。また、電気光学装置1は、上記2つのトランジスター121に電気的に接続され、定電位である電位Velが供給され、第1の方向と交差する第2の方向に沿って設けられる導電層60を備える。
【選択図】図3
特許請求の範囲
【請求項1】
第1の発光素子および第2の発光素子と、
前記第1の発光素子に対応する第1の駆動トランジスターと、
前記第2の発光素子に対応し、前記第1の駆動トランジスターに対して平面視における第1の方向に設けられる第2の駆動トランジスターと、
前記第1の駆動トランジスターおよび前記第2の駆動トランジスターに電気的に接続され、定電位が供給され、前記第1の方向と交差する第2の方向に沿って設けられる、第1の導電層と、
を備える電気光学装置。
続きを表示(約 1,000 文字)
【請求項2】
平面視において、前記第1の導電層の少なくとも一部は、前記第1の駆動トランジスターの第1のゲート電極と前記第2の駆動トランジスターの第2のゲート電極との間に設けられる、
ことを特徴とする請求項1に記載の電気光学装置。
【請求項3】
平面視において、前記第1の導電層と前記第1のゲート電極との間の距離は、前記第1の導電層と前記第2のゲート電極との間の距離と等しい、
ことを特徴とする請求項2に記載の電気光学装置。
【請求項4】
前記第1の導電層は、前記第1のゲート電極および前記第2のゲート電極と同層に設けられる、
ことを特徴とする請求項2または3に記載の電気光学装置。
【請求項5】
平面視において、前記第1の駆動トランジスターと前記第2の駆動トランジスターとは、前記第1の導電層に重なって前記第2の方向に延在する仮想線に対して対称に配置される、
ことを特徴とする請求項1乃至4のうち何れか1項に記載の電気光学装置。
【請求項6】
前記第2の方向に沿って設けられ、前記第1の導電層と同電位が供給される、不純物領域を備え、
平面視において、前記不純物領域は、前記第1の導電層と重なる、
ことを特徴とする請求項1乃至5のうち何れか1項に記載の電気光学装置。
【請求項7】
前記第1の導電層と同電位が供給され、前記第1の導電層の前記不純物領域とは反対側に設けられる第2の導電層を備え、
平面視において、前記第2の導電層は、前記第1の導電層と重なる、
ことを特徴とする請求項6に記載の電気光学装置。
【請求項8】
前記第2の導電層は、第1のコンタクトホールを介して前記第1の導電層と電気的に接続され、かつ第2のコンタクトホールを介して前記不純物領域と電気的に接続される、
ことを特徴とする請求項7に記載の電気光学装置。
【請求項9】
前記不純物領域は、前記第1の駆動トランジスターのソース/ドレイン領域の一方、かつ前記第2の駆動トランジスターのソース/ドレイン領域の一方を含む、
ことを特徴とする請求項6乃至8のうち何れか1項に記載の電気光学装置。
【請求項10】
請求項1乃至9のうち何れか1項に記載の電気光学装置を有する電子機器。
発明の詳細な説明
【技術分野】
【0001】
本発明は、電気光学装置および電子機器に関する。
続きを表示(約 1,700 文字)
【背景技術】
【0002】
従来、特許文献1に示すように、発光部と該発光部を駆動する駆動回路とを有する画素がマトリクス状に配列された表示装置において、列方向における第m番目の画素と第(m+1)番目の画素とが、第m番目の画素と第(m+1)番目の画素との間で行方向に延びる境界線に対して線対称に設けられており、当該境界線上にシールド壁が形成されている表示装置が知られている。
【先行技術文献】
【特許文献】
【0003】
特開2014-102319号公報
【発明の概要】
【発明が解決しようとする課題】
【0004】
しかしながら、特許文献1に記載の表示装置では、制御線や電源配線など、駆動回路に電気的に接続される配線は、各列もしくは各行ごとに設けられており、より高精細な表示装置を提供することができないという課題がある。
【課題を解決するための手段】
【0005】
電気光学装置は、第1の発光素子および第2の発光素子と、前記第1の発光素子に対応する第1の駆動トランジスターと、前記第2の発光素子に対応し、前記第1の駆動トランジスターに対して平面視における第1の方向に設けられる第2の駆動トランジスターと、前記第1の駆動トランジスターおよび前記第2の駆動トランジスターに電気的に接続され、定電位が供給され、前記第1の方向と交差する第2の方向に沿って設けられる、第1の導電層と、を備える。
【0006】
電子機器は、上記の電気光学装置を有する。
【図面の簡単な説明】
【0007】
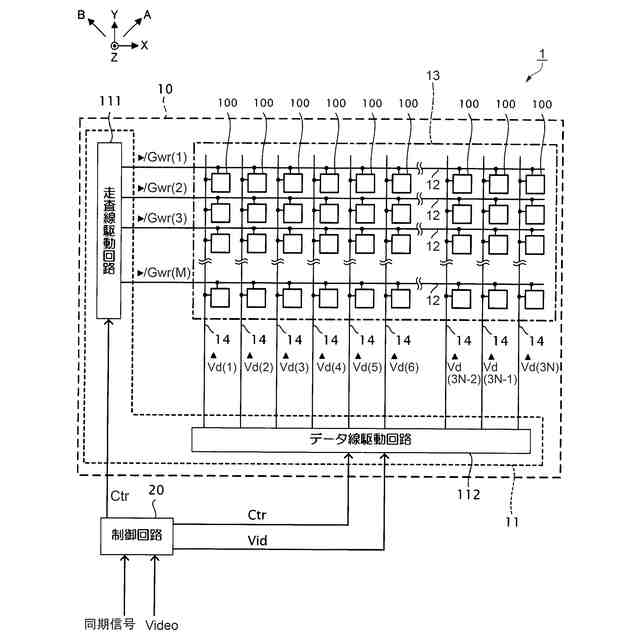
実施形態1に係る電気光学装置の構成を示すブロック図。
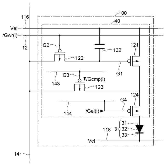
電気光学装置における画素回路の電気的な構成を示す等価回路図。
供給回路におけるゲート電極および不純物領域のレイアウトを示す平面図。
供給回路における第1の配線層のレイアウトを示す平面図。
図4におけるA-A線で切断した断面図。
図4におけるB-B線で切断した断面図。
図4におけるC-C線で切断した断面図。
図4におけるD-D線で切断した断面図。
実施形態2に係る供給回路におけるゲート電極および不純物領域のレイアウトを示す平面図。
実施形態2に係る供給回路における第1の配線層のレイアウトを示す平面図。
図10におけるA-A線で切断した断面図。
実施形態3に係る供給回路におけるゲート電極および不純物領域のレイアウトを示す平面図。
実施形態3に係る供給回路における第1の配線層のレイアウトを示す平面図。
図13におけるA-A線で切断した断面図。
電子機器の一例である虚像表示装置の一部を模式的に示す平面図。
電子機器の一例であるパーソナルコンピューターを示す斜視図。
【発明を実施するための形態】
【0008】
以下、本発明の実施形態について、図面を参照して説明する。以下に説明する実施の形態は、本発明の一例を説明するものである。本発明は以下の実施の形態に限定されない。
【0009】
なお、以下の各図においては、各層や各部材を認識可能な程度の大きさにするため、各層や各部材の尺度を実際とは異ならせている。以下の説明において、例えば基板に対して、「基板上に」との記載は、基板の上に接して配置される場合、基板の上に他の構造物を介して配置される場合、または基板の上に一部が接して配置され、一部が他の構造物を介して配置される場合のいずれかを表すものとする。
【0010】
1A.実施形態1
実施形態1に係る電気光学装置として有機EL(エレクトロルミネッセンス)装置を例示する。この有機EL装置は、例えば、後述する電子機器としてのヘッドマウントディスプレイ(HMD:Head Mounted Display)などに好適に用いられる。本実施形態に係る電気光学装置1の概要について、図1および図2を参照して説明する。
(【0011】以降は省略されています)
この特許をJ-PlatPat(特許庁公式サイト)で参照する
関連特許
セイコーエプソン株式会社
記録装置
11日前
セイコーエプソン株式会社
電子時計
3日前
セイコーエプソン株式会社
電子時計
16日前
セイコーエプソン株式会社
記録装置
18日前
セイコーエプソン株式会社
半導体装置
3日前
セイコーエプソン株式会社
情報処理装置
1か月前
セイコーエプソン株式会社
振動デバイス
18日前
セイコーエプソン株式会社
シート製造装置
18日前
セイコーエプソン株式会社
三次元造形装置
17日前
セイコーエプソン株式会社
プロジェクター
16日前
セイコーエプソン株式会社
シート製造装置
18日前
セイコーエプソン株式会社
シート製造装置
18日前
セイコーエプソン株式会社
プロジェクター
16日前
セイコーエプソン株式会社
プロジェクター
24日前
セイコーエプソン株式会社
シート製造装置
9日前
セイコーエプソン株式会社
シート製造装置
1か月前
セイコーエプソン株式会社
ダイオード回路
3日前
セイコーエプソン株式会社
文字板及び時計
3日前
セイコーエプソン株式会社
トルク伝達機構
16日前
セイコーエプソン株式会社
表示装置の制御方法
16日前
セイコーエプソン株式会社
慣性センサーモジュール
18日前
セイコーエプソン株式会社
三次元造形物の製造方法
16日前
セイコーエプソン株式会社
乾燥装置及び印刷システム
16日前
セイコーエプソン株式会社
媒体搬送装置及び記録装置
16日前
セイコーエプソン株式会社
媒体搬送装置及び記録装置
11日前
セイコーエプソン株式会社
液体吐出ヘッドの製造方法
25日前
セイコーエプソン株式会社
振動素子、振動子、及び発振器
25日前
セイコーエプソン株式会社
液体噴射ヘッド及び液体噴射装置
16日前
セイコーエプソン株式会社
液体噴射ヘッド及び液体噴射装置
16日前
セイコーエプソン株式会社
捺染用インクジェットインク組成物
19日前
セイコーエプソン株式会社
物理量センサー及び物理量検出装置
27日前
セイコーエプソン株式会社
射出成形用材料とその樹脂の選定方法
26日前
セイコーエプソン株式会社
媒体搬送装置、画像読取装置、印刷装置
19日前
セイコーエプソン株式会社
液体吐出装置、液体吐出装置の制御方法
19日前
セイコーエプソン株式会社
シート製造装置、およびシート製造方法
25日前
セイコーエプソン株式会社
管理システム、情報処理装置及び管理方法
24日前
続きを見る
他の特許を見る