TOP
|
特許
|
意匠
|
商標
特許ウォッチ
Twitter
他の特許を見る
公開番号
2025168770
公報種別
公開特許公報(A)
公開日
2025-11-12
出願番号
2024073507
出願日
2024-04-30
発明の名称
補正方法、情報処理装置およびプログラム
出願人
セイコーエプソン株式会社
代理人
個人
,
個人
,
個人
主分類
H04N
5/74 20060101AFI20251105BHJP(電気通信技術)
要約
【課題】画像の補正によってユーザーが感じる違和感を緩和する。
【解決手段】補正方法は、画像を投写面に投写するプロジェクターと投写面との相対的な位置関係を推定するためのセンサーの第1時刻における検出結果に基づいて、第1時刻における画像の形状を補正するための第1計算値を取得することと、センサーの第1時刻とは異なる第2時刻における検出結果に基づいて、第2時刻における画像の形状を補正するための第2計算値を取得することと、第1計算値および第2計算値を含む複数の計算値の平均値、中央値または最頻値のいずれかに基づいて、幾何補正の補正値を決定することと、補正値を用いて、画像を補正することと、を含む。
【選択図】図3
特許請求の範囲
【請求項1】
画像を投写面に投写するプロジェクターと前記投写面との相対的な位置関係を推定するためのセンサーの第1時刻における検出結果に基づいて、前記第1時刻における前記画像の形状を補正するための第1計算値を取得することと、
前記センサーの前記第1時刻とは異なる第2時刻における検出結果に基づいて、前記第2時刻における前記画像の形状を補正するための第2計算値を取得することと、
前記第1計算値および前記第2計算値を含む複数の計算値の平均値、中央値または最頻値のいずれかに基づいて、幾何補正の補正値を決定することと、
前記補正値を用いて、前記画像を補正することと、
を含む、補正方法。
続きを表示(約 1,100 文字)
【請求項2】
前記画像を補正することを前記センサーのサンプリングレートよりも高い頻度で実行する、
請求項1に記載の補正方法。
【請求項3】
前記頻度は、前記画像のフレームレート以下の第1頻度である、
請求項2に記載の補正方法。
【請求項4】
前記センサーは、飛行時間方式の距離センサーを含む、
請求項1から3のいずれか1項に記載の補正方法。
【請求項5】
前記画像の形状は、矩形であり、
前記第1計算値は、前記第1時刻における前記画像の補正後の4つの頂点の座標値であり、
前記第2計算値は、前記第2時刻における前記画像の補正後の4つの頂点の座標値である、
請求項1に記載の補正方法。
【請求項6】
前記位置関係は、前記投写面の設置角度と前記投写面の法線ベクトルと前記プロジェクターの姿勢とのうちの少なくとも1つに関する変数で表され、
前記第1計算値は、前記第1時刻における前記変数であり、
前記第2計算値は、前記第2時刻における前記変数である、
請求項1に記載の補正方法。
【請求項7】
画像を投写面に投写するプロジェクターと前記投写面との相対的な位置関係を推定するためのセンサーの第1時刻における検出結果に基づいて、前記第1時刻における前記画像の形状を補正するための第1計算値を取得することと、
前記センサーの前記第1時刻とは異なる第2時刻における検出結果に基づいて、前記第2時刻における前記画像の形状を補正するための第2計算値を取得することと、
前記第1計算値および前記第2計算値を含む複数の計算値の平均値、中央値または最頻値のいずれかに基づいて、幾何補正の補正値を決定することと、
前記補正値を用いて、前記画像を補正することと、
を実行する少なくとも1つのプロセッサーを含む、情報処理装置。
【請求項8】
画像を投写面に投写するプロジェクターと前記投写面との相対的な位置関係を推定するためのセンサーの第1時刻における検出結果に基づいて、前記第1時刻における前記画像の形状を補正するための第1計算値を取得することと、
前記センサーの前記第1時刻とは異なる第2時刻における検出結果に基づいて、前記第2時刻における前記画像の形状を補正するための第2計算値を取得することと、
前記第1計算値および前記第2計算値を含む複数の計算値の平均値、中央値または最頻値のいずれかに基づいて、幾何補正の補正値を決定することと、
前記補正値を用いて、前記画像を補正することと、
をコンピューターに実行させる、プログラム。
発明の詳細な説明
【技術分野】
【0001】
本開示は、補正方法、情報処理装置およびプログラムに関する。
続きを表示(約 2,200 文字)
【背景技術】
【0002】
例えば、特許文献1には、重力加速度センサーにより検出された上下方向の傾斜角に基づき、スクリーンに表示された映像の台形歪み補正を自動的に行うプロジェクターが記載される。特許文献1に記載のプロジェクターは、サンプリング時間の間に重力加速度センサーにより検出された複数の傾斜角からサンプリング時間における代表角を算出し、代表角とその直前のサンプリング時間の代表角との差角を算出し、差角が制限角以上である場合にのみ、映像の台形歪み補正を行う。
【先行技術文献】
【特許文献】
【0003】
特開2013-98836号公報
【発明の概要】
【発明が解決しようとする課題】
【0004】
特許文献1に記載のプロジェクターでは、差角が制限角未満の場合には台形歪み補正が行われない。制限角を設けなければ、差角が生じる毎に台形歪み補正を行うことが可能である。しかし、そうすると、重力加速度センサーの検出結果の誤差等に起因して、台形歪み補正の結果が不連続に変化してしまい、その結果、ユーザーに違和感を生じさせる場合がある。
【課題を解決するための手段】
【0005】
本開示の一態様に係る補正方法は、画像を投写面に投写するプロジェクターと前記投写面との相対的な位置関係を推定するためのセンサーの第1時刻における検出結果に基づいて、前記第1時刻における前記画像の形状を補正するための第1計算値を取得することと、前記センサーの前記第1時刻とは異なる第2時刻における検出結果に基づいて、前記第2時刻における前記画像の形状を補正するための第2計算値を取得することと、前記第1計算値および前記第2計算値を含む複数の計算値の平均値、中央値または最頻値のいずれかに基づいて、幾何補正の補正値を決定することと、前記補正値を用いて、前記画像を補正することと、を含む。
【0006】
本開示の一態様に係る情報処理装置は、画像を投写面に投写するプロジェクターと前記投写面との相対的な位置関係を推定するためのセンサーの第1時刻における検出結果に基づいて、前記第1時刻における前記画像の形状を補正するための第1計算値を取得することと、前記センサーの前記第1時刻とは異なる第2時刻における検出結果に基づいて、前記第2時刻における前記画像の形状を補正するための第2計算値を取得することと、前記第1計算値および前記第2計算値を含む複数の計算値の平均値、中央値または最頻値のいずれかに基づいて、幾何補正の補正値を決定することと、前記補正値を用いて、前記画像を補正することと、を実行する少なくとも1つのプロセッサーを含む。
【0007】
本開示の一態様に係るプログラムは、画像を投写面に投写するプロジェクターと前記投写面との相対的な位置関係を推定するためのセンサーの第1時刻における検出結果に基づいて、前記第1時刻における前記画像の形状を補正するための第1計算値を取得することと、前記センサーの前記第1時刻とは異なる第2時刻における検出結果に基づいて、前記第2時刻における前記画像の形状を補正するための第2計算値を取得することと、前記第1計算値および前記第2計算値を含む複数の計算値の平均値、中央値または最頻値のいずれかに基づいて、幾何補正の補正値を決定することと、前記補正値を用いて、前記画像を補正することと、をコンピューターに実行させる。
【図面の簡単な説明】
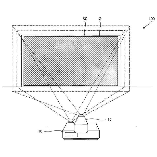
【0008】
第1実施形態に係る補正方法に用いるシステムの概略を示す図である。
第1実施形態におけるプロジェクターのブロック図である。
第1実施形態に係る補正方法の流れを示すフローチャートである。
補正値の説明図である。
計算値および補正値の説明図である。
第2実施形態におけるプロジェクターのブロック図である。
第2実施形態に係る補正方法の流れを示すフローチャートである。
【発明を実施するための形態】
【0009】
以下、添付図面を参照しながら本開示に係る好適な実施形態を説明する。なお、図面において各部の寸法および縮尺は実際と適宜に異なり、理解を容易にするために模式的に示している部分もある。また、本開示の範囲は、以下の説明において特に本開示を限定する旨の記載がない限り、これらの形態に限られない。
1.第1実施形態
1-1.補正方法に用いるシステムの概要
図1は、第1実施形態に係る補正方法に用いるシステム100の概略を示す図である。図1に示すように、システム100は、プロジェクター10を備える。
【0010】
プロジェクター10は、図示しないコンピューター等の機器から出力される画像情報の示す画像Gを投写面SCに投写する表示装置である。投写面SCは、スクリーン等の物体の表面であり、概略的には、平面である。なお、投写面SCは、厳密に平面でなくともよいが、画像Gを幾何補正する際の処理を簡単化する観点から、平面とみなせる程度の面であることが好ましい。
(【0011】以降は省略されています)
この特許をJ-PlatPat(特許庁公式サイト)で参照する
関連特許
セイコーエプソン株式会社
電子時計
3日前
セイコーエプソン株式会社
半導体装置
3日前
セイコーエプソン株式会社
文字板及び時計
3日前
セイコーエプソン株式会社
ダイオード回路
3日前
セイコーエプソン株式会社
シート製造装置
9日前
セイコーエプソン株式会社
振動デバイス
3日前
セイコーエプソン株式会社
画像読み取り装置
3日前
セイコーエプソン株式会社
電気光学装置および電子機器
9日前
個人
イヤーピース
16日前
個人
イヤーマフ
1か月前
個人
監視カメラシステム
1か月前
キーコム株式会社
光伝送線路
1か月前
個人
スイッチシステム
24日前
サクサ株式会社
中継装置
1か月前
サクサ株式会社
中継装置
1か月前
WHISMR合同会社
収音装置
2か月前
個人
スキャン式車載用撮像装置
1か月前
キヤノン株式会社
撮像装置
2か月前
アイホン株式会社
電気機器
2か月前
サクサ株式会社
無線通信装置
1か月前
サクサ株式会社
無線システム
1か月前
キヤノン電子株式会社
画像読取装置
2か月前
キヤノン電子株式会社
画像読取装置
24日前
株式会社リコー
画像形成装置
2か月前
個人
映像表示装置、及びARグラス
25日前
サクサ株式会社
無線通信装置
1か月前
ヤマハ株式会社
放音制御装置
24日前
キヤノン電子株式会社
画像読取装置
16日前
個人
ワイヤレスイヤホン対応耳掛け
2か月前
株式会社リコー
画像形成装置
1か月前
株式会社リコー
画像形成装置
2か月前
株式会社リコー
画像形成装置
3か月前
キヤノン電子株式会社
画像読取装置
1か月前
個人
発信機及び発信方法
1か月前
キヤノン株式会社
画像処理装置
19日前
キヤノン株式会社
情報処理装置
3日前
続きを見る
他の特許を見る