TOP
|
特許
|
意匠
|
商標
特許ウォッチ
Twitter
他の特許を見る
10個以上の画像は省略されています。
公開番号
2025167592
公報種別
公開特許公報(A)
公開日
2025-11-07
出願番号
2024072374
出願日
2024-04-26
発明の名称
流量調節装置、三次元造形装置および射出成形装置
出願人
セイコーエプソン株式会社
代理人
弁理士法人明成国際特許事務所
主分類
B29C
45/23 20060101AFI20251030BHJP(プラスチックの加工;可塑状態の物質の加工一般)
要約
【課題】スリーブ内での弁部の回転を阻害されにくくする技術を提供する。
【解決手段】流量調節装置は、金属粒子を含む材料の少なくとも一部が可塑化された可塑化材料が供給される第1開口、及び、可塑化材料が排出される第2開口が形成された供給流路と、供給流路に交差する交差孔と、を有する本体部と、交差孔の内部に配置され、供給流路と重なる位置に貫通孔を有する、筒状のスリーブと、スリーブの内部に配置された軸状の弁部と、を備え、弁部は、供給流路と重なる位置に凹部を有し、交差孔の内部にて回転して凹部の位置を変更することによって、供給流路の流路断面積を変更して第2開口から排出される可塑化材料の流量を調節し、弁部と対向するスリーブの表面と、スリーブと対向する弁部の表面とは、少なくとも一部において硬度が異なる。
【選択図】図6
特許請求の範囲
【請求項1】
金属粒子を含む材料の少なくとも一部が可塑化された可塑化材料が供給される第1開口、及び、前記可塑化材料が排出される第2開口が形成された供給流路と、前記供給流路に交差する交差孔と、を有する本体部と、
前記交差孔の内部に配置され、前記供給流路と重なる位置に貫通孔を有する、筒状のスリーブと、
前記スリーブの内部に配置された軸状の弁部と、を備え、
前記弁部は、前記供給流路と重なる位置に凹部を有し、前記交差孔の内部にて回転して前記凹部の位置を変更することによって、前記供給流路の流路断面積を変更して前記第2開口から排出される前記可塑化材料の流量を調節し、
前記弁部と対向する前記スリーブの表面と、前記スリーブと対向する前記弁部の表面とは、少なくとも一部において硬度が異なる、
流量調節装置。
続きを表示(約 1,700 文字)
【請求項2】
請求項1に記載の流量調節装置であって、
前記交差孔内に配置された蓋部と、
シール部と、を備え、
前記弁部は、先端と後端とを有し、前記先端と前記凹部との距離は、前記後端と前記凹部との距離よりも短く、
前記先端と前記蓋部とによって、前記可塑化材料の一部を貯留する貯留室が前記交差孔内に画定され、
前記蓋部のうち前記本体部に対向する面と、前記本体部のうち前記蓋部に対向する面の少なくともいずれか一方に、シール溝が形成されており、
前記シール部は前記シール溝内に配置される、
流量調節装置。
【請求項3】
請求項1に記載の流量調節装置であって、
前記交差孔内に配置された筒状の支持部と、
シール部と、を備え、
前記弁部は、
先端と後端とを有し、前記先端と前記凹部との距離は、前記後端と前記凹部との距離よりも短く、
前記スリーブ内において、前記弁部の軸線と交差する方向に突出した部分を有さず、
前記先端から前記後端へ向かう方向を第1方向とした場合に、前記支持部は、前記スリーブに対して前記第1方向に隣接して配置され、
前記弁部の一部は、前記支持部の内部に配置され、
前記支持部のうち前記弁部に対向する面にシール溝が形成されており、
前記シール部は前記シール溝内に配置される、
流量調節装置。
【請求項4】
請求項1に記載の流量調節装置であって、
前記可塑化材料を生成する可塑化部を備え、
前記可塑化部は、
溝が形成された溝形成面を有し、回転軸を中心に回転するスクリューと、
前記溝形成面に対向する対向面を有し、前記可塑化材料を前記供給流路へ供給する連通孔が形成されたバレルと、
前記バレル内に配置され、前記溝に供給された前記材料を加熱する第1加熱部及び第2加熱部と、
前記第2加熱部よりも前記第1加熱部に近い領域の温度を測定する第1センサーと、
前記第1加熱部よりも前記第2加熱部に近い領域の温度を測定する第2センサーと、を備え、
前記回転軸に沿った方向から見て、前記第2加熱部は、前記第1加熱部と前記連通孔との間に配置され、
前記バレルには、前記第1加熱部を収容する第1孔と、前記第2加熱部を収容する第2孔と、が設けられており、
前記第1孔と前記第2孔との径は異なり、
前記第1加熱部と前記第2加熱部との径は異なる、
流量調節装置。
【請求項5】
請求項4に記載の流量調節装置であって、
前記第1加熱部の径は、前記第2加熱部の径よりも大きく、
前記第1孔の径は、前記第2孔の径よりも大きい、
流量調節装置。
【請求項6】
請求項4に記載の流量調節装置であって、
前記第1加熱部の温度を制御する制御部を有し、
前記第1孔は、前記連通孔を挟んで設けられた一対の孔であり、
前記第1加熱部は、一対のヒーターであり、
前記一対のヒーターは、互いに電気的に直列に前記制御部に接続されている、
流量調節装置。
【請求項7】
請求項1に記載の流量調節装置と、
前記材料の少なくとも一部を可塑化して前記可塑化材料を生成する可塑化部と、
前記可塑化部から供給された前記可塑化材料をステージに向かって吐出するノズルと、を備え、
前記流量調節装置は、前記可塑化部から前記ノズルに供給される前記可塑化材料の流量を調節する、
三次元造形装置。
【請求項8】
請求項1に記載の流量調節装置と、
前記材料の少なくとも一部を可塑化して前記可塑化材料を生成する可塑化部と、
前記可塑化部から供給された前記可塑化材料を成形型に射出するノズルと、を備え、
前記流量調節装置は、前記可塑化部から前記ノズルに供給される前記可塑化材料の流量を調節する、
射出成形装置。
発明の詳細な説明
【技術分野】
【0001】
本開示は、流量調節装置、三次元造形装置および射出成形装置に関する。
続きを表示(約 1,900 文字)
【背景技術】
【0002】
特許文献1には、溶融材料が流れる供給流路に交差する交差穴の内部で、供給流路と交差する位置に凹部を有する弁部が回転することで、供給流路を通過する溶融材料の流量を調節する、流量調節装置が開示されている。
【先行技術文献】
【特許文献】
【0003】
特開2021-754号公報
【発明の概要】
【発明が解決しようとする課題】
【0004】
金属粒子を含む可塑化材料が供給流路を通過する際に、弁部と、弁部を収容しているスリーブとの間に金属粒子が入り込むことで、スリーブ内での弁部の回転が阻害される場合があった。
【課題を解決するための手段】
【0005】
本開示の第1の形態によれば、流量調節装置が提供される。この流量調節装置は、金属粒子を含む材料の少なくとも一部が可塑化された可塑化材料が供給される第1開口、及び、前記可塑化材料が排出される第2開口が形成された供給流路と、前記供給流路に交差する交差孔と、を有する本体部と、前記交差孔の内部に配置され、前記供給流路と重なる位置に貫通孔を有する、筒状のスリーブと、前記スリーブの内部に配置された軸状の弁部と、を備え、前記弁部は、前記供給流路と重なる位置に凹部を有し、前記交差孔の内部にて回転して前記凹部の位置を変更することによって、前記供給流路の流路断面積を変更して前記第2開口から排出される前記可塑化材料の流量を調節し、前記弁部と対向する前記スリーブの表面と、前記スリーブと対向する前記弁部の表面とは、少なくとも一部において硬度が異なる。
【0006】
本開示の第2の形態によれば、三次元造形装置が提供される。この三次元造形装置は、上記第1の形態の流量調節装置と、前記材料の少なくとも一部を可塑化して前記可塑化材料を生成する可塑化部と、前記可塑化部から供給された前記可塑化材料をステージに向かって吐出するノズルと、を備え、前記流量調節装置は、前記可塑化部から前記ノズルに供給される前記可塑化材料の流量を調節する。
【0007】
本開示の第3の形態によれば、射出成形装置が提供される。この射出成形装置は、上記第1の形態の流量調節装置と、前記材料の少なくとも一部を可塑化して前記可塑化材料を生成する可塑化部と、前記可塑化部から供給された前記可塑化材料を成形型に射出するノズルと、を備え、前記流量調節装置は、前記可塑化部から前記ノズルに供給される前記可塑化材料の流量を調節する。
【図面の簡単な説明】
【0008】
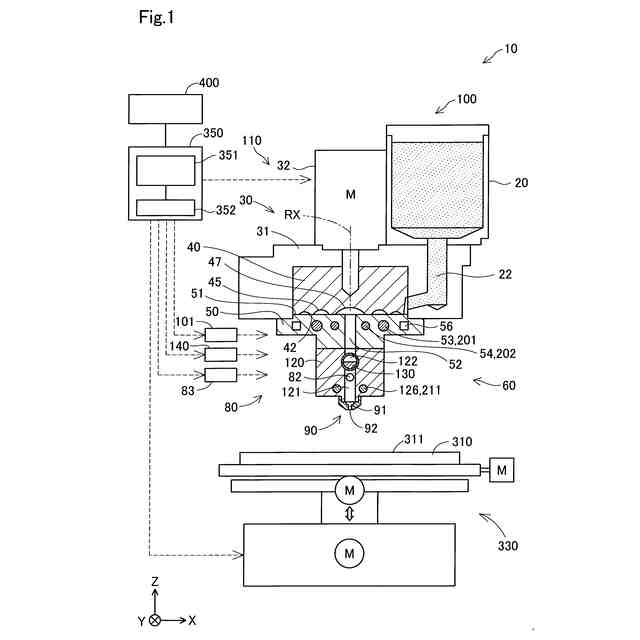
第1実施形態における三次元造形システムの概略構成を示す説明図。
スクリューの概略構成を示す斜視図。
バレルの概略平面図。
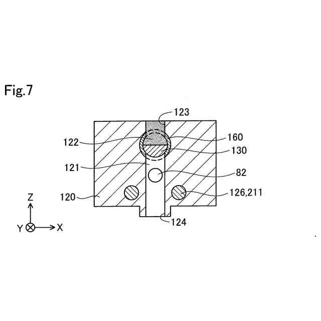
弁部の斜視図。
弁部の斜視図。
流量調節部と吸引部の構成を示す断面図。
流量調節部の弁部の動作を示す説明図。
流量調節部の弁部の動作を示す説明図。
バレルおよび流量調節部の側面図。
ヒーターユニットの斜視図。
造形部にヒーターユニットが接続された状態を示す図。
第1加熱部の電気的な構成を説明するブロック図。
第1加熱部の斜視図。
第2実施形態における射出成形装置の概略構成を示す説明図。
【発明を実施するための形態】
【0009】
A.第1実施形態:
図1は、第1実施形態における三次元造形システム10の概略構成を示す説明図である。図1には、互いに直交するX,Y,Z方向を表す矢印が示されている。X方向およびY方向は、水平面に平行な方向である。Z方向は、鉛直方向に平行な方向である。図1におけるX,Y,Z方向と、他の図におけるX,Y,Z方向とは、同じ方向を指し示している。向きを特定する場合には、矢印の指し示す方向である正の方向を「+」、矢印の指し示す方向とは反対の方向である負の方向を「-」として、方向表記に正負の符号を併用する。
【0010】
三次元造形システム10は、三次元造形装置100と情報処理装置400とを備えている。本実施形態の三次元造形装置100は、材料押出方式によって造形物を造形する装置である。三次元造形装置100は、三次元造形装置100の各部を制御するための制御部350を備えている。制御部350と情報処理装置400とは、相互に通信可能に接続されている。
(【0011】以降は省略されています)
この特許をJ-PlatPat(特許庁公式サイト)で参照する
関連特許
セイコーエプソン株式会社
記録装置
3日前
セイコーエプソン株式会社
電子時計
1日前
セイコーエプソン株式会社
振動デバイス
3日前
セイコーエプソン株式会社
三次元造形装置
2日前
セイコーエプソン株式会社
シート製造装置
3日前
セイコーエプソン株式会社
シート製造装置
3日前
セイコーエプソン株式会社
シート製造装置
3日前
セイコーエプソン株式会社
プロジェクター
1日前
セイコーエプソン株式会社
プロジェクター
9日前
セイコーエプソン株式会社
プロジェクター
1日前
セイコーエプソン株式会社
トルク伝達機構
1日前
セイコーエプソン株式会社
表示装置の制御方法
1日前
セイコーエプソン株式会社
慣性センサーモジュール
3日前
セイコーエプソン株式会社
三次元造形物の製造方法
1日前
セイコーエプソン株式会社
媒体搬送装置及び記録装置
1日前
セイコーエプソン株式会社
液体吐出ヘッドの製造方法
10日前
セイコーエプソン株式会社
乾燥装置及び印刷システム
1日前
セイコーエプソン株式会社
振動素子、振動子、及び発振器
10日前
セイコーエプソン株式会社
液体噴射ヘッド及び液体噴射装置
1日前
セイコーエプソン株式会社
液体噴射ヘッド及び液体噴射装置
1日前
セイコーエプソン株式会社
捺染用インクジェットインク組成物
4日前
セイコーエプソン株式会社
射出成形用材料とその樹脂の選定方法
11日前
セイコーエプソン株式会社
媒体搬送装置、画像読取装置、印刷装置
4日前
セイコーエプソン株式会社
液体吐出装置、液体吐出装置の制御方法
4日前
セイコーエプソン株式会社
シート製造装置、およびシート製造方法
10日前
セイコーエプソン株式会社
管理システム、情報処理装置及び管理方法
9日前
セイコーエプソン株式会社
投写方法、プロジェクター及びプログラム
1日前
セイコーエプソン株式会社
バンド、時計、およびバンド長さ調整機構
1日前
セイコーエプソン株式会社
記録装置、積載装置、及び記録装置の制御方法
2日前
セイコーエプソン株式会社
投射位置の判定方法および投射位置の判定装置
1日前
セイコーエプソン株式会社
液体吐出システム、液体吐出システムの制御方法
3日前
セイコーエプソン株式会社
テープ印刷装置およびテープ印刷装置の制御方法
11日前
セイコーエプソン株式会社
流量調節装置、三次元造形装置および射出成形装置
1日前
セイコーエプソン株式会社
画像処理装置、画像ファイル生産方法、及びプログラム
4日前
セイコーエプソン株式会社
表示制御方法、表示制御プログラム、及びプロジェクター
1日前
セイコーエプソン株式会社
温度特性補正方法、温度特性補正装置およびセンサーデバイス
4日前
続きを見る
他の特許を見る