TOP
|
特許
|
意匠
|
商標
特許ウォッチ
Twitter
他の特許を見る
10個以上の画像は省略されています。
公開番号
2025168766
公報種別
公開特許公報(A)
公開日
2025-11-12
出願番号
2024073503
出願日
2024-04-30
発明の名称
波長変換装置、波長変換装置の製造方法、光源装置およびプロジェクター
出願人
セイコーエプソン株式会社
代理人
個人
,
個人
,
個人
主分類
G03B
21/14 20060101AFI20251105BHJP(写真;映画;光波以外の波を使用する類似技術;電子写真;ホログラフイ)
要約
【課題】波長変換層の接合強度を低コストで向上できる、波長変換装置、波長変換装置の製造方法、光源装置およびプロジェクターを提供する。
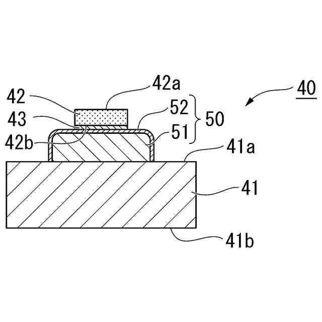
【解決手段】本発明の波長変換装置は、入射する第1光を第1光とは異なる波長帯を有する第2光に変換する波長変換層と、波長変換層と熱伝導可能に接続される基板と、波長変換層と基板とを接合する接合層と、を備え、接合層は、第1金属層と第2金属層とを有し、第1金属層は、基板と波長変換層との間において、第2金属層に対して基板側に配置され、第2金属層は、第1金属層と波長変換層との間に配置され、基板は、表面にめっき層を有さず、第1金属層と接合されている。
【選択図】図3
特許請求の範囲
【請求項1】
入射する第1光を前記第1光とは異なる波長帯を有する第2光に変換する波長変換層と、
前記波長変換層と熱伝導可能に接続される基板と、
前記波長変換層と前記基板とを接合する接合層と、を備え、
前記接合層は、第1金属層と第2金属層とを有し、
前記第1金属層は、前記基板と前記波長変換層との間において、前記第2金属層に対して前記基板側に配置され、
前記第2金属層は、前記第1金属層と前記波長変換層との間に配置され、
前記基板は、表面にめっき層を有さず、前記第1金属層と接合されている、
波長変換装置。
続きを表示(約 1,100 文字)
【請求項2】
前記第1金属層は、前記第2金属層に覆われている、
請求項1に記載の波長変換装置。
【請求項3】
前記基板の表面は凹凸部を有し、
前記第1金属層は、前記基板の前記凹凸部と接合される、
請求項1または請求項2に記載の波長変換装置。
【請求項4】
前記第1金属層の熱伝導率は、前記第2金属層の熱伝導率より大きく、
前記第2金属層の前記波長変換層に対する接着力は、前記第1金属層の前記波長変換層に対する接着力より大きい、
請求項1または請求項2に記載の波長変換装置。
【請求項5】
波長変換層と、前記波長変換層と熱伝導可能に接続される基板と、前記波長変換層と前記基板とを接合する接合層と、を有する、波長変換装置の製造方法であって、
前記基板に第1金属材料を配置する第1工程と、
前記基板を高周波加熱することで前記第1金属材料を焼結して第1金属層を前記基板に形成する第2工程と、
前記第1金属層に第2金属材料を配置する第3工程と、
前記第2金属材料に前記波長変換層を配置する第4工程と、
前記第2金属材料を乾燥させて形成した第2金属層と前記第1金属層とを接合して前記接合層を生成する第5工程と、を備える、
波長変換装置の製造方法。
【請求項6】
前記第1工程の前工程として、前記基板を構成する基材の表面を還元する準備工程をさらに備える、
請求項5に記載の波長変換装置の製造方法。
【請求項7】
前記第1金属材料は、少なくともAgからなる金属微粒子を含み、
前記第2金属材料は、少なくともAgからなる金属微粒子を含む、
請求項5に記載の波長変換装置の製造方法。
【請求項8】
前記第1金属材料の前記金属微粒子の含有量は、前記第2金属材料の前記金属微粒子の含有量よりも多い、
請求項7に記載の波長変換装置の製造方法。
【請求項9】
前記第2工程は、前記基板を50℃~100℃で加熱する第1加熱ステップと、前記基板を200℃~300℃で加熱する第2加熱ステップと、を含む、
請求項5から請求項8のうちのいずれか一項に記載の波長変換装置の製造方法。
【請求項10】
請求項1または請求項2に記載の波長変換装置と、
前記波長変換装置に前記第1光を射出する光源と、を備える、
光源装置。
(【請求項11】以降は省略されています)
発明の詳細な説明
【技術分野】
【0001】
本発明は、波長変換装置、波長変換装置の製造方法、光源装置およびプロジェクターに関する。
続きを表示(約 1,700 文字)
【背景技術】
【0002】
近年、レーザー光を射出する光源と、レーザー光の入射によって蛍光を発光する波長変換素子とを備え、照明光として蛍光を生成する照明装置がある。この照明装置において、波長変換素子は、蛍光体層と、蛍光体層を支持する基板と、蛍光体層および基板を接合する接合層と、を備えている。基板の材料としては、例えば、放熱性に優れた銅が用いられ、接合層としてはナノ銀ペーストを用いる場合がある。
【0003】
下記特許文献1には、銅基板上に半導体部品をナノ銀ペーストで接合する接合技術が開示されている。このような接合技術では、例えば、窒素雰囲気で焼結することで銅基板に酸化膜が形成されることを抑制する、あるいは、銅基板にニッケル金めっき処理を施すことで、接合強度を向上できることが知られている。
【先行技術文献】
【特許文献】
【0004】
特開2021-077780号公報
【発明の概要】
【発明が解決しようとする課題】
【0005】
しかしながら、ニッケル金めっき処理はコスト高となるという課題があった。また、窒素雰囲気下で焼結工程を行う場合でも完全な無酸素環境を実現することは難しく、銅基板の表面が酸化されることで接合強度の低下を招く恐れがあった。
【課題を解決するための手段】
【0006】
上記の課題を解決するために、本発明の一つの態様の波長変換装置は、入射する第1光を前記第1光とは異なる波長帯を有する第2光に変換する波長変換層と、前記波長変換層と熱伝導可能に接続される基板と、前記波長変換層と前記基板とを接合する接合層と、を備え、前記接合層は、第1金属層と第2金属層とを有し、前記第1金属層は、前記基板と前記波長変換層との間において、前記第2金属層に対して前記基板側に配置され、前記第2金属層は、前記第1金属層と前記波長変換層との間に配置され、前記基板は、表面にめっき層を有さず、前記第1金属層と接合されている。
【0007】
また、本発明の一つの態様の波長変換装置の製造方法は、波長変換層と、前記波長変換層と熱伝導可能に接続される基板と、前記波長変換層と前記基板とを接合する接合層と、を有する、波長変換装置の製造方法であって、前記基板に第1金属材料を配置する第1工程と、前記基板を高周波加熱することで前記第1金属材料を焼結して第1金属層を前記基板に形成する第2工程と、前記第1金属層に第2金属材料を配置する第3工程と、前記第2金属材料に前記波長変換層を配置する第4工程と、前記第2金属材料を乾燥させて形成した第2金属層と前記第1金属層とを接合して前記接合層を生成する第5工程と、を備える。
【0008】
また、本発明の一つの態様の光源装置は、上記態様の波長変換装置と、前記波長変換装置に前記第1光を射出する光源と、を備える。
【0009】
また、本発明の一つの態様のプロジェクターは、上記態様の光源装置と、前記光源装置から射出された光を画像情報に応じて変調する光変調装置と、前記光変調装置により変調された光を投射する投射光学装置と、を備える。
【図面の簡単な説明】
【0010】
実施形態に係るプロジェクターの概略構成を示す図である。
照明装置の概略構成を示す図である。
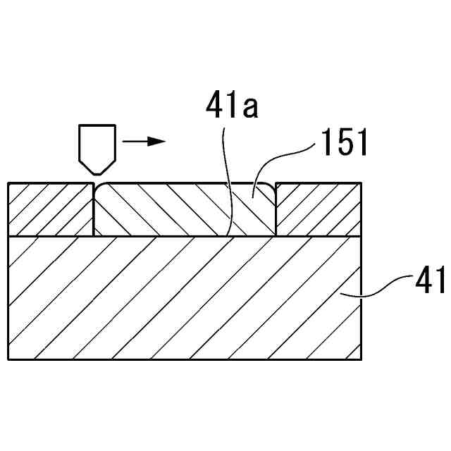
波長変換装置の要部構成を示す断面図である。
波長変換装置の製造工程の一部をそれぞれ示す図である。
波長変換装置の製造工程の一部をそれぞれ示す図である。
波長変換装置の製造工程の一部をそれぞれ示す図である。
波長変換装置の製造工程の一部をそれぞれ示す図である。
波長変換装置の製造工程の一部をそれぞれ示す図である。
波長変換装置の製造工程の一部をそれぞれ示す図である。
変形例に係る工程の一部を示す図である。
変形例に係る工程の一部を示す図である。
【発明を実施するための形態】
(【0011】以降は省略されています)
この特許をJ-PlatPat(特許庁公式サイト)で参照する
関連特許
セイコーエプソン株式会社
電子時計
3日前
セイコーエプソン株式会社
半導体装置
3日前
セイコーエプソン株式会社
文字板及び時計
3日前
セイコーエプソン株式会社
ダイオード回路
3日前
セイコーエプソン株式会社
振動デバイス
3日前
セイコーエプソン株式会社
画像読み取り装置
3日前
個人
表示装置
1か月前
個人
雨用レンズカバー
1か月前
株式会社シグマ
絞りユニット
2か月前
キヤノン株式会社
撮像装置
2か月前
平和精機工業株式会社
雲台
2か月前
日本精機株式会社
車両用投射装置
1か月前
キヤノン株式会社
撮像装置
1か月前
キヤノン株式会社
撮像装置
1か月前
キヤノン株式会社
撮像装置
2か月前
キヤノン株式会社
撮像装置
1か月前
キヤノン株式会社
撮像装置
1か月前
株式会社リコー
画像形成装置
18日前
株式会社リコー
画像形成装置
3か月前
株式会社リコー
画像形成装置
9日前
株式会社リコー
画像形成装置
2か月前
株式会社リコー
画像形成装置
2か月前
株式会社リコー
画像形成装置
3か月前
株式会社リコー
画像形成装置
27日前
株式会社リコー
画像形成装置
24日前
株式会社リコー
画像形成装置
24日前
株式会社リコー
画像形成装置
1か月前
株式会社リコー
画像形成装置
3か月前
キヤノン株式会社
画像形成装置
3か月前
キヤノン株式会社
トナー
1か月前
株式会社オプトル
プロジェクタ
1か月前
キヤノン株式会社
画像形成装置
2か月前
ブラザー工業株式会社
再生方法
3か月前
キヤノン株式会社
トナー
1か月前
キヤノン株式会社
画像形成装置
3か月前
株式会社オプトル
プロジェクタ
3か月前
続きを見る
他の特許を見る