TOP
|
特許
|
意匠
|
商標
特許ウォッチ
Twitter
他の特許を見る
10個以上の画像は省略されています。
公開番号
2025157996
公報種別
公開特許公報(A)
公開日
2025-10-16
出願番号
2024060404
出願日
2024-04-03
発明の名称
蒸着装置および発光装置の製造方法
出願人
キヤノン株式会社
代理人
弁理士法人大塚国際特許事務所
主分類
C23C
14/50 20060101AFI20251008BHJP(金属質材料への被覆;金属質材料による材料への被覆;化学的表面処理;金属質材料の拡散処理;真空蒸着,スパッタリング,イオン注入法,または化学蒸着による被覆一般;金属質材料の防食または鉱皮の抑制一般)
要約
【課題】マスクを用いた蒸着に有利な技術を提供する。
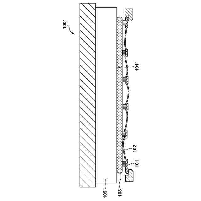
【解決手段】被蒸着基板108を保持する保持面191を有する静電チャックテーブル109と、マスク101を被蒸着基板108に当接させるための当接部110と、を備え、保持面191は、中央が凹む凹形状の曲面を有している。
【選択図】図1
特許請求の範囲
【請求項1】
被蒸着基板を保持する保持面を有する静電チャックテーブルと、
マスクを前記被蒸着基板に当接させるための当接部と、を備え、
前記保持面は、中央が凹む凹形状の曲面を有していることを特徴とする蒸着装置。
続きを表示(約 760 文字)
【請求項2】
前記保持面に交差する方向の断面視において、前記保持面は、円弧形状であることを特徴とする請求項1に記載の蒸着装置。
【請求項3】
前記保持面は、球面の一部であることを特徴とする請求項1に記載の蒸着装置。
【請求項4】
前記保持面は、25m以上かつ500m以下の曲率半径を有することを特徴とする請求項1に記載の蒸着装置。
【請求項5】
前記保持面は、前記保持面に対する平面視において円形であることを特徴とする請求項1に記載の蒸着装置。
【請求項6】
前記静電チャックテーブルの、前記被蒸着基板を吸引する単位面積当たりの力が、前記保持面のうち外縁部よりも中央部において大きいことを特徴とする請求項1に記載の蒸着装置。
【請求項7】
前記マスクは、第1厚さを有し、複数の開口部が配された複数の第1領域と、前記第1厚さよりも厚い第2厚さを有し、前記複数の第1領域のうち互いに隣り合う第1領域の間に配された第2領域と、を備えることを特徴とする請求項1に記載の蒸着装置。
【請求項8】
前記第2領域は、格子状に配されていることを特徴とする請求項7に記載の蒸着装置。
【請求項9】
前記マスクは、前記第2領域に配された磁性体層を有し、
前記当接部は、前記磁性体層を前記保持面に向かう方向に引き付けるマグネットを有することを特徴とする請求項7に記載の蒸着装置。
【請求項10】
前記マスクは、前記磁性体層を覆うように配された当接層を含み、
前記当接層は、前記磁性体層よりも硬度が小さいことを特徴とする請求項9に記載の蒸着装置。
(【請求項11】以降は省略されています)
発明の詳細な説明
【技術分野】
【0001】
本発明は、蒸着装置および発光装置の製造方法に関する。
続きを表示(約 2,100 文字)
【背景技術】
【0002】
有機エレクトロルミネセンス(EL)素子を用いた発光素子を含む発光装置が知られている。特許文献1には、蒸着装置を用いた蒸着によって、有機材料を被蒸着基板に形成することが示されている。高精細な発光装置を製造するためには、マスクを用いた蒸着において、被蒸着基板にマスクを密着させる、または、被蒸着基板とマスクとの間の隙間を均一にすることが求められる。特許文献1には、マグネット板の磁力を用いてマスクを被蒸着基板に沿って吸引することによってマスクおよび被蒸着基板をマグネット板の側に撓ませ、マスクを被蒸着基板に密着させることが示されている。
【先行技術文献】
【特許文献】
【0003】
特開2007-119893号公報
【発明の概要】
【発明が解決しようとする課題】
【0004】
発光装置の高精細化のために、マスクを薄くする必要がある。特許文献1に示される構成において、マスクを薄くした場合に、マスクが被蒸着基板を撓ませる力が弱くなり、マスクが被蒸着基板に密着せずに隙間ができる可能性がある。また、マスクが薄くなることによって大きく撓んだ場合、マスク自体が破損してしまう可能性がある。
【0005】
本発明は、マスクを用いた蒸着に有利な技術を提供することを目的とする。
【課題を解決するための手段】
【0006】
上記課題に鑑みて、本発明の一様態は、被蒸着基板を保持する保持面を有する静電チャックテーブルと、マスクを前記被蒸着基板に当接させるための当接部と、を備え、前記保持面は、中央が凹む凹形状の曲面を有している蒸着装置に関する。
【発明の効果】
【0007】
本開示によれば、マスクを用いた蒸着に有利な技術を提供することができる。
【図面の簡単な説明】
【0008】
本実施形態の蒸着装置の構成例を示す図。
図1の蒸着装置に用いられるマスクの構成例を示す図。
図1の蒸着装置におけるマスクと被蒸着基板との関係を示す図。
比較例の蒸着装置の構成例を示す図。
比較例の蒸着装置におけるマスクと被蒸着基板との関係を示す図。
図1の蒸着装置に用いられるマスクの製造方法を示す図。
図1の蒸着装置に用いられるマスクの製造方法を示す図。
本実施形態の蒸着装置の構成例を示す図。
図8の蒸着装置に用いられるマスクの構成例を示す図。
比較例の蒸着装置の構成例を示す図。
本実施形態の蒸着装置の実施例を説明する図。
本実施形態の蒸着装置の実施例を説明する図。
本実施形態の蒸着装置を用いて製造された発光装置の画素の構成例を示す断面図。
図13の発光装置を用いた画像形成装置の一例を示す図。
図13の発光装置を用いた表示装置の一例を示す図。
図13の発光装置を用いた光電変換装置の一例を示す図。
図13の発光装置を用いた電子機器の一例を示す図。
図13の発光装置を用いた表示装置の一例を示す図。
図13の発光装置を用いた照明装置の一例を示す図。
図13の発光装置を用いた移動体の一例を示す図。
図13の発光装置を用いたウェアラブルデバイスの一例を示す図。
【発明を実施するための形態】
【0009】
以下、添付図面を参照して実施形態を詳しく説明する。なお、以下の実施形態は特許請求の範囲に係る発明を限定するものではない。実施形態には複数の特徴が記載されているが、これらの複数の特徴の全てが発明に必須のものとは限らず、また、複数の特徴は任意に組み合わせられてもよい。さらに、添付図面においては、同一若しくは同様の構成に同一の参照番号を付し、重複した説明は省略する。
【0010】
図1~図12を参照して、本開示の実施形態による蒸着装置について説明する。図1には、本実施形態の蒸着装置100を用いて、被蒸着基板108に蒸着を行う例が示されている。蒸着装置100を用いた蒸着は、例えば、発光層を含む有機層をそれぞれ備える複数の画素が基板に配された発光装置の製造などに用いられる。発光装置は、例えば、有機エレクトロルミネセンス(EL)発光装置である。ここで、発光装置の基板は、被蒸着基板108に対応しうる。発光層を含む有機層の形成に、蒸着が用いられる。例えば、フルカラーの有機EL発光装置において、微細な各色(例えば、赤色、緑色、青色)の発光素子を高精度に形成するために、高精細なマスク101(蒸着マスクとも呼ばれうる)を精度よく基板(被蒸着基板108)上にアライメントする必要がある。さらに、被蒸着基板108にマスク101を密着させる、または、被蒸着基板108とマスク101との間の隙間を均一させる必要がある。
(【0011】以降は省略されています)
この特許をJ-PlatPat(特許庁公式サイト)で参照する
関連特許
他の特許を見る