TOP
|
特許
|
意匠
|
商標
特許ウォッチ
Twitter
他の特許を見る
10個以上の画像は省略されています。
公開番号
2025158861
公報種別
公開特許公報(A)
公開日
2025-10-17
出願番号
2024061797
出願日
2024-04-05
発明の名称
インクジェット記録装置
出願人
キヤノン株式会社
代理人
個人
,
個人
,
個人
,
個人
,
個人
主分類
B41J
2/165 20060101AFI20251009BHJP(印刷;線画機;タイプライター;スタンプ)
要約
【課題】 装置幅の増加を抑制できるインクジェット記録装置の提供。
【解決手段】 記録ヘッドと、記録ヘッドから液体を吸引する吸引手段と、吸引手段を駆動する駆動源と、駆動源の駆動力を吸引手段に伝達する伝達手段と、を備えるインクジェット記録装置である。伝達手段が、第1ホイルと、第2ホイルと、を含み、第1ホイルが、第1ホイル部及び第1当接部を有し、第2ホイルが、第2ホイル部及び第2当接部を有し、駆動力により第1ホイルが回転し、第1当接部が第2ホイルに当接することで第2ホイルが回転し、第1ホイルの回転軸方向に関して、第1当接部が、第2ホイル部の少なくとも一部と重複する。
【選択図】 図5
特許請求の範囲
【請求項1】
記録ヘッドと、
前記記録ヘッドから液体を吸引する吸引手段と、
前記吸引手段を駆動する駆動源と、
前記駆動源の駆動力を前記吸引手段に伝達する伝達手段と、を備えるインクジェット記録装置であって、
前記伝達手段が、第1ホイルと、第2ホイルと、を含み、
前記第1ホイルが、第1ホイル部及び第1当接部を有し、
前記第2ホイルが、第2ホイル部及び第2当接部を有し、
前記駆動力により前記第1ホイルが回転し、前記第1当接部が前記第2ホイルに当接することで前記第2ホイルが回転し、
前記第1ホイルの回転軸方向に関して、前記第1当接部が、前記第2ホイル部の少なくとも一部と重複することを特徴とするインクジェット記録装置。
続きを表示(約 1,000 文字)
【請求項2】
記録媒体を搬送する搬送手段を備え、
前記搬送手段が、前記駆動源によって駆動する請求項1に記載のインクジェット記録装置。
【請求項3】
前記搬送手段が、ローラである請求項2に記載のインクジェット記録装置。
【請求項4】
前記搬送手段が、前記記録ヘッドにより前記記録媒体の第1面に記録を行う場合には、第1方向に記録媒体を搬送し、記録が行われた前記記録媒体の第1面の裏面である第2面に記録を行う場合には、前記第1方向とは異なる第2方向に記録媒体を搬送する請求項2に記載のインクジェット記録装置。
【請求項5】
前記搬送手段によって前記第1方向に前記記録媒体を搬送する場合には、前記吸引手段による吸引が行われず、
前記搬送手段によって前記第2方向に前記記録媒体を搬送する場合には、前記吸引手段による吸引が行われる請求項4に記載のインクジェット記録装置。
【請求項6】
前記駆動源によって前記第2方向に前記記録媒体を搬送し始めてから、前記第1方向への搬送に切り替えるまでの時間が、使用可能な最大記録用紙を搬送するまでの時間よりも長い請求項4に記載のインクジェット記録装置。
【請求項7】
前記記録媒体を搬送する第1搬送路及び第2搬送路を備え、
前記第1搬送路が、前記搬送手段によって前記第1方向に前記記録媒体を搬送する際に記録媒体が通過する搬送路であるとともに、
前記第2搬送路が、前記搬送手段によって前記第2方向に前記記録媒体を搬送する際に記録媒体が通過する搬送路である請求項4に記載のインクジェット記録装置。
【請求項8】
前記駆動源によって前記第2方向に前記記録媒体を搬送し始めてから、前記第1方向への搬送に切り替えるまでの時間が、前記吸引手段による吸引が行われるまでの時間よりも短い請求項4に記載のインクジェット記録装置。
【請求項9】
前記第1当接部が前記第2ホイル部に当接することで前記第2ホイルが回転する請求項1に記載のインクジェット記録装置。
【請求項10】
前記第1当接部が前記第2当接部に当接することで前記第2ホイルが回転する請求項1に記載のインクジェット記録装置。
(【請求項11】以降は省略されています)
発明の詳細な説明
【技術分野】
【0001】
本発明は、インクジェット記録装置に関する。
続きを表示(約 2,000 文字)
【背景技術】
【0002】
インクジェット記録装置において、記録品位の維持のために吐出口の回復動作を行うことが行われている。この際に、回復動作として、吐出口の吸引動作を実施するために、チューブポンプを用いる構成が知られている。従来にも、記録媒体の搬送部の動作の際には、チューブポンプを駆動させないための遅延部として、中間ホイルを設ける構成が知られている(特許文献1参照)。
【先行技術文献】
【特許文献】
【0003】
特開2011-058506号公報
【発明の概要】
【発明が解決しようとする課題】
【0004】
特許文献1に記載のような中間ホイルを設ける構成では、遅延の量を増やすために、中間ホイルの数を増やす必要がある。しかしながら、中間ホイルの枚数を増やした分装置幅が増えてしまうという課題が生じることがわかった。
【0005】
したがって、本発明の目的は、装置幅の増加を抑制できるインクジェット記録装置を提供することにある。
【課題を解決するための手段】
【0006】
すなわち、本発明によれば、記録ヘッドと、前記記録ヘッドから液体を吸引する吸引手段と、前記吸引手段を駆動する駆動源と、前記駆動源の駆動力を前記吸引手段に伝達する伝達手段と、を備えるインクジェット記録装置であって、前記伝達手段が、第1ホイルと、第2ホイルと、を含み、前記第1ホイルが、第1ホイル部及び第1当接部を有し、前記第2ホイルが、第2ホイル部及び第2当接部を有し、前記駆動力により前記第1ホイルが回転し、前記第1当接部が前記第2ホイルに当接することで前記第2ホイルが回転し、前記第1ホイルの回転軸方向に関して、前記第1当接部が、前記第2ホイル部の少なくとも一部と重複することを特徴とする。
【発明の効果】
【0007】
本発明によれば、装置幅の増加を抑制できるインクジェット記録装置を提供することができる。
【図面の簡単な説明】
【0008】
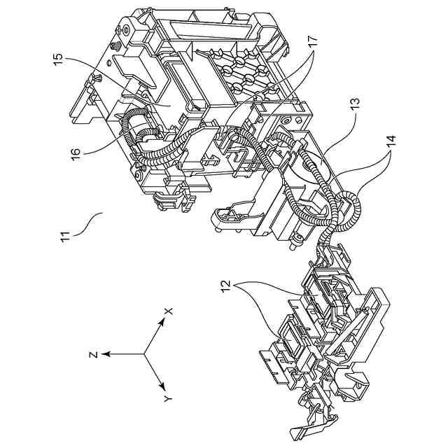
本発明のインクジェット記録装置の一実施形態を模式的に示す斜視図である。
本発明のインクジェット記録装置の回復ユニットの斜視図である。
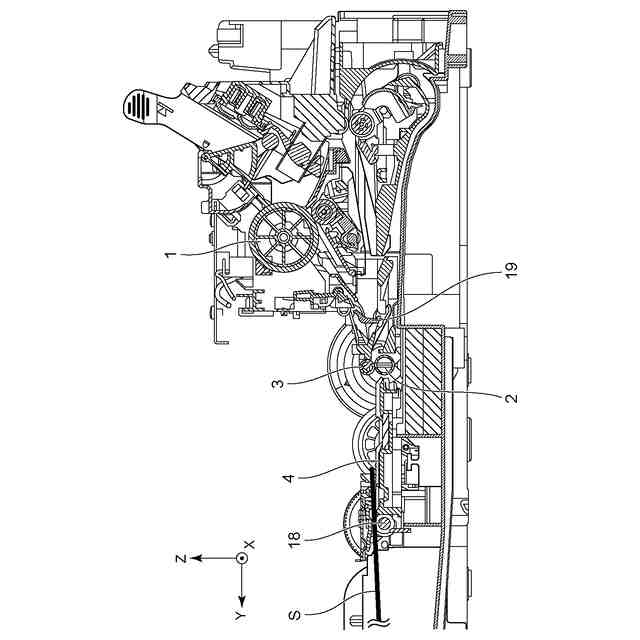
本発明のインクジェット記録装置における記録媒体の搬送路の断面図である。
本発明のインクジェット記録装置における搬送の際の、記録媒体が通過する経路図である。
本発明のインクジェット記録装置における搬送の際の、記録媒体が通過する経路図である。
本発明のインクジェット記録装置における搬送の際の、記録媒体が通過する経路図である。
本発明のインクジェット記録装置の吸引ポンプ部周辺の概略図である。
本発明のインクジェット記録装置の駆動入力ギアの詳細図である。
本発明のインクジェット記録装置の駆動伝達ホイルの詳細図である。
本発明のインクジェット記録装置の中間ホイルの詳細図である。
本発明のインクジェット記録装置のポンプ駆動部の詳細図である。
インクジェット記録装置の伝達手段の一例である。
インクジェット記録装置の伝達手段の一例である。
インクジェット記録装置の伝達手段の一例である。
本発明のインクジェット記録装置の別の実施形態における中間ホイルの詳細図である。
本発明のインクジェット記録装置の別の実施形態における中間ホイルの詳細図である。
【発明を実施するための形態】
【0009】
以下、図面を参照して本発明の実施の形態を具体的に説明する。なお、以下の実施形態に記載されている構成要素はあくまで例示であり、本発明の趣旨を逸脱しない範囲において本発明が適用される装置の構成や各種条件は適宜修正又は変更可能であり、以下の実施形態に限定されるものではない。例えば、以下の実施形態に記載されている構成部品の寸法、材質、形状、それらの相対配置などは、本発明が適用される装置の構成や各種条件により適宜変更可能で、特段の記載がない限り、本発明は以下の実施形態に限定されるものではない。
【0010】
(第1実施形態)
図1は、本発明の実施形態としてのインクジェット記録装置の概要を示す模式図である。図1において、画像を記録する際には、記録媒体は、給紙ローラ1により給紙され、搬送ローラ2とこれに従動するピンチローラ3との間に挟まれ、搬送ローラ2の回転により、プラテン4上に案内、支持されながらY方向に搬送される。搬送ローラ2は、表面に微細な凹凸を形成して大きな摩擦力を発生できるように加工した金属製のローラである。本実施形態では、搬送手段として搬送ローラを用いているが、別の構成であってもよい。
(【0011】以降は省略されています)
この特許をJ-PlatPat(特許庁公式サイト)で参照する
関連特許
個人
箔熱転写装置
1か月前
シヤチハタ株式会社
印判
4か月前
キヤノン株式会社
記録装置
1か月前
独立行政法人 国立印刷局
印刷物
7か月前
三光株式会社
感熱記録材料
6か月前
株式会社リコー
液体吐出装置
8か月前
株式会社リコー
液体吐出装置
4か月前
株式会社リコー
画像形成装置
23日前
株式会社リコー
液体吐出装置
4か月前
株式会社リコー
液体吐出装置
2か月前
株式会社リコー
印刷システム
23日前
独立行政法人 国立印刷局
貼付装置
1か月前
株式会社リコー
画像形成装置
19日前
株式会社リコー
画像形成装置
1か月前
株式会社リコー
液体吐出装置
6か月前
独立行政法人 国立印刷局
貼付機構
2か月前
日本製紙株式会社
感熱記録体
7か月前
株式会社リコー
液体吐出装置
7か月前
株式会社リコー
液体吐出装置
5か月前
ブラザー工業株式会社
プリンタ
6か月前
キヤノン株式会社
画像形成装置
8か月前
キヤノン株式会社
画像形成装置
5か月前
キヤノン株式会社
印刷システム
7か月前
理想科学工業株式会社
印刷装置
6か月前
シャープ株式会社
画像形成装置
今日
ブラザー工業株式会社
プリンタ
2か月前
ブラザー工業株式会社
液体吐出ヘッド
1か月前
ブラザー工業株式会社
プリンタ
4か月前
ブラザー工業株式会社
プリンタ
6か月前
キヤノン株式会社
画像形成装置
1か月前
ブラザー工業株式会社
プリンタ
8か月前
キヤノン株式会社
画像形成装置
3か月前
ブラザー工業株式会社
プリンタ
2か月前
キヤノン株式会社
画像記録装置
1か月前
キヤノン株式会社
画像処理装置
4か月前
キヤノン株式会社
画像形成装置
7か月前
続きを見る
他の特許を見る