TOP
|
特許
|
意匠
|
商標
特許ウォッチ
Twitter
他の特許を見る
公開番号
2025158766
公報種別
公開特許公報(A)
公開日
2025-10-17
出願番号
2024061631
出願日
2024-04-05
発明の名称
シート排出装置及び画像形成装置
出願人
キヤノン株式会社
代理人
弁理士法人近島国際特許事務所
主分類
B65H
5/00 20060101AFI20251009BHJP(運搬;包装;貯蔵;薄板状または線条材料の取扱い)
要約
【課題】本発明によると、シートの積載性を向上することができる。
【解決手段】シート排出装置は、シートをシート排出方向に排出する排出部と、排出部によって排出されたシートを支持するシート支持部と、シート排出方向において排出部の下流に配置され、シートの表面の電荷を除去する第1除電ユニットと、シート排出方向において第1除電ユニットの下流に配置され、シートの表面の電荷を除去する第2除電ユニットと、を備える。第1除電ユニットは、シート排出方向に交差する交差方向に第1のピッチで並設される複数の第1除電部を有し、第2除電ユニットは、交差方向に第1のピッチとは異なる第2のピッチで並設される複数の第2除電部を有する。
【選択図】図3
特許請求の範囲
【請求項1】
シートをシート排出方向に排出する排出部と、
前記排出部によって排出されたシートを支持するシート支持部と、
前記シート排出方向において前記排出部の下流に配置され、シートの表面の電荷を除去する第1除電ユニットと、
前記シート排出方向において前記第1除電ユニットの下流に配置され、シートの表面の電荷を除去する第2除電ユニットと、を備え、
前記第1除電ユニットは、前記シート排出方向に交差する交差方向に第1のピッチで並設される複数の第1除電部を有し、
前記第2除電ユニットは、前記交差方向に前記第1のピッチとは異なる第2のピッチで並設される複数の第2除電部を有する、
ことを特徴とするシート排出装置。
続きを表示(約 1,300 文字)
【請求項2】
前記第1のピッチは、前記第2のピッチよりも長い、
ことを特徴とする請求項1に記載のシート排出装置。
【請求項3】
前記第1のピッチは、前記第2のピッチよりも短い、
ことを特徴とする請求項1に記載のシート排出装置。
【請求項4】
前記複数の第1除電部は、前記複数の第2除電部とは異なる材質から構成されている、
ことを特徴とする請求項1に記載のシート排出装置。
【請求項5】
前記複数の第1除電部は、ステンレス鋼から構成され、
前記複数の第2除電部は、アモルファス金属材料から構成される、
ことを特徴とする請求項4に記載のシート排出装置。
【請求項6】
前記第1除電ユニットは、前記複数の第1除電部を支持し、導電性を有する第1支持部を有し、
前記第2除電ユニットは、前記複数の第2除電部を支持し、導電性を有する第2支持部を有する、
ことを特徴とする請求項1に記載のシート排出装置。
【請求項7】
前記排出部は、第1ローラと、前記第1ローラと共にシートを挟持して搬送するニップ部を形成する第2ローラと、を有し、
前記第1除電ユニット及び前記第2除電ユニットは、前記ニップによって挟持されるシートに対して、共に前記第1ローラ側に配置されている、
ことを特徴とする請求項1に記載のシート排出装置。
【請求項8】
前記複数の第1除電部及び前記複数の第2除電部は、重力方向に延びている、
ことを特徴とする請求項1に記載のシート排出装置。
【請求項9】
シートをシート排出方向に排出する排出部と、
前記排出部によって排出されたシートを支持するシート支持部と、
前記シート排出方向において前記排出部の下流に配置され、シートの表面の電荷を除去する第1除電ユニットと、
前記シート排出方向において前記第1除電ユニットの下流に配置され、シートの表面の電荷を除去する第2除電ユニットと、を備え、
前記第1除電ユニットは、前記シート排出方向に交差する交差方向に並設される複数の上流除電部であって、互いに前記交差方向に隣接する第1上流除電部及び第2上流除電部を有する複数の上流除電部を有し、
前記第2除電ユニットは、前記交差方向に並設される複数の下流除電部であって、互いに前記交差方向に隣接する第1下流除電部及び第2下流除電部を有する複数の下流除電部を有し、
前記交差方向において、前記第1上流除電部と前記第2上流除電部との間の距離は、前記第1下流除電部と前記第2下流除電部との間の距離とは異なる、
ことを特徴とするシート排出装置。
【請求項10】
シートに画像を形成する画像形成部と、
前記画像形成部によって画像が形成されたシートを排出する、請求項1乃至9のいずれか1項に記載のシート排出装置と、を備える、
ことを特徴とする画像形成装置。
発明の詳細な説明
【技術分野】
【0001】
本発明は、シートを排出するシート排出装置及びこれを備える画像形成装置に関する。
続きを表示(約 1,900 文字)
【背景技術】
【0002】
従来、トナー像が形成され、排出ローラ対によって排出されるシートを第1除電部及び第2除電部によって除電する画像形成装置が提案されている(特許文献1参照)。搬送方向において、第1除電部は、排出ローラ対の下流かつ上側に配置され、第2除電部は、排出ローラ対の上流かつ下側に配置されている。これら第1除電部及び第2除電部によって、シートの上面及び下面が除電される。第1除電部及び第2除電部は、シートの搬送方向と直交するシート幅方向に並んだ複数の除電ブラシをそれぞれ有している。
【先行技術文献】
【特許文献】
【0003】
特開2017-030917号公報
【発明の概要】
【発明が解決しようとする課題】
【0004】
近年、画像形成装置の高速化及び高機能化によって、排出されるシートを介して、単位時間あたりに排出トレイへ運ばれる静電気量が多くなっている。このため、上述した特許文献1に記載の第1除電部及び第2除電部では、シートに帯電した電荷を良好に除去できない場合があり、シート同士が吸着したり反発したりすることで排出トレイでのシートの積載性に問題がある場合があった。
【0005】
本発明は、シートの積載性を向上可能なシート排出装置を提供することを目的とする。
【課題を解決するための手段】
【0006】
本発明の一態様は、シートをシート排出方向に排出する排出部と、前記排出部によって排出されたシートを支持するシート支持部と、前記シート排出方向において前記排出部の下流に配置され、シートの表面の電荷を除去する第1除電ユニットと、前記シート排出方向において前記第1除電ユニットの下流に配置され、シートの表面の電荷を除去する第2除電ユニットと、を備え、前記第1除電ユニットは、前記シート排出方向に交差する交差方向に第1のピッチで並設される複数の第1除電部を有し、前記第2除電ユニットは、前記交差方向に前記第1のピッチとは異なる第2のピッチで並設される複数の第2除電部を有する、ことを特徴とするシート排出装置である。
【0007】
本発明の他の一態様は、シートをシート排出方向に排出する排出部と、前記排出部によって排出されたシートを支持するシート支持部と、前記シート排出方向において前記排出部の下流に配置され、シートの表面の電荷を除去する第1除電ユニットと、前記シート排出方向において前記第1除電ユニットの下流に配置され、シートの表面の電荷を除去する第2除電ユニットと、を備え、前記第1除電ユニットは、前記シート排出方向に交差する交差方向に並設される複数の上流除電部であって、互いに前記交差方向に隣接する第1上流除電部及び第2上流除電部を有する複数の上流除電部を有し、前記第2除電ユニットは、前記交差方向に並設される複数の下流除電部であって、互いに前記交差方向に隣接する第1下流除電部及び第2下流除電部を有する複数の下流除電部を有し、前記交差方向において、前記第1上流除電部と前記第2上流除電部との間の距離は、前記第1下流除電部と前記第2下流除電部との間の距離とは異なる、ことを特徴とするシート排出装置である。
【発明の効果】
【0008】
本発明によると、シートの積載性を向上することができる。
【図面の簡単な説明】
【0009】
第1の実施の形態に係る画像形成装置の断面構成を示す全体概略図。
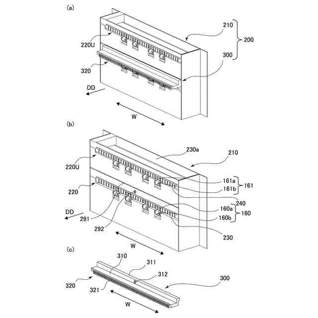
(a)はシート排出装置を示す斜視図、(b)はシート排出装置本体を示す斜視図、(c)は延長ユニットを示す斜視図。
(a)は第1除電ユニットを示す正面図、(b)は第2除電ユニットを示す正面図。
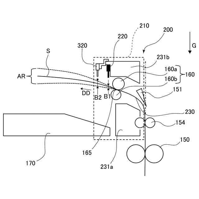
シート排出装置を示す断面図。
(a)は第2の実施の形態に係る第1除電ユニットを示す正面図、(b)は第2除電ユニットを示す正面図。
【発明を実施するための形態】
【0010】
<第1の実施の形態>
[全体構成]
まず、本発明の第1の実施の形態について説明する。図1は、第1の実施の形態に係る画像形成装置100の断面構成を示す全体概略図である。画像形成装置100は、記録材であるシートSに画像を形成する画像形成部140と、給送ユニット110と、定着器150と、シート排出装置200と、画像読取装置102と、を有している。また、画像形成装置100は、画像形成部140を収容する筐体である装置本体101を備えている。
(【0011】以降は省略されています)
この特許をJ-PlatPat(特許庁公式サイト)で参照する
関連特許
キヤノン株式会社
トナー
17日前
キヤノン株式会社
トナー
12日前
キヤノン株式会社
トナー
12日前
キヤノン株式会社
トナー
12日前
キヤノン株式会社
定着装置
11日前
キヤノン株式会社
記録装置
17日前
キヤノン株式会社
測距装置
5日前
キヤノン株式会社
現像装置
3日前
キヤノン株式会社
現像容器
10日前
キヤノン株式会社
現像容器
10日前
キヤノン株式会社
電子機器
19日前
キヤノン株式会社
撮像装置
17日前
キヤノン株式会社
現像装置
10日前
キヤノン株式会社
現像装置
10日前
キヤノン株式会社
記録装置
10日前
キヤノン株式会社
撮影装置
10日前
キヤノン株式会社
撮像装置
13日前
キヤノン株式会社
半導体装置
19日前
キヤノン株式会社
現像剤容器
18日前
キヤノン株式会社
モジュール
12日前
キヤノン株式会社
光学センサ
12日前
キヤノン株式会社
カートリッジ
10日前
キヤノン株式会社
情報処理装置
17日前
キヤノン株式会社
画像形成装置
4日前
キヤノン株式会社
画像形成装置
13日前
キヤノン株式会社
画像形成装置
10日前
キヤノン株式会社
画像処理装置
18日前
キヤノン株式会社
画像形成装置
10日前
キヤノン株式会社
画像形成装置
10日前
キヤノン株式会社
表示システム
18日前
キヤノン株式会社
映像表示装置
12日前
キヤノン株式会社
画像形成装置
18日前
キヤノン株式会社
画像処理装置
10日前
キヤノン株式会社
画像形成装置
6日前
キヤノン株式会社
画像形成装置
6日前
キヤノン株式会社
画像形成装置
17日前
続きを見る
他の特許を見る