TOP
|
特許
|
意匠
|
商標
特許ウォッチ
Twitter
他の特許を見る
10個以上の画像は省略されています。
公開番号
2025113789
公報種別
公開特許公報(A)
公開日
2025-08-04
出願番号
2024008120
出願日
2024-01-23
発明の名称
トルク制御クラッチ
出願人
日本精工株式会社
代理人
個人
,
個人
,
個人
,
個人
主分類
F16D
43/02 20060101AFI20250728BHJP(機械要素または単位;機械または装置の効果的機能を生じ維持するための一般的手段)
要約
【課題】クラッチ装置を容易に製造する。
【解決手段】
クラッチ装置1は、第1及び第2の入力掛止部22A、22Bを含む入力部材2と、回転軸線Aに直交する断面形状が扁平である出力掛止部32を含む出力部材3と、回転軸線Aを挟むように第1及び第2の入力掛止部22A、22Bが差し込まれると共に、出力掛止部32を挟持可能なエレメント4と、エレメント4と対面するハウジング内周面51dを含み、エレメント4を収容するハウジング5と、備える。エレメント4は、エレメント押圧面41d及び入力掛止穴41Hをそれぞれ含み、出力部材3を挟んで配置された第1及び第2のエレメント片部40A、40Bと、第1のエレメント片部40A及び第2のエレメント片部40Bの間に配置された第1及び第2のエレメントばね部43A、43Bと、を有する一体成型品である。
【選択図】図2
特許請求の範囲
【請求項1】
回転軸線を挟むように設けられて、前記回転軸線に沿って延びる一対の入力掛止部を含む入力部材と、
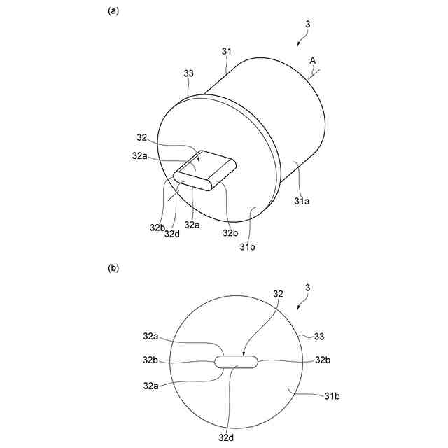
前記回転軸線に対して同軸であって、前記回転軸線に直交する断面形状が扁平であると共に前記回転軸線に沿って延びる出力掛止部を含む出力部材と、
前記回転軸線を挟むように前記一対の入力掛止部が差し込まれると共に、差し込まれた前記一対の入力掛止部の間において前記出力掛止部を挟持可能な係合子と、
前記係合子と対面する被押圧面を含み、前記係合子を収容する被押圧部材と、
を備え、
前記係合子は、前記被押圧面に対面する係合子押圧面及び前記入力掛止部が差し込まれる入力掛止穴をそれぞれ含み、前記出力部材を挟んで配置された第1の係合子片部及び第2の係合子片部と、前記第1の係合子片部に連続する部位と前記第2の係合子片部に連続する部位とを含み、前記第1の係合子片部及び前記第2の係合子片部の間に配置された係合子弾性部と、を有する一体成型品である、トルク制御クラッチ。
続きを表示(約 2,700 文字)
【請求項2】
前記第1の係合子片部は、前記回転軸線の方向に沿って延在する第1の係合子片部主面と、前記回転軸線の方向に沿って延在すると共に前記第1の係合子片部主面とは異なる方向を向く第1の係合子片部側面と、を含み、
前記第2の係合子片部は、前記回転軸線の方向に沿って延在すると共に前記第1の係合子片部主面に向く第2の係合子片部主面と、前記回転軸線の方向に沿って延在すると共に前記第1の係合子片部側面と同じ方向を向く第2の係合子片部側面と、を含み、
前記第1の係合子片部主面と前記第2の係合子片部主面との間には、前記出力掛止部が配置され、
前記第1の係合子片部側面には、前記係合子弾性部の第1の端部が連続し、
前記第2の係合子片部側面には、前記係合子弾性部の第2の端部が連続する、請求項1に記載のトルク制御クラッチ。
【請求項3】
前記第1の係合子片部は、前記回転軸線の方向に沿って延在する第1の係合子片部主面を含み、
前記第2の係合子片部は、前記回転軸線の方向に沿って延在すると共に前記第1の係合子片部主面に向く第2の係合子片部主面を含み、
前記第1の係合子片部主面と前記第2の係合子片部主面との間には、前記出力掛止部が配置され、
前記第1の係合子片部主面には、前記係合子弾性部の第1の端部が連続し、
前記第2の係合子片部主面には、前記係合子弾性部の第2の端部が連続する、請求項1に記載のトルク制御クラッチ。
【請求項4】
前記係合子が前記被押圧部材に収容された状態であるとき、前記第1の係合子片部に連続する部位から前記第2の係合子片部に連続する部位までの距離は、第1の距離であり、
前記係合子が前記被押圧部材に収容されていない状態であるとき、前記係合子弾性部が弾性力を生じさせないときの前記第1の係合子片部に連続する部位から、前記第2の係合子片部に連続する部位までの距離は、第2の距離であり、
前記第1の距離は、前記第2の距離と等しい、請求項1~3の何れか一項に記載のトルク制御クラッチ。
【請求項5】
前記係合子が前記被押圧部材に収容された状態であるとき、前記第1の係合子片部に連続する部位から前記第2の係合子片部に連続する部位までの距離は、第1の距離であり、
前記係合子が前記被押圧部材に収容されていない状態であるとき、前記係合子弾性部が弾性力を生じさせないときの前記第1の係合子片部に連続する部位から、前記第2の係合子片部に連続する部位までの距離は、第2の距離であり、
前記第1の距離は、前記第2の距離より短い、請求項1~3の何れか一項に記載のトルク制御クラッチ。
【請求項6】
前記係合子が前記被押圧部材に収容された状態であるとき、前記第1の係合子片部に連続する部位から前記第2の係合子片部に連続する部位までの距離は、第1の距離であり、
前記係合子が前記被押圧部材に収容されていない状態であるとき、前記係合子弾性部が弾性力を生じさせないときの前記第1の係合子片部に連続する部位から、前記第2の係合子片部に連続する部位までの距離は、第2の距離であり、
前記第1の距離は、前記第2の距離より長い、請求項1~3の何れか一項に記載のトルク制御クラッチ。
【請求項7】
回転軸線に対して同軸であって、前記回転軸線に直交する断面形状が扁平であると共に前記回転軸線に沿って延びる入力掛止部を含む入力部材と、
前記回転軸線に対して同軸に配置され、被押圧面を含む出力部材と、
前記回転軸線に対して同軸に配置され、前記入力掛止部に対面する係合子掛止面及び前記被押圧面に対面する係合子押圧面を含む係合子と、を備え、
前記出力部材は、前記係合子を収容し、
前記係合子は、前記係合子押圧面及び前記係合子掛止面をそれぞれ含み、前記係合子掛止面が前記入力掛止部と対面するように前記入力掛止部を挟んで配置された第1の係合子片部及び第2の係合子片部と、前記第1の係合子片部に連続する部位と前記第2の係合子片部に連続する部位とを含み、前記第1の係合子片部及び前記第2の係合子片部の間に配置された係合子弾性部と、を有する一体成型品である、トルク制御クラッチ。
【請求項8】
前記第1の係合子片部は、前記回転軸線の方向に沿って延在する第1の係合子片部主面と、前記回転軸線の方向に沿って延在すると共に前記第1の係合子片部主面とは異なる方向を向く第1の係合子片部側面と、を含み、
前記第2の係合子片部は、前記回転軸線の方向に沿って延在すると共に前記第1の係合子片部主面に向く第2の係合子片部主面と、前記回転軸線の方向に沿って延在すると共に前記第1の係合子片部側面と同じ方向を向く第2の係合子片部側面と、を含み、
前記第1の係合子片部主面と前記第2の係合子片部主面との間には、前記入力掛止部が配置され、
前記第1の係合子片部側面には、前記係合子弾性部の第1の端部が連続し、
前記第2の係合子片部側面には、前記係合子弾性部の第2の端部が連続する、請求項7に記載のトルク制御クラッチ。
【請求項9】
前記第1の係合子片部は、前記回転軸線の方向に沿って延在する第1の係合子片部主面を含み、
前記第2の係合子片部は、前記回転軸線の方向に沿って延在すると共に前記第1の係合子片部主面に向く第2の係合子片部主面を含み、
前記第1の係合子片部主面と前記第2の係合子片部主面との間には、前記入力掛止部が配置され、
前記第1の係合子片部主面には、前記係合子弾性部の第1の端部が連続し、
前記第2の係合子片部主面には、前記係合子弾性部の第2の端部が連続する、請求項7に記載のトルク制御クラッチ。
【請求項10】
前記係合子が前記出力部材に収容された状態であるとき、前記第1の係合子片部に連続する部位から前記第2の係合子片部に連続する部位までの距離は、第1の距離であり、
前記係合子が前記出力部材に収容されていない状態であるとき、前記係合子弾性部が弾性力を生じさせないときの前記第1の係合子片部に連続する部位から、前記第2の係合子片部に連続する部位までの距離は、第2の距離であり、
前記第1の距離は、前記第2の距離と等しい、請求項7~9の何れか一項に記載のトルク制御クラッチ。
(【請求項11】以降は省略されています)
発明の詳細な説明
【技術分野】
【0001】
本発明は、トルク制御クラッチに関する。
続きを表示(約 2,000 文字)
【背景技術】
【0002】
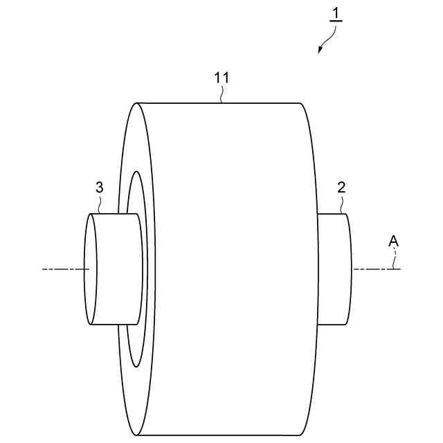
トルク制御クラッチは、入力軸から出力軸へのトルクの伝達を許す機能と、出力軸から入力軸へのトルクの伝達を制限する機能と、を奏する。例えば、特許文献1は、これらの機能を奏する逆入力遮断クラッチを開示する。
【先行技術文献】
【特許文献】
【0003】
特開2020-8124号公報
【発明の概要】
【発明が解決しようとする課題】
【0004】
特許文献1に示す逆入力遮断クラッチは、入力部材と、出力部材と、一対の係合子と、一対のばねと、を有する。特に、逆入力トルクを制限するための構成は、一対の係合子と一対のばねによって形成されている。従って、逆入力遮断クラッチの製造には、複数の部品を組み合わせる工程を要する。その結果、逆入力遮断クラッチの製造は煩雑であった。
【0005】
本発明は、容易に製造できるトルク制御クラッチを提供することを目的とする。
【課題を解決するための手段】
【0006】
本発明の一形態であるトルク制御クラッチは、回転軸線を挟むように設けられて、回転軸線に沿って延びる一対の入力掛止部を含む入力部材と、回転軸線に対して同軸であって、回転軸線に直交する断面形状が扁平であると共に回転軸線に沿って延びる出力掛止部を含む出力部材と、回転軸線を挟むように一対の入力掛止部が差し込まれると共に、差し込まれた一対の入力掛止部の間において出力掛止部を挟持可能な係合子と、係合子と対面する被押圧面を含み、係合子を収容する被押圧部材と、を備える。係合子は、被押圧面に対面する係合子押圧面及び入力掛止部が差し込まれる入力掛止穴をそれぞれ含み、出力部材を挟んで配置された第1の係合子片部及び第2の係合子片部と、第1の係合子片部に連続する部位と第2の係合子片部に連続する部位とを含み、第1の係合子片部及び第2の係合子片部の間に配置された係合子弾性部と、を有する一体成型品である。
【0007】
上記のトルク制御クラッチは、入力部材から出力部材へのトルクの伝達を許容すると共に出力部材から入力部材へのトルクの逆入力を制限する。トルクを伝達する機能とトルクの逆入力を制限する機能とを奏するための係合子は、第1及び第2の係合子片部本体部と、係合子弾性部と、を含む一体の部品として構成されている。従って、上記のトルク制御クラッチは、部品の点数が少ないので容易に製造することができる。
【0008】
一形態のトルク制御クラッチにおいて、第1の係合子片部は、回転軸線の方向に沿って延在する第1の係合子片部主面と、回転軸線の方向に沿って延在すると共に第1の係合子片部主面とは異なる方向を向く第1の係合子片部側面と、を含み、第2の係合子片部は、回転軸線の方向に沿って延在すると共に第1の係合子片部主面に向く第2の係合子片部主面と、回転軸線の方向に沿って延在すると共に第1の係合子片部側面と同じ方向を向く第2の係合子片部側面と、を含み、第1の係合子片部主面と第2の係合子片部主面との間には、出力掛止部が配置され、第1の係合子片部側面には、係合子弾性部の第1の端部が連続し、第2の係合子片部側面には、係合子弾性部の第2の端部が連続してもよい。この構成によっても、第1及び第2の係合子片部を互いに近づける向きの力又は第1及び第2の係合子片部を互いに離間させる向きの力を発生することができる。
【0009】
一形態のトルク制御クラッチにおいて、第1の係合子片部は、回転軸線の方向に沿って延在する第1の係合子片部主面を含み、第2の係合子片部は、回転軸線の方向に沿って延在すると共に第1の係合子片部主面に向く第2の係合子片部主面を含み、第1の係合子片部主面と第2の係合子片部主面との間には、出力掛止部が配置され、第1の係合子片部主面には、係合子弾性部の第1の端部が連続し、第2の係合子片部主面には、係合子弾性部の第2の端部が連続してもよい。この構成によれば、第1及び第2の係合子片部を互いに近づける向きの力又は第1及び第2の係合子片部を互いに離間させる向きの力を発生することができる。
【0010】
一形態のトルク制御クラッチは、係合子が被押圧部材に収容された状態であるとき、第1の係合子片部に連続する部位から第2の係合子片部に連続する部位までの距離は、第1の距離であり、係合子が被押圧部材に収容されていない状態であるとき、係合子弾性部が弾性力を生じさせないときの第1の係合子片部に連続する部位から、第2の係合子片部に連続する部位までの距離は、第2の距離であり、第1の距離は、第2の距離と等しくてもよい。
(【0011】以降は省略されています)
この特許をJ-PlatPat(特許庁公式サイト)で参照する
関連特許
日本精工株式会社
保持器
1か月前
日本精工株式会社
駆動装置
1か月前
日本精工株式会社
ころ軸受
2か月前
日本精工株式会社
分注装置
1か月前
日本精工株式会社
締結用工具
1か月前
日本精工株式会社
ボールねじ
18日前
日本精工株式会社
ボールねじ
2か月前
日本精工株式会社
リニアガイド
1か月前
日本精工株式会社
遊星歯車装置
1か月前
日本精工株式会社
送りねじ装置
1か月前
日本精工株式会社
制振システム
1か月前
日本精工株式会社
ボールねじ装置
1か月前
日本精工株式会社
ボールねじ装置
1か月前
日本精工株式会社
ボールねじ装置
1か月前
日本精工株式会社
ボールねじ装置
1か月前
日本精工株式会社
ボールねじ装置
1か月前
日本精工株式会社
ボールねじ装置
1か月前
日本精工株式会社
アンギュラ玉軸受
1か月前
日本精工株式会社
シール付き玉軸受
1か月前
日本精工株式会社
リニアガイド装置
1か月前
日本精工株式会社
突入電流抑止回路
1か月前
日本精工株式会社
ハブユニット軸受
28日前
日本精工株式会社
逆入力遮断クラッチ
1か月前
日本精工株式会社
搬送装置及び駆動輪
1か月前
日本精工株式会社
逆入力遮断クラッチ
1か月前
日本精工株式会社
磁歪式トルクセンサ
今日
日本精工株式会社
磁歪式トルクセンサ
18日前
日本精工株式会社
電動摩擦クラッチ装置
1か月前
日本精工株式会社
電動摩擦クラッチ装置
1か月前
日本精工株式会社
直動案内装置の組立方法
4日前
日本精工株式会社
アクチュエータシステム
6日前
日本精工株式会社
抽出装置および抽出方法
1か月前
日本精工株式会社
絶縁転がり軸受の製造方法
1か月前
日本精工株式会社
ボールねじ部品の製造方法
26日前
日本精工株式会社
潤滑機能付き転がり軸受装置
18日前
日本精工株式会社
保持器、及び保持器の製造方法
1か月前
続きを見る
他の特許を見る