TOP
|
特許
|
意匠
|
商標
特許ウォッチ
Twitter
他の特許を見る
10個以上の画像は省略されています。
公開番号
2025147898
公報種別
公開特許公報(A)
公開日
2025-10-07
出願番号
2024048398
出願日
2024-03-25
発明の名称
磁歪式トルクセンサ
出願人
日本精工株式会社
代理人
弁理士法人貴和特許事務所
主分類
G01L
3/10 20060101AFI20250930BHJP(測定;試験)
要約
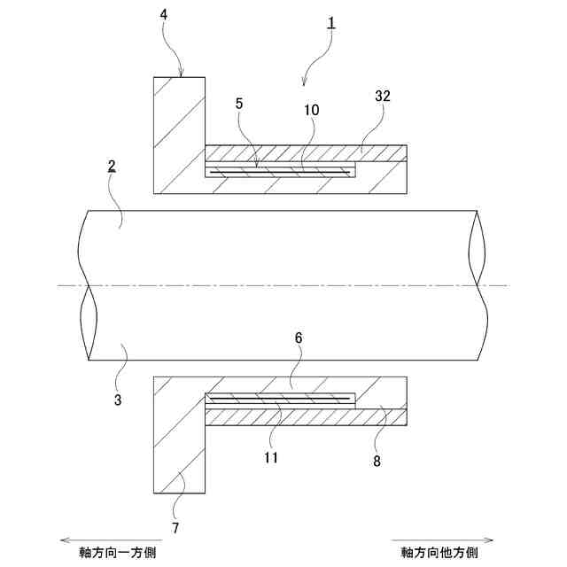
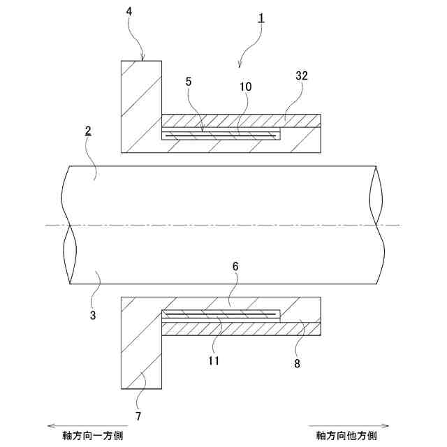
【課題】長期の使用によっても、フレキシブル基板の本体部がホルダのボビン部の周囲に巻き付くように配置された状態を維持しやすい磁歪式トルクセンサを実現する。
【解決手段】回転軸2の周囲に配置されるボビン部6を有するホルダ4と、複数の検出コイルからなる検出部10を含み、ボビン部6の周囲に巻き付けるように配置された本体部11を有するフレキシブル基板5とを備える。本体部11は、円周方向一方側の端部に備えられた一方側係合部と、円周方向他方側の端部に備えられた他方側係合部とを有し、一方側係合部と他方側係合部とが互いに係合している。
【選択図】図1
特許請求の範囲
【請求項1】
回転軸の周囲に配置されるボビン部を有するホルダと、
複数の検出コイルからなる検出部を含み、前記ボビン部の周囲に巻き付けるように配置された本体部を有する、フレキシブル基板と、
を備え、
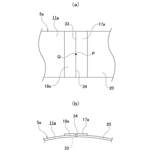
前記本体部は、円周方向一方側の端部に備えられた一方側係合部と、円周方向他方側の端部に備えられた他方側係合部とを有し、前記一方側係合部と前記他方側係合部とが互いに係合している、
磁歪式トルクセンサ。
続きを表示(約 340 文字)
【請求項2】
前記一方側係合部は、通孔を含んで構成されており、
前記他方側係合部は、前記通孔に挿通される挿通部と、該挿通部の先端部に接続され、前記通孔の軸方向幅寸法よりも大きく、かつ、前記挿通部の軸方向幅寸法よりも大きい軸方向幅寸法を有する抜け止め部とを含んで構成されている、
請求項1に記載の磁歪式トルクセンサ。
【請求項3】
前記一方側係合部は、軸方向に伸長し、かつ、軸方向一方側の端縁部に開口する一方側スリットを含んで構成されており、
前記他方側係合部は、軸方向に伸長し、軸方向他方側の端縁部に開口し、かつ、前記一方側係合部と噛み合う他方側スリットを含んで構成されている、
請求項1に記載の磁歪式トルクセンサ。
発明の詳細な説明
【技術分野】
【0001】
本開示は、回転軸に付与されたトルクを測定する磁歪式トルクセンサに関する。
続きを表示(約 1,200 文字)
【背景技術】
【0002】
回転軸に付与されたトルクを測定するセンサとして、回転軸にトルクを付与した際に、該回転軸に生じる逆磁歪効果を利用して、回転軸に付与されたトルクを測定する磁歪式トルクセンサが、特開2022-74405号公報に記載されるなどにより、従来から知られている。
【0003】
特開2022-74405号公報に記載の従来の磁歪式トルクセンサは、回転軸の周囲に配置されるボビン部(内側円筒部)を有するホルダ(第1の樹脂部材)と、複数の検出コイルからなる検出部を含み、前記ボビン部の周囲に配置された本体部を有するフレキシブル基板とを備える。磁歪式トルクセンサは、前記検出コイルのインダクタンスの変化に基づいて、前記回転軸に付与されたトルクを検出する。
【先行技術文献】
【特許文献】
【0004】
特開2022-74405号公報
【発明の概要】
【発明が解決しようとする課題】
【0005】
特開2022-74405号公報に記載の従来の磁歪式トルクセンサは、母材に打ち抜き加工を施すことで、帯状または矩形板状の本体部を有するフレキシブル基板を得た後、該本体部をホルダのボビン部に巻き付けて円筒状または欠円筒状に成形することで得られる。
【0006】
この場合に、前記本体部が前記ボビン部の周囲に巻き付くように配置された状態を保持するために、前記本体部の内周面を前記ボビン部の外周面に接着することが考えられる。
【0007】
しかしながら、前記本体部の内周面を前記ボビン部の外周面に接着した場合には、使用時の温度変化により、前記ボビン部が膨張と収縮とを繰り返すことなどによって、接着力が低下して、前記本体部の内周面が前記ボビン部の外周面から剥がれてしまう可能性がある。
【0008】
本開示は、長期の使用によっても、フレキシブル基板の本体部がホルダのボビン部の周囲に巻き付くように配置された状態を維持しやすい磁歪式トルクセンサを実現することを目的とする。
【課題を解決するための手段】
【0009】
本開示の第1態様の磁歪式トルクセンサは、
回転軸の周囲に配置されるボビン部を有するホルダと、
複数の検出コイルからなる検出部を含み、前記ボビン部の周囲に巻き付けるように配置された本体部を有する、フレキシブル基板と、
を備える。
【0010】
特に、本開示の第1態様の磁歪式トルクセンサでは、前記本体部は、円周方向一方側の端部に備えられた一方側係合部と、円周方向他方側の端部に備えられた他方側係合部とを有し、前記一方側係合部と前記他方側係合部とが互いに係合している。
(【0011】以降は省略されています)
この特許をJ-PlatPat(特許庁公式サイト)で参照する
関連特許
日本精工株式会社
ボールねじ
1か月前
日本精工株式会社
温度検出装置
8日前
日本精工株式会社
転がり案内装置
27日前
日本精工株式会社
ボールねじ装置
20日前
日本精工株式会社
アクチュエータ
14日前
日本精工株式会社
円すいころ軸受
19日前
日本精工株式会社
密封型転がり軸受
7日前
日本精工株式会社
密封型転がり軸受
20日前
日本精工株式会社
密封型転がり軸受
20日前
日本精工株式会社
密封型転がり軸受
20日前
日本精工株式会社
密封型転がり軸受
20日前
日本精工株式会社
密封型転がり軸受
20日前
日本精工株式会社
密封型転がり軸受
20日前
日本精工株式会社
密封型転がり軸受
20日前
日本精工株式会社
磁歪式トルクセンサ
29日前
日本精工株式会社
磁歪式トルクセンサ
1か月前
日本精工株式会社
逆入力遮断クラッチ
13日前
日本精工株式会社
モータ制御システム
28日前
日本精工株式会社
アクチュエータシステム
1か月前
日本精工株式会社
直動案内装置の組立方法
1か月前
日本精工株式会社
ラジアルころ軸受用保持器
19日前
日本精工株式会社
ハブユニット軸受の製造方法
8日前
日本精工株式会社
潤滑機能付き転がり軸受装置
1か月前
日本精工株式会社
直動案内装置及びその製造方法
1か月前
日本精工株式会社
回路放熱機構および回路放熱方法
1か月前
日本精工株式会社
ころ軸受及びころ軸受の設計方法
1か月前
日本精工株式会社
片持ち回転ローラ配置型円形車輪
19日前
協同油脂株式会社
グリース組成物
1か月前
日本精工株式会社
ハブユニット軸受及びその製造方法
19日前
日本精工株式会社
含油部材付歯車、直動アクチュエータ
1か月前
日本精工株式会社
入力異常検出装置および入力異常検出方法
1か月前
日本精工株式会社
細胞培養成形装置および細胞培養片の製造方法
1か月前
日本精工株式会社
潤滑剤供給体及び潤滑剤供給体を配設した転動装置
27日前
日本精工株式会社
データ読み取りシステムおよび設備保全管理システム
8日前
日本精工株式会社
圧電アクチュエータおよびマニピュレーションシステム
26日前
日本精工株式会社
磁歪式トルクセンサの組立方法および磁歪式トルクセンサ
19日前
続きを見る
他の特許を見る