TOP
|
特許
|
意匠
|
商標
特許ウォッチ
Twitter
他の特許を見る
公開番号
2025157862
公報種別
公開特許公報(A)
公開日
2025-10-16
出願番号
2024060165
出願日
2024-04-03
発明の名称
密封型転がり軸受
出願人
日本精工株式会社
代理人
弁理士法人栄光事務所
主分類
F16C
33/78 20060101AFI20251008BHJP(機械要素または単位;機械または装置の効果的機能を生じ維持するための一般的手段)
要約
【課題】高温、高荷重等の過酷な環境の中で継続的に使用した場合であっても、シール体が軸受から脱落したり、供回りしたりすることを、簡素且つ低コストな構成で防止する密封型転がり軸受を提供する。
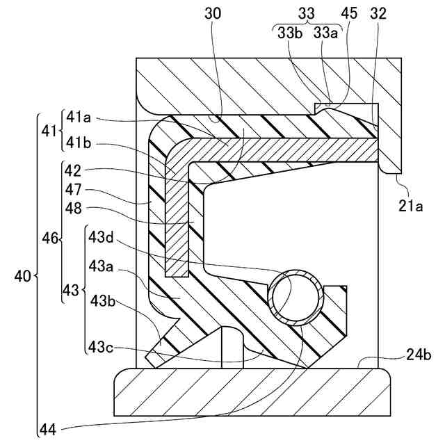
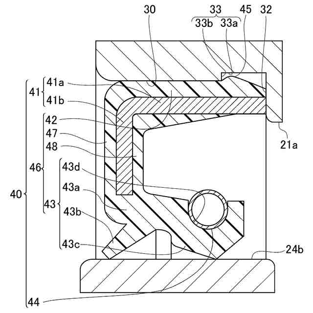
【解決手段】密封型転がり軸受は、外輪と、内輪と、複数の転動体と、外輪の内径部の外側端部に設けられたシールホルダ嵌合面に取付けられることによって外輪及び内輪の間に形成される隙間をシールするシール体と、を備える。シール体は、円筒部、及び前記円筒部の外端部から前記内輪に向けて屈曲した円輪部を有する断面L字状の芯金と、芯金に取付けられてシールホルダ嵌合面に密着するシール固定部、及びシールリップ部を有する弾性材料からなるシール部材と、を備え、シールホルダ嵌合面と外輪軌道面との間は、径方向に延在する段部を介して接続され、シールホルダ嵌合面の軸方向内端に、前記段部と連続する係止溝を設けた。
【選択図】図3
特許請求の範囲
【請求項1】
内径部に外輪軌道面が形成された外輪と、
外径部に内輪軌道面が形成された内輪と、
前記外輪軌道面と前記内輪軌道面との間に配置される複数の転動体と、
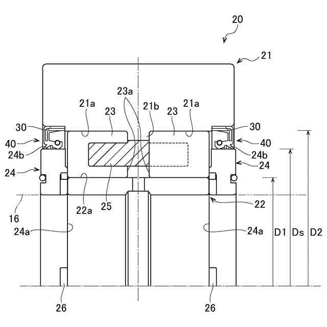
前記外輪の内径部の外側端部に設けられたシールホルダ嵌合面に取付けられて、前記外輪及び前記内輪の間に形成される隙間をシールするシール体と、
を備える密封型転がり軸受であって、
前記シール体は、円筒部、及び前記円筒部の外端部から前記内輪に向けて屈曲した円輪部を有する断面L字状の芯金と、前記芯金に取付けられて前記シールホルダ嵌合面に密着するシール固定部、及びシールリップ部を有する弾性材料からなるシール部材と、を備え、
前記シールホルダ嵌合面と前記外輪軌道面との間は、径方向に延在する段部を介して接続され、
前記シールホルダ嵌合面の軸方向内端に、前記段部と連続する係止溝を設けた、
密封型転がり軸受。
続きを表示(約 300 文字)
【請求項2】
前記係止溝は、軸方向に延在する底部と、前記底部の軸方向外端から直交する方向に立ち上がる縁部と、を有する、
請求項1に記載の密封型転がり軸受。
【請求項3】
前記係止溝の軸方向の幅は、研削逃げ溝よりも幅広に形成される、
請求項1に記載の密封型転がり軸受。
【請求項4】
前記シールホルダ嵌合面に密着する前記シール固定部の一部は、弾性力によって前記係止溝に膨出する、
請求項1に記載の密封型転がり軸受。
【請求項5】
前記係止溝は、円環状に形成された、
請求項1~4の何れか1項に記載の密封型転がり軸受。
発明の詳細な説明
【技術分野】
【0001】
本発明は、密封型転がり軸受に関し、より詳細には、例えば、鉄鋼設備の圧延機に使用される密封型転がり軸受に関する。
続きを表示(約 1,600 文字)
【背景技術】
【0002】
従来、鉄鋼材による板材を製造する圧延機は、圧延時に鉄鋼材を圧迫挟持して圧延するワークロールと、該ワークロールの撓みを防止して均一な厚みの板材を得るため、ワークロールの外周面を転動自在に支える一段または複数段の中間ロールと、該中間ロールをその外側で支えてワークロールの撓みを防止するバックアップロールと、からなる多段圧延機が多く用いられている。
【0003】
形状精度の高い板製品を製造するため、圧延機ではロールの冷却、ロール間、即ち、ワークロールとバックアップロールとの間の潤滑、被圧延材とロールとの間の潤滑等に大量の圧延水がロールに向けて噴射されている。
【0004】
圧延水が軸受内部へ浸入することを防ぐため、軸受ハウジングにはシールが用いられている。しかしながら、高温環境、スケール等の異物、または、メンテナンスの不備によって軸受内に圧延水が浸入してしまうと、潤滑不良が発生して、軸受が早期に損傷する虞がある。
【0005】
特許文献1では、近年の高生産性、効率化、合理化を目的とした圧延機の高速化に伴う軸受内部の高圧化に対応しつつ、圧延水の軸受内部への浸入を防止するために、芯金と、スリンガと、芯金に取り付けられて、スリンガに接触するシールリップと、を備え、芯金に圧力を開放する排気孔を設けた、密封型転がり軸受が開示されている。
【先行技術文献】
【特許文献】
【0006】
特開2014-137090号公報
【発明の概要】
【発明が解決しようとする課題】
【0007】
特許文献1に記載のシール体は、芯金に形成した排気孔によって、軸受内部の圧力を外部空間に開放することを意図するものであるが、鉄鋼設備の圧延機に用いられる軸受は、高温、高荷重等の過酷な環境で使用されるため、シールホルダとなる外輪の変形、軸受の内圧増加、継続的な衝撃や振動等により、シール体が軸受から脱落したり、供回りしたりする可能性がある。また、シール体の製造にコストも掛かるものである。
【0008】
本発明は、上記課題に鑑みてなされたものであり、高温、高荷重等の過酷な環境の中で継続的に使用した場合であっても、シール体が軸受から脱落したり、供回りしたりすることを、簡素且つ低コストな構成で防止する密封型転がり軸受を提供することを目的とする。
【課題を解決するための手段】
【0009】
本発明の上記目的は、下記[1]の構成によって達成される。
[1] 内径部に外輪軌道面が形成された外輪と、
外径部に内輪軌道面が形成された内輪と、
前記外輪軌道面と前記内輪軌道面との間に配置される複数の転動体と、
前記外輪の内径部の外側端部に設けられたシールホルダ嵌合面に取付けられて、前記外輪及び前記内輪の間に形成される隙間をシールするシール体と、
を備える密封型転がり軸受であって、
前記シール体は、円筒部、及び前記円筒部の外端部から前記内輪に向けて屈曲した円輪部を有する断面L字状の芯金と、前記芯金に取付けられて前記シールホルダ嵌合面に密着するシール固定部、及びシールリップ部を有する弾性材料からなるシール部材と、を備え、
前記シールホルダ嵌合面と前記外輪軌道面との間は、径方向に延在する段部を介して接続され、
前記シールホルダ嵌合面の軸方向内端に、前記段部と連続する係止溝を設けた、
密封型転がり軸受。
【発明の効果】
【0010】
本発明によれば、簡素且つ低コストな構成によって、高温、高荷重等の過酷な環境の中で継続的に使用した場合であっても、シール体が軸受から脱落したり、供回りしたりすることを防止できる。
【図面の簡単な説明】
(【0011】以降は省略されています)
この特許をJ-PlatPat(特許庁公式サイト)で参照する
関連特許
日本精工株式会社
ボールねじ
1か月前
日本精工株式会社
転がり案内装置
16日前
日本精工株式会社
ボールねじ装置
9日前
日本精工株式会社
円すいころ軸受
8日前
日本精工株式会社
アクチュエータ
3日前
日本精工株式会社
密封型転がり軸受
9日前
日本精工株式会社
密封型転がり軸受
9日前
日本精工株式会社
密封型転がり軸受
9日前
日本精工株式会社
密封型転がり軸受
9日前
日本精工株式会社
密封型転がり軸受
9日前
日本精工株式会社
密封型転がり軸受
9日前
日本精工株式会社
密封型転がり軸受
9日前
日本精工株式会社
モータ制御システム
17日前
日本精工株式会社
磁歪式トルクセンサ
18日前
日本精工株式会社
磁歪式トルクセンサ
1か月前
日本精工株式会社
逆入力遮断クラッチ
2日前
日本精工株式会社
直動案内装置の組立方法
22日前
日本精工株式会社
アクチュエータシステム
24日前
日本精工株式会社
ボールねじ部品の製造方法
1か月前
日本精工株式会社
ラジアルころ軸受用保持器
8日前
日本精工株式会社
潤滑機能付き転がり軸受装置
1か月前
日本精工株式会社
直動案内装置及びその製造方法
22日前
日本精工株式会社
ころ軸受及びころ軸受の設計方法
22日前
日本精工株式会社
片持ち回転ローラ配置型円形車輪
8日前
日本精工株式会社
回路放熱機構および回路放熱方法
1か月前
日本精工株式会社
ハブユニット軸受及びその製造方法
8日前
協同油脂株式会社
グリース組成物
24日前
日本精工株式会社
含油部材付歯車、直動アクチュエータ
26日前
日本精工株式会社
モータ制御装置およびモータ制御方法
1か月前
日本精工株式会社
入力異常検出装置および入力異常検出方法
1か月前
日本精工株式会社
細胞培養成形装置および細胞培養片の製造方法
1か月前
日本精工株式会社
潤滑剤供給体及び潤滑剤供給体を配設した転動装置
16日前
日本精工株式会社
圧電アクチュエータおよびマニピュレーションシステム
15日前
日本精工株式会社
磁歪式トルクセンサの組立方法および磁歪式トルクセンサ
8日前
日本精工株式会社
トルクセンサの補正値取得方法および回転軸のトルク測定方法
8日前
日本精工株式会社
ボールねじの偏荷重検出装置、偏荷重検出方法、およびプログラム
8日前
続きを見る
他の特許を見る