TOP
|
特許
|
意匠
|
商標
特許ウォッチ
Twitter
他の特許を見る
公開番号
2025176902
公報種別
公開特許公報(A)
公開日
2025-12-05
出願番号
2024083287
出願日
2024-05-22
発明の名称
ボールねじ
出願人
日本精工株式会社
代理人
弁理士法人栄光事務所
主分類
F16H
25/22 20060101AFI20251128BHJP(機械要素または単位;機械または装置の効果的機能を生じ維持するための一般的手段)
要約
【課題】ナットの加工が容易でありながら、少ない部品点数で循環モジュールをナットに固定することができるコンパクトな外循環式のボールねじを提供する。
【解決手段】ボールねじ10における循環モジュール40は、ナット30の貫通穴32に嵌入されるナット挿入部42とボールの移動方向を転換する方向転換部43が連続して設けられ、ボール循環路の一部経路を構成する一対の循環ユニット41,41と、一対の循環ユニット41,41の間に配置され、循環ユニット41の一部経路に連通するボール循環路の残り部経路を構成する接続固定ユニット50と、を有する。循環ユニット41は、方向転換部43におけるナット挿入部42と反対側の端部にそれぞれ設けられた受圧部位を有し、接続固定ユニット50は、ナット30に固定される固定部と、残り部経路の両開口端側に設けられて受圧部位をそれぞれ押さえる制圧部と、を有する。
【選択図】図1
特許請求の範囲
【請求項1】
外周面に螺旋状のねじ軸側軌道溝が形成されたねじ軸と、
内周面に前記ねじ軸側軌道溝に対向する螺旋状のナット側軌道溝が形成されると共に、外周面と前記ナット側軌道溝とを連通する少なくとも一対の貫通穴が設けられたナットと、
前記ねじ軸側軌道溝と前記ナット側軌道溝とで構成されるボール転動路を転動する複数のボールと、
前記一対の貫通穴に取り付けられて、前記ボール転動路を転動する前記ボールを循環させるボール循環路を形成する循環モジュールと、を備えたボールねじであって、
前記循環モジュールは、
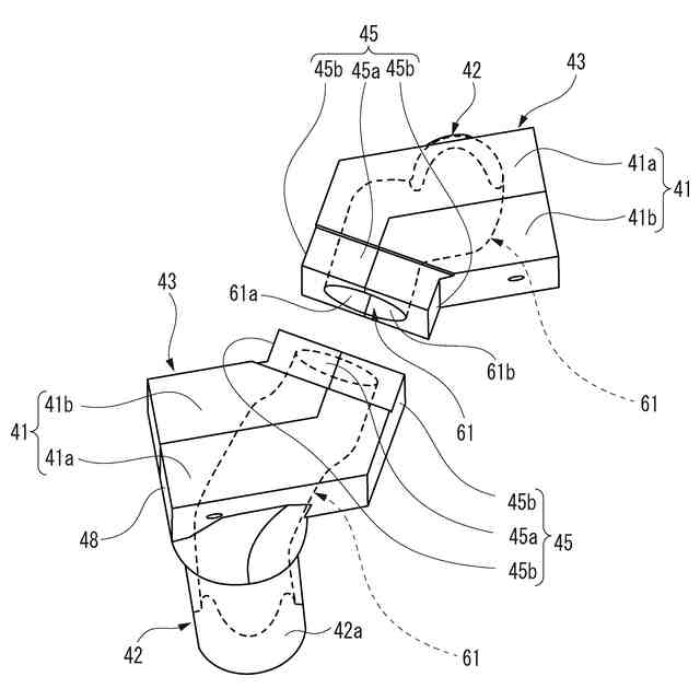
前記貫通穴に嵌入される円筒状のナット挿入部と前記ボールの移動方向を転換する方向転換部とが連続して設けられ、前記ボール循環路の一部経路を構成する一対の循環ユニットと、
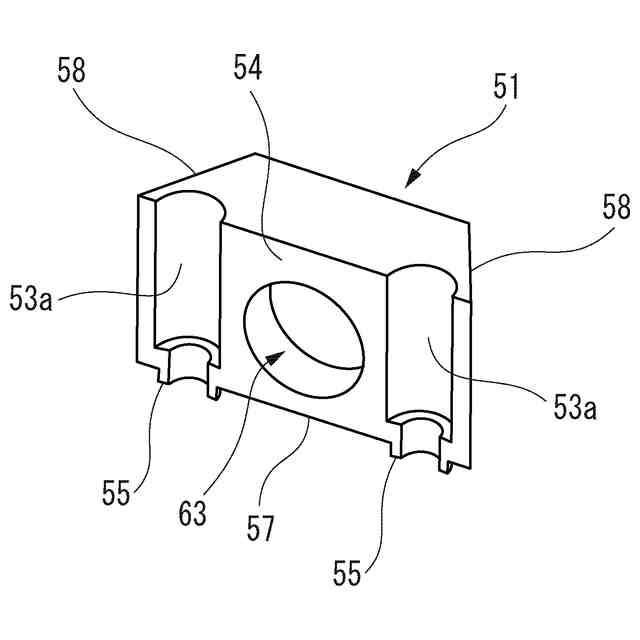
前記一対の循環ユニットの間に配置され、前記一対の循環ユニットにおける前記ボール循環路の一部経路にそれぞれ連通する前記ボール循環路の残り部経路を構成する接続固定ユニットと、を有しており、
前記一対の循環ユニットは、前記方向転換部における前記ナット挿入部と反対側の端部にそれぞれ設けられた受圧部位を有し、
前記接続固定ユニットは、前記ナットに固定される固定部と、前記残り部経路の両開口端側に設けられて前記受圧部位をそれぞれ押さえる制圧部と、を有する、
ことを特徴とするボールねじ。
続きを表示(約 710 文字)
【請求項2】
前記接続固定ユニットは、アンダーカット形状を有しない一対の成形部品で構成されている、
ことを特徴とする請求項1に記載のボールねじ。
【請求項3】
前記ナットのねじ孔に螺合するねじのねじ部を貫通させるため前記ねじ孔に向けて前記固定部に設けられる段付き穴は、前記一対の成形部品の合わせ面に区画形成され、
前記ねじ孔に対向する前記段付き穴の開口縁には、前記ねじ孔の開口縁に形成された凹部に嵌合する分裂防止用突起が設けられる、
ことを特徴とする請求項2に記載のボールねじ。
【請求項4】
前記一対の循環ユニットは、それぞれ前記ボール循環路の経路に沿って二分割した一対の成形部品で構成されている、
ことを特徴とする請求項1に記載のボールねじ。
【請求項5】
前記受圧部位の受圧面が、前記方向転換部の外周面より低い段差面とされ、
前記制圧部の制圧面が、前記受圧面を押さえる、
ことを特徴とする請求項4に記載のボールねじ。
【請求項6】
前記循環モジュールは、前記方向転換部と前記接続固定ユニットとが、それぞれ多面体に構成されて互いに面接触した状態で組み合わされる、
ことを特徴とする請求項1~5のいずれか1項に記載のボールねじ。
【請求項7】
前記ナットの外周面には、前記ナットの軸線に平行な取り付け面が形成され、
前記方向転換部と前記接続固定ユニットとが、前記取り付け面に面接触した状態で固定される、
ことを特徴とする請求項6に記載のボールねじ。
発明の詳細な説明
【技術分野】
【0001】
本発明は、外循環式のボールねじに関する。
続きを表示(約 1,900 文字)
【背景技術】
【0002】
工作機械などで用いられるボール循環式のボールねじは、ねじ軸の軌道溝とナットの軌道溝とで構成される螺旋状のボール転動路(負荷軌道)に配置されたボールをボール転動路から掬い上げ、ボール転動路の一端から他端までボールを戻してやる必要がある。
ボールの循環方式としては、チューブ式、こま式(デフレクタ式とも云う)、エンドキャップ式、およびエンドデフレクタ式が知られている。
【0003】
このうち、ボールをナットの外部で循環させる外循環式のボールねじは、ボール転動路を転動するボールを掬い上げて循環させるためのボール循環路を有する循環部品(循環モジュール)を備えている。
【0004】
例えば、特許文献1に開示された外循環式ボールねじは、ねじ軸、ナット、還流部材(循環モジュール)および固定モジュールを備えている。
ナットは、ねじ軸に装着され、格納溝および二つの還流孔を有する。還流部材は、二つの還流管における第二接続部が相互に接続され、両端の第一接続部がナットの還流孔内に別々に差し込まれる。組み付けられたねじ軸、ナットおよび還流部材は、ボールの転動を持続させる循環経路を構成している。
【0005】
固定モジュールは、二つの固定ユニットと、二つの固定ユニットの間に位置する接続ユニットとを有する。二つの固定ユニットはそれぞれ第一固定溝を有し、接続ユニットは第二固定溝を有している。第一固定溝と第二固定溝とは還流部材に嵌合し、第一固定溝は還流管の第一接続部および第二接続部を連結するカーブ部に対応している。
【0006】
そして、上記固定モジュールは、ナットの格納溝に嵌まり込むと同時に還流部材に被さり、ナットにねじで固定されることによって、還流部材をナットに固定する。そこで、固定モジュールは、二つの還流管における第二接続部の相互の合わせ面にずれが起きないように還流部材をナットに確実に固定することができる。
【先行技術文献】
【特許文献】
【0007】
実用新案登録第3232612号公報
【発明の概要】
【発明が解決しようとする課題】
【0008】
しかしながら、上記特許文献1の外循環式ボールねじでは、還流部材を構成している二つの還流管の合わせ面にずれが起きないように還流管の外周面を固定するため、二つの固定ユニットと接続ユニットとからなる固定モジュールを使ってナットにねじ固定しており、固定モジュールは部品点数が多くなると共に大型化し易いという問題がある。
【0009】
本発明は、前述した課題に鑑みてなされたものであり、その目的は、少ない部品点数で循環モジュールをナットに固定することができるコンパクトな外循環式のボールねじを提供することにある。
【課題を解決するための手段】
【0010】
本発明の上記目的は、下記の構成により達成される。
外周面に螺旋状のねじ軸側軌道溝が形成されたねじ軸と、
内周面に前記ねじ軸側軌道溝に対向する螺旋状のナット側軌道溝が形成されると共に、外周面と前記ナット側軌道溝とを連通する少なくとも一対の貫通穴が設けられたナットと、
前記ねじ軸側軌道溝と前記ナット側軌道溝とで構成されるボール転動路を転動する複数のボールと、
前記一対の貫通穴に取り付けられて、前記ボール転動路を転動する前記ボールを循環させるボール循環路を形成する循環モジュールと、を備えたボールねじであって、
前記循環モジュールは、
前記貫通穴に嵌入される円筒状のナット挿入部と前記ボールの移動方向を転換する方向転換部とが連続して設けられ、前記ボール循環路の一部経路を構成する一対の循環ユニットと、
前記一対の循環ユニットの間に配置され、前記一対の循環ユニットにおける前記ボール循環路の一部経路にそれぞれ連通する前記ボール循環路の残り部経路を構成する接続固定ユニットと、を有しており、
前記一対の循環ユニットは、前記方向転換部における前記ナット挿入部と反対側の端部にそれぞれ設けられた受圧部位を有し、
前記接続固定ユニットは、前記ナットに固定される固定部と、前記残り部経路の両開口端側に設けられて前記受圧部位をそれぞれ押さえる制圧部と、を有する、
ことを特徴とするボールねじ。
【発明の効果】
(【0011】以降は省略されています)
特許ウォッチbot のツイートを見る
この特許をJ-PlatPat(特許庁公式サイト)で参照する
関連特許
日本精工株式会社
搬送装置
10日前
日本精工株式会社
ボールねじ
3日前
日本精工株式会社
ボールねじ
19日前
日本精工株式会社
リニアガイド
12日前
日本精工株式会社
ボールねじ装置
18日前
日本精工株式会社
密封型転がり軸受
1か月前
日本精工株式会社
ハブユニット軸受
3日前
日本精工株式会社
環境配慮型機械部品
1か月前
日本精工株式会社
直動案内装置の仮軸
3日前
日本精工株式会社
飛行体用回転支持装置
3日前
日本精工株式会社
飛行体用回転支持装置
3日前
日本精工株式会社
回転センサ一体型軸受
18日前
日本精工株式会社
センサ付き転がり軸受装置
10日前
日本精工株式会社
ねじ機構及びねじ機構の製造方法
3日前
日本精工株式会社
モータビルトイン方式の主軸装置
10日前
日本精工株式会社
転動体の疲労き裂進展速度の測定方法
10日前
日本精工株式会社
深溝玉軸受用保持器、及びその製造方法
1か月前
日本精工株式会社
歯車伝達機構および直動アクチュエータ
18日前
日本精工株式会社
円すいころ軸受用保持器及び円すいころ軸受
10日前
日本精工株式会社
光学式エンコーダユニット及び光学式エンコーダ
1か月前
日本精工株式会社
光学式エンコーダユニット及び光学式エンコーダ
1か月前
日本精工株式会社
引張強度予測方法及びダイカスト熱処理材の製造方法
3日前
日本精工株式会社
圧電アクチュエータおよびマニピュレーションシステム
18日前
日本精工株式会社
ホイールナット緩み検出システム及び該検出システムを備えるハブユニット軸受
10日前
日本精工株式会社
軸受診断装置及び軸受診断方法
1か月前
日本精工株式会社
サーボプレス機構、プレス加工方法、軸受の製造方法、機械装置の製造方法、及び車両の製造方法
5日前
日本精工株式会社
軸受要素の製造方法、筒状部材の製造方法、軸受要素、軸受、機械装置の製造方法、車両の製造方法、機械装置、および車両
12日前
個人
留め具
1か月前
個人
鍋虫ねじ
3か月前
個人
回転伝達機構
4か月前
個人
紛体用仕切弁
3か月前
個人
差動歯車用歯形
5か月前
個人
ジョイント
2か月前
個人
給排気装置
2か月前
個人
地震の揺れ回避装置
4か月前
株式会社不二工機
電磁弁
5か月前
続きを見る
他の特許を見る