TOP
|
特許
|
意匠
|
商標
特許ウォッチ
Twitter
他の特許を見る
公開番号
2025177454
公報種別
公開特許公報(A)
公開日
2025-12-05
出願番号
2024084307
出願日
2024-05-23
発明の名称
飛行体用回転支持装置
出願人
日本精工株式会社
代理人
弁理士法人貴和特許事務所
主分類
H02K
5/173 20060101AFI20251128BHJP(電力の発電,変換,配電)
要約
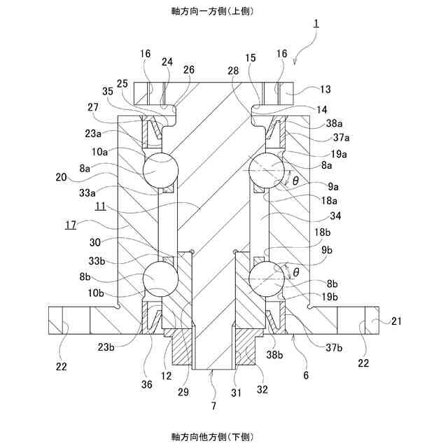
【課題】回転フランジの根元部の表面に応力集中が発生しにくく、かつ、両列の軸受負荷容量を確保しやすい飛行体用回転支持装置を提供する。
【解決手段】回転側支持部材11は、静止体6よりも軸方向一方側に位置する部分から径方向外側に突出し、モータロータおよびプロペラが結合される回転フランジ13と、外周面のうち回転フランジ13の軸方向他方側に隣接する部分に備えられた環状溝14とを有し、かつ、回転フランジ13の軸方向他方側の側面の径方向内側の端部に備えられた、径方向内側に向かうにしたがって軸方向他方側に向かう方向に延びる傾斜部15と、前記回転フランジのうち傾斜部15よりも径方向外側の円周方向複数箇所を軸方向に貫通する取付孔16を有する。
【選択図】図2
特許請求の範囲
【請求項1】
内周面に複列の外輪軌道を有し、モータステータを支持可能な静止体と、
外周面に複列の内輪軌道を有し、モータロータおよびプロペラを支持可能な回転体と、
前記複列の外輪軌道と前記複列の内輪軌道との間に、それぞれの列ごとに複数個ずつ配置された転動体と、を備え、
前記回転体は、外周面に前記複列の内輪軌道のうちの軸方向一方側の内輪軌道が直接形成された回転側支持部材と、外周面に前記複列の内輪軌道のうちの軸方向他方側の内輪軌道が直接形成され、かつ、前記回転側支持部材に外嵌される内輪とを含み、
前記回転側支持部材は、前記静止体よりも軸方向一方側に位置する部分から径方向外側に突出し、前記モータロータおよび前記プロペラが結合される回転フランジと、外周面のうち前記回転フランジの軸方向他方側に隣接する部分に備えられた環状溝とを有し、かつ、前記回転フランジの軸方向他方側の側面の径方向内側の端部に備えられた、径方向内側に向かうにしたがって軸方向他方側に向かう方向に延びる傾斜部と、前記回転フランジのうち前記傾斜部よりも径方向外側の円周方向複数箇所を軸方向に貫通する取付孔を有する、
飛行体用回転支持装置。
続きを表示(約 390 文字)
【請求項2】
前記静止体の内周面と前記回転体の外周面との間に存在する転動体設置空間の軸方向一方側の開口部を塞ぐ一方側シールを備え、
前記回転側支持部材は、外周面のうち、前記環状溝よりも軸方向他方側に位置する部分に、前記一方側シールが径方向外側に隣接して配置されるシール用周面を有する、
請求項1に記載の飛行体用回転支持装置。
【請求項3】
前記シール用周面の外径が、前記回転体の中心軸を中心とし、かつ、前記取付孔の径方向内側の端部に接する仮想円の直径以上の大きさである、
請求項2に記載の飛行体用回転支持装置。
【請求項4】
前記静止体は、外周面に、前記モータステータが外嵌される静止嵌合部を有し、
前記回転フランジの外径が、前記静止嵌合部の外径よりも小さい、
請求項1に記載の飛行体用回転支持装置。
発明の詳細な説明
【技術分野】
【0001】
本開示は、飛行体のプロペラおよび駆動用モータを支持するための飛行体用回転支持装置に関する。
続きを表示(約 960 文字)
【背景技術】
【0002】
ドローンなどの飛行体は、機体フレームと、上向きの揚力を得るためのプロペラと、機体フレームに対してプロペラを回転可能に支持し、かつ、該プロペラを回転駆動するための飛行体用回転駆動装置とを備える。
【0003】
特開2020-072530号公報などに記載されているように、従来構造の飛行体用回転駆動装置は、静止体、回転体、および軸受を含んで構成される飛行体用回転支持装置と、モータステータおよびモータロータを含んで構成される駆動用モータとを備える。
【0004】
前記静止体は、内周面を有し、飛行体の機体フレームに支持固定される。
【0005】
前記回転体は、外周面を有し、前記静止体に対し、前記軸受を介して、上下方向を向いた中心軸を中心とする回転を自在に支持される。
【0006】
前記軸受は、前記静止体の内周面と前記回転体の外周面との間に、軸方向に離隔して配置された1対の単列玉軸受により構成される。
【0007】
前記モータステータは、磁性材製のコアおよび該コアに巻き付けたコイルを含み、かつ、外周面の円周方向等間隔複数箇所に磁極を有する。該モータステータは、前記静止体に支持固定される。
【0008】
前記モータロータは、前記モータステータの外周面と径方向に対向する部分に複数の磁石を有し、前記回転体の軸方向一方側(上側)の端部に支持固定される。なお、駆動用モータの高出力化の観点から、モータステータとモータロータとの間の径方向のギャップは、極力小さいことが好ましい。
【0009】
飛行体のプロペラは、その回転中心軸が前記回転体の中心軸に一致するように、前記回転体の軸方向一方側の端部のうち前記モータロータよりも軸方向一方側に位置する部分に支持固定される。
【0010】
この状態で、前記モータステータの前記コイルに通電がなされると、該モータステータに対して前記モータロータを回転させる電磁力が発生して、前記プロペラが該モータロータとともに回転駆動される。
【先行技術文献】
【特許文献】
(【0011】以降は省略されています)
この特許をJ-PlatPat(特許庁公式サイト)で参照する
関連特許
日本精工株式会社
搬送装置
10日前
日本精工株式会社
ボールねじ
19日前
日本精工株式会社
ボールねじ
3日前
日本精工株式会社
ボールねじ
2か月前
日本精工株式会社
温度検出装置
1か月前
日本精工株式会社
遊星歯車装置
3か月前
日本精工株式会社
リニアガイド
3か月前
日本精工株式会社
リニアガイド
12日前
日本精工株式会社
ボールねじ装置
1か月前
日本精工株式会社
転がり案内装置
2か月前
日本精工株式会社
アクチュエータ
1か月前
日本精工株式会社
円すいころ軸受
1か月前
日本精工株式会社
ボールねじ装置
18日前
日本精工株式会社
密封型転がり軸受
1か月前
日本精工株式会社
密封型転がり軸受
1か月前
日本精工株式会社
密封型転がり軸受
1か月前
日本精工株式会社
密封型転がり軸受
1か月前
日本精工株式会社
密封型転がり軸受
1か月前
日本精工株式会社
密封型転がり軸受
1か月前
日本精工株式会社
密封型転がり軸受
1か月前
日本精工株式会社
密封型転がり軸受
1か月前
日本精工株式会社
ハブユニット軸受
3か月前
日本精工株式会社
突入電流抑止回路
3か月前
日本精工株式会社
ハブユニット軸受
3日前
日本精工株式会社
アンギュラ玉軸受
3か月前
日本精工株式会社
磁歪式トルクセンサ
2か月前
日本精工株式会社
磁歪式トルクセンサ
2か月前
日本精工株式会社
逆入力遮断クラッチ
3か月前
日本精工株式会社
モータ制御システム
2か月前
日本精工株式会社
逆入力遮断クラッチ
3か月前
日本精工株式会社
逆入力遮断クラッチ
1か月前
日本精工株式会社
環境配慮型機械部品
1か月前
日本精工株式会社
直動案内装置の仮軸
3日前
日本精工株式会社
回転センサ一体型軸受
18日前
日本精工株式会社
飛行体用回転支持装置
3日前
日本精工株式会社
飛行体用回転支持装置
3日前
続きを見る
他の特許を見る