TOP
|
特許
|
意匠
|
商標
特許ウォッチ
Twitter
他の特許を見る
10個以上の画像は省略されています。
公開番号
2025158664
公報種別
公開特許公報(A)
公開日
2025-10-17
出願番号
2024061426
出願日
2024-04-05
発明の名称
ラジアルころ軸受用保持器
出願人
日本精工株式会社
代理人
弁理士法人栄光事務所
主分類
F16C
33/46 20060101AFI20251009BHJP(機械要素または単位;機械または装置の効果的機能を生じ維持するための一般的手段)
要約
【課題】簡単な構造により、安価且つ確実にころの脱落を防止することができるラジアルころ軸受用保持器を提供する。
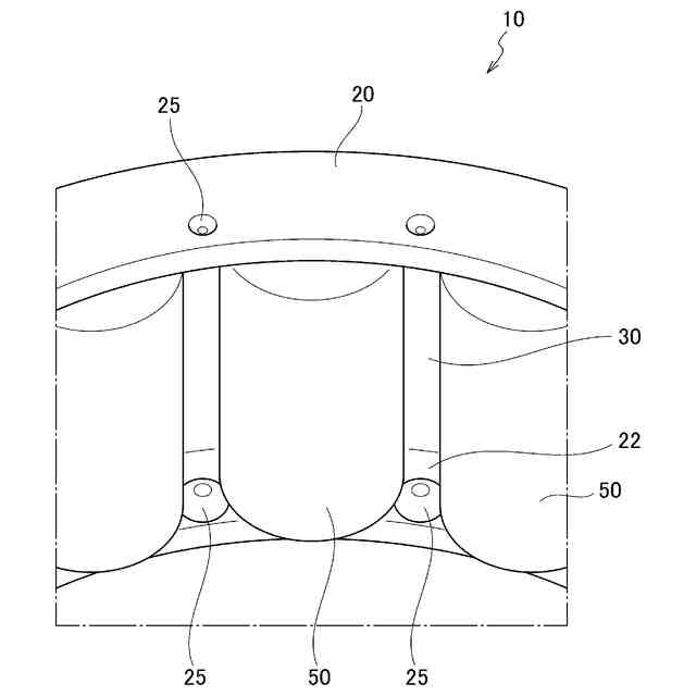
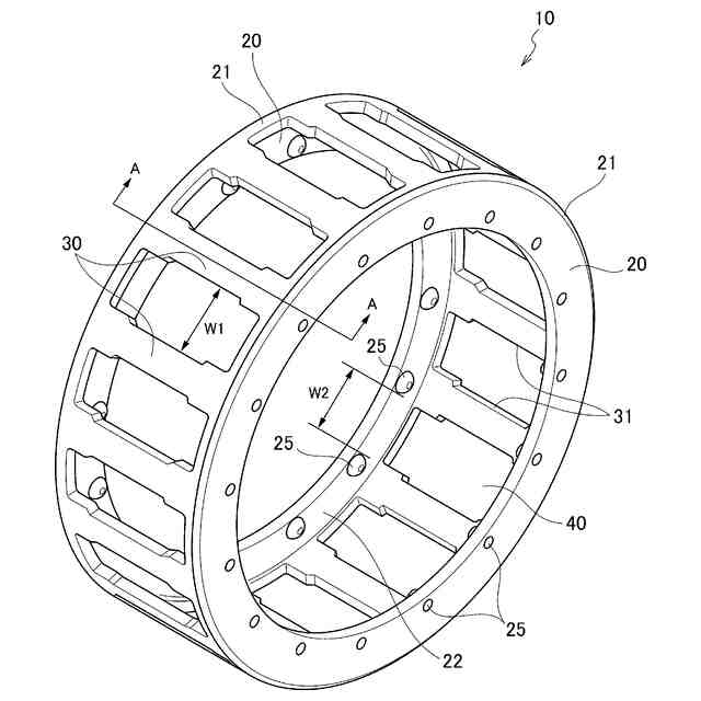
【解決手段】軸方向に離間して同軸に配置される円環状の一対のリム部20と、周方向に離間し一対のリム部20の外径部21同士を軸方向に連結する複数の柱部30と、一対のリム部20と、周方向に隣接する一対の柱部30と、の間に形成され、ころ50を回転自在に収容する複数のポケット部40と、を有し、一対のリム部20のうち少なくとも一方の内径部には、柱部30と径方向で対向する位置に、ポケット部40に収容されたころ50の脱落を防止するエンボス部(ころ脱落防止部)25がリム部20と一体的に形成される。
【選択図】図1
特許請求の範囲
【請求項1】
軸方向に離間して同軸に配置される円環状の一対のリム部と、
周方向に離間し前記一対のリム部の外径部同士を軸方向に連結する複数の柱部と、
前記一対のリム部と、周方向に隣接する一対の前記柱部と、の間に形成され、ころを回転自在に収容する複数のポケット部と、
を備えるラジアルころ軸受用保持器であって、
前記一対のリム部のうち少なくとも一方の内径部には、前記柱部と径方向で対向する位置に、前記ポケット部に収容された前記ころの脱落を防止するころ脱落防止部が前記リム部と一体的に形成される
ラジアルころ軸受用保持器。
続きを表示(約 280 文字)
【請求項2】
ころ脱落防止部は、前記一対のリム部の内側面から軸方向内側に突出して形成された突起部である
請求項1に記載のラジアルころ軸受用保持器。
【請求項3】
前記突起部は、エンボス部、折り曲げ部、又は加締め部のいずれか1つである、
請求項2に記載のラジアルころ軸受用保持器。
【請求項4】
前記突起部の軸方向突出量は、内径側から外径側への前記ころの通過を許し、通過した後は前記ころの外径側から内径側への落下を防止できる突出量とされている、
請求項2又は3に記載のラジアルころ軸受用保持器。
発明の詳細な説明
【技術分野】
【0001】
本発明は、ラジアルころ軸受用保持器に関する。
続きを表示(約 1,700 文字)
【背景技術】
【0002】
従来より、ラジアルころ軸受に用いられる保持器として、多数のころをポケットから脱落しないように保持可能とした工夫が施された各種の保持器が提案されている。
【0003】
特許文献1には、ポケット部を有し、両端部から半径方向内方に突出する一対の円盤状のリブを備える本体と、ころを弦方向に挟んで摺接可能な複数の爪部を備え、各リブの内周端に連結される一対の保持リングと、を備える、ころ軸受用保持器が開示されている。特許文献1では、リブに対して保持リングを確実、かつ、容易に取り付けることができると共に、位置ずれが生じ難いころ軸受用保持器を提供することを目的としている。
【0004】
また、特許文献2には、軸方向に対向する一対の環状部材と、環状部材の内径側に柱部と対応する位置に設けられ、取り付け孔を有する複数の突出部と、取り付け孔に装着されたピン部材と、を備え、針状ころの脱落を防止するようにした保持器付き針状ころが開示されている。
【先行技術文献】
【特許文献】
【0005】
特開2001-99162号公報
特開2019-65882号公報
【発明の概要】
【発明が解決しようとする課題】
【0006】
しかしながら、特許文献1及び2に記載の保持器は、いずれも保持器本体と別に、ころの脱落を防止するための別部品が必要であり、別部品の製作費や組付け工数が掛かると共に、重量が増加し、またメンテナンス時などに分解し難い課題がある。したがって、簡単な構造で、ころの脱落を確実に防止可能な保持器が望まれていた。
【0007】
本発明は、上述した課題に鑑みてなされたものであり、その目的は、簡単な構造により、安価且つ確実にころの脱落を防止することができるラジアルころ軸受用保持器を提供することである。
【課題を解決するための手段】
【0008】
したがって、本発明の上記目的は、ラジアルころ軸受用保持器に係る下記[1]の構成により達成される。
[1] 軸方向に離間して同軸に配置される円環状の一対のリム部と、
周方向に離間し前記一対のリム部の外径部同士を軸方向に連結する複数の柱部と、
前記一対のリム部と、周方向に隣接する一対の前記柱部と、の間に形成され、ころを回転自在に収容する複数のポケット部と、
を備えるラジアルころ軸受用保持器であって、
前記一対のリム部のうち少なくとも一方の内径部には、前記柱部と径方向で対向する位置に、前記ポケット部に収容された前記ころの脱落を防止するころ脱落防止部が前記リム部と一体的に形成される
ラジアルころ軸受用保持器。
【発明の効果】
【0009】
本発明のラジアルころ軸受用保持器によれば、簡単な構造により、安価且つ確実にころの脱落を防止することができる。
【図面の簡単な説明】
【0010】
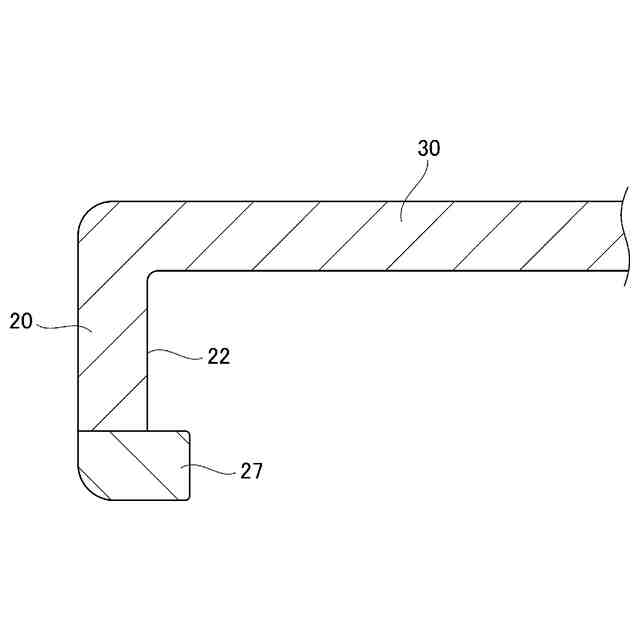
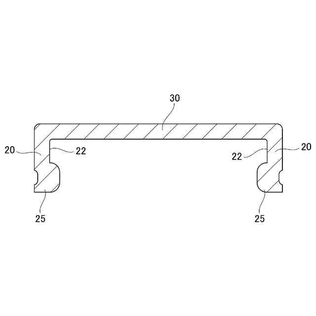
図1は、本発明の第1実施形態に係るラジアルころ軸受用保持器の斜視図である。
図2は、図1のA-A断面図である。
図3は、図1に示すラジアルころ軸受用保持器によって保持されたころの状態を示す斜視図である。
図4は、図3の柱部、脱落防止部、及びころの位置関係を示す断面図である。
図5は、本発明の第2実施形態に係るラジアルころ軸受用保持器の斜視図である。
図6は、図5のB-B断面図である。
図7は、図5に示すラジアルころ軸受用保持器により保持されたころの状態を示す斜視図である。
図8は、本発明の第3実施形態に係るラジアルころ軸受用保持器の斜視図である。
図9は、図8のC-C断面図である。
図10は、本発明の第4実施形態に係るラジアルころ軸受用保持器の斜視図である。
図11は、図10のラジアルころ軸受用保持器を内径側から見た斜視図である。
図12は、図10のD-D断面図である。
【発明を実施するための形態】
(【0011】以降は省略されています)
この特許をJ-PlatPat(特許庁公式サイト)で参照する
関連特許
日本精工株式会社
ボールねじ
今日
日本精工株式会社
温度検出装置
22日前
日本精工株式会社
ボールねじ装置
1か月前
日本精工株式会社
円すいころ軸受
1か月前
日本精工株式会社
アクチュエータ
28日前
日本精工株式会社
密封型転がり軸受
1か月前
日本精工株式会社
密封型転がり軸受
1か月前
日本精工株式会社
密封型転がり軸受
1か月前
日本精工株式会社
密封型転がり軸受
1か月前
日本精工株式会社
密封型転がり軸受
21日前
日本精工株式会社
密封型転がり軸受
1か月前
日本精工株式会社
密封型転がり軸受
1か月前
日本精工株式会社
密封型転がり軸受
1か月前
日本精工株式会社
逆入力遮断クラッチ
27日前
日本精工株式会社
環境配慮型機械部品
12日前
日本精工株式会社
ラジアルころ軸受用保持器
1か月前
日本精工株式会社
ハブユニット軸受の製造方法
22日前
日本精工株式会社
片持ち回転ローラ配置型円形車輪
1か月前
日本精工株式会社
ハブユニット軸受及びその製造方法
1か月前
日本精工株式会社
深溝玉軸受用保持器、及びその製造方法
13日前
日本精工株式会社
光学式エンコーダユニット及び光学式エンコーダ
12日前
日本精工株式会社
光学式エンコーダユニット及び光学式エンコーダ
12日前
日本精工株式会社
潤滑剤供給体及び潤滑剤供給体を配設した転動装置
1か月前
日本精工株式会社
データ読み取りシステムおよび設備保全管理システム
22日前
日本精工株式会社
圧電アクチュエータおよびマニピュレーションシステム
1か月前
日本精工株式会社
磁歪式トルクセンサの組立方法および磁歪式トルクセンサ
1か月前
日本精工株式会社
トルクセンサの補正値取得方法および回転軸のトルク測定方法
1か月前
日本精工株式会社
ボールねじの偏荷重検出装置、偏荷重検出方法、およびプログラム
1か月前
日本精工株式会社
軸受診断装置及び軸受診断方法
12日前
個人
留め具
1か月前
個人
鍋虫ねじ
2か月前
個人
回転伝達機構
3か月前
個人
紛体用仕切弁
2か月前
個人
差動歯車用歯形
4か月前
個人
ジョイント
2か月前
個人
給排気装置
1か月前
続きを見る
他の特許を見る